Contents
LIEBHERR fnd4655 Prime NoFrost Upright Freezer

Product Information
The product is a refrigerator manufactured by Liebherr. It is designed with a focus on quality, design, and innovation. For more detailed information and manuals, you can visit the website home.liebherr.com/fridge-manuals.
Product Usage Instructions
General Safety Instructions:
- Keep the assembly manual in a safe place for future reference.
- If you pass on the appliance to someone else, provide them with the assembly manual.
- Read the assembly manual before installation and use to ensure safe and correct usage.
- Follow all instructions, safety instructions, and warning messages provided to operate and install the appliance safely.
- Refer to the General safety instructions section of the operating instructions for additional safety guidelines. Operating instructions can be downloaded from home.liebherr.com/fridge-manuals using the service number.
Setup Conditions:
- Space: Ensure sufficient space for installation.
- Fitting the appliance into the kitchen unit: Follow the instructions provided for fitting the appliance into the kitchen unit.
- Setting up multiple appliances: Follow the instructions for setting up multiple appliances, if applicable.
- Electrical connection: Follow the electrical connection guidelines provided.
Installation Dimensions:
Refer to the provided installation dimensions for proper installation.
Ventilation Requirements:
Ensure proper ventilation for the appliance as per the provided guidelines.
Transporting the Appliance:
Follow the instructions for safely transporting the appliance.
Unpacking the Appliance:
Follow the instructions for unpacking the appliance.
Mounting Wall Spacers:
Refer to the instructions for mounting wall spacers, if required.
Setting up the Device:
Follow the instructions for setting up the device.
Setting up the Appliance Level:
Follow the instructions for setting up the appliance level.
After Setup:
Refer to the provided guidelines for any necessary steps after completing the setup.
Disposal of Packaging:
Follow the instructions for proper disposal of packaging materials.
Explanatory Symbols Used:
Refer to the provided explanations for symbols used throughout the manual.
Water Connection:
For water connection instructions, refer to section 14 of the manual.
Connect the Water Supply:
For instructions on connecting the water supply, refer to section 15 of the manual.
Connecting the Appliance:
Follow the instructions for connecting the appliance as outlined in section 16 of the manual.
Note: The manufacturer may make changes to the shape, equipment, and technology of the product to improve its performance and features.
You can find detailed instructions on the internet by scanning the QR code on the front of these instructions or by entering the service number at home.liebherr.com/fridgemanuals.
The manufacturer is constantly working to improve all types and models. Therefore, please be aware that we reserve the right to make changes to the shape, equipment and technology.
| Symbol | Explanation |
![]() |
Read instructions Please read the information in these instructions carefully to understand all of the benefits of your new appliance. |
![]() |
Full instructions on the internet You can find detailed instructions on the internet using the QR code on the front of these instruction or by entering the service number at home.liebherr.com/fridge-manuals. The service number can be found on the serial tag: Fig. Example illustration |
![]() |
Check appliance Check all parts for transport damage. If you have any complaints, please contact your agent or customer service. |
![]() |
Differences These instructions apply to a range of models, so there may be differences. Sections that apply to certain models only are indicated by an asterisk (*). |
![]() |
Instructions and results Instructions are marked with a . Results are marked with a . |
![]() |
Videos Videos about the appliances are available on the YouTube channel of Liebherr-Hausgeräte. |
General safety instructions
- Please keep this assembly manual in a safe place so you can refer back to it at any time.
- If you pass the appliance on, please hand this assembly manual to the new owner.
- Read this assembly manual before installation and use in order to use the appliance safely and correctly. Follow the instructions, safety instructions and warning messages included at all times. They are important for ensuring you can operate and install the appliance safely and without any problems.
- First read the general safety instructions in the “General safety instructions” section of the operating instructions, which accompany these installation instructions, and follow them. If you cannot find the operating instructions, you can download the operating instructions from the internet by entering the service number at home.liebherr.com/fridge-manuals. The service number can be found on the serial tag:

- Observe the warning messages and other detailed information in the other sections when installing the appliance:

DANGER indicates a hazardous situation, which if not avoided, will result in death or serious injury. 
WARNING indicates a hazardous situation, which if not avoided, could result in death or serious injury. 
CAUTION indicates a hazardous situation, which if not avoided, will result in minor or moderate injury. 
NOTICE indicates a hazardous situation, which if not avoided, could result in damage to property. 
Note indicates useful advice and tips.
Setup conditions
WARNING
Risk of fire due to moisture!
If live parts or the power cord get wet, this can cause a short circuit.
- The appliance is designed for use in enclosed spaces. Do not operate the appliance in open space or in damp areas or where there is spray.
Normal use
- Only set up and use the appliance in enclosed spaces.
Space
WARNING
Leaking refrigerant and oil! Fire. The refrigerant contained within the appliance is environmentally friendly, but flammable. The oil contained within the appliance is flammable. Escaping refrigerant and oil can ignite if they are of high enough concentration and are exposed to an external heat source.
- Do not damage the pipelines of the coolant circuit and the compressor.
- The optimal installation site is a dry and well ventilated room.
- If the appliance is installed in a very damp environment condensate water may form on the outside of the appliance.
Always make sure the installation area is well ventilated. . - The more refrigerant is in the appliance, the larger the room must be where the appliance is located. In the case of a leak, a flammable gas-air mixture may be created in a room that is too small. For every 8 g of refrigerant, the installation space must be at least 1 m3. Specifications regarding the refrigerant contained within the appliance can be found on the rating plate inside the appliance.
Installation surface
- The floor of the installation site must be horizontal and level.
- The height of the appliance base must be the same as the surrounding floor.
Installation position
- Do not install the appliance in direct sunlight or next to an oven, heater, or similar heat source.
- Always stand the appliance backed directly to the wall using the enclosed wall spacers (see below).
Fitting the appliance into the kitchen unit
The appliance can be built into kitchen cabinets.

- Top cupboard*
- Appliance*
- Kitchen cabinet*
- Wall*
- (A) Appliance depth*
- (B) Door depth*
- (C) Ventilation cross-section*
- (D) Distance to the rear of the appliance*
- (E) Distance to the side of the appliance*

- Top cabinet*
- Appliance*
- Kitchen cabinet*
- Wall*
- (A) Appliance depth*
- (B) Door depth*
- (C) Ventilation cross-section*
- (D) Distance to the rear of the appliance*
- (E) Distance to the side of the appliance*
| A* | B* | C* | D* | E* |
| 675 mmx | 65 mm | Min.300 cm2 | Min.50 mm | Min.13 mm |
Appliances without handle / with recessed grip
| A* | B* | C* | D* | E* |
| 675 mmx | 75 mm | Min.300 cm2 | Min.50 mm | Min.57 mm |
Appliances with lever handle
Set up the appliance directly next to the kitchen cabinet Fig. 1 (3).*
There must be a ventilation shaft at the depth Fig. 1 (D) of the back of the top cupboard over the entire width of the top cupboard.*
The cross section of the ventilation gap Fig. 1 (C) must be maintained below the ceiling.*
If the appliance is installed with the hinges next to a wall Fig. 1 (4), the distance between the appliance and the wall must be at least 13 mm.*
If the appliance is installed with the hinges next to a wall Fig. 1 (4), the distance between the appliance and the wall must be at least 57 mm. This is how far the handle protrudes when the door is open.*
Set up the appliance directly next to the kitchen cabinet Fig. 2 (3).*
There must be a ventilation shaft at the depth Fig. 2 (D) of the back of the top cupboard over the entire width of the top cupboard.*
The cross section of the ventilation gap Fig. 2 (C) must be maintained below the ceiling.*
If the appliance is installed with the hinges next to a wall Fig. 2 (4), the distance between the appliance and the wall must be at least 57 mm. This is how far the handle protrudes when the door is open.*
In order to be able to fully open the door, the appliance must protrude by the depth Fig. 2 (B) of the door from the front of the kitchen cabinet. Regardless of the depth of the kitchen cabinets Fig. 2 (3) and use of wall spaces, the appliance can protrude further.*
Ensure that the following conditions are met:
- Recess dimensions are adhered to .
- Ventilation requirements are complied with (see 4 Ventilation requirements) .
Setting up multiple appliances
NOTICE
Risk of damage caused by water condensate!
- Do not install this device directly beside another fridge/freezer compartment.
These appliances are designed for different types of installation. Only combine appliances if the appliances are designed for this. The following table shows the installation options by model:
| Setup type | Model |
| Single | All models |
| Setup type | Model |
| Side-by-Side (SBS) | Model that start with S…. |
| Side-by-side with a distance of 70 mm between appliances Otherwise condensation will build up between the units. | All models without side wall heating
Fig. 3 |
Assemble appliances according to separate installation instructions.
Electrical connection
WARNING
Improper use!
Fire. If a power cable/plug comes into contact with the back of the appliance, the power cable/plug can be damaged by appliance vibrations and this may result in a short circuit.
- Install the appliance so that it does not touch any plugs or power cables.
- Do not connect any appliances to sockets in the area of the back of the appliance.
- Multi-sockets/power distributors and other electronic appliances (such as halogen transformers) may not be placed and operated at the back of appliances.
Installation dimensions

| h | a | b | b’ | c | c’ | d | d’ | |
| RB/a 42.. | 1255 | 597 | 675x | 719x | 609 | 654 | 1215x | 1222x |
| FN/d 42.. | 1255 | 597 | 675x | 719x | 609 | 654 | 1215x | 1222x |
| FNd/c 46.. | 1455 | 597 | 675x | 719x | 609 | 654 | 1215x | 1222x |
| FN/e/d/c 50.. LTGN-234 |
1655 | 597 | 675x | 719x | 609 | 654 | 1215x | 1222x |
| S/FN/d/c /sdd/std/ bsd/sde 52.. LTGN-270 |
1855 | 597 | 675x | 719x | 609 | 654 | 1215x | 1222x |
| FN/c/d/ 66 .. | 145 | 698 | 760x | 804x | 710 | 754 | 1402x | 1408x |
| FN/c/d/ 70 .. | 165 | 698 | 760x | 804x | 710 | 754 | 1402x | 1408x |
| FN/c/d/ 72 .. | 185 | 698 | 760x | 804x | 710 | 754 | 1402x | 1408x |
x For appliances with supplied wall spacers, the dimensions must be increased by 15 mm .
Ventilation requirements
NOTICE
Risk of damage due to overheating in the case of insufficient ventilation!
In the case of insufficient ventilation, the compressor can be damaged.
- Make sure there is sufficient ventilation.
- Observe the ventilation requirements.
If the appliance is integrated in a fitted kitchen, the following ventilation requirements must be met:
- The spacing fins on the back of the appliance are used to ensure sufficient ventilation. These must not lie in cavi‐ties or recesses in their final installation position.
- Basically, the larger the ventilation gap, the more energy the appliance saves during operation.
Transporting the appliance
- Transport the appliance in its packaging.
- Transport the appliance upright.
- Use two people when transporting the appliance.
Unpacking the appliance
If the appliance is damaged check with the supplier immediately before connecting it.
- Check the appliance and packaging for damage during transport. If you suspect any damage, please contact your supplier immediately.
- Remove all materials that could prevent it from being installed properly or prevent proper ventilation from the back or the side panels of the appliance.
- Remove all protective films from the appliance. Do not use sharp or pointed objects for this.
- Remove the mains cable from the back of the appliance. Also remove the cable holder, otherwise there will be vibration noise!
Mounting wall spacers
The spacers must be used in order to reach the declared energy consumption levels as well as to avoid the formation of condensate water at high levels of ambient humidity. These will extend the depth of the appliance by approx. 15 mm. The appliance is fully functional if the spacers are not used, but it will consume slightly more energy.
- If wall spacers are supplied with an appliance, these wall spaces must be mounted on the left and right of the back of the appliance.

Setting up the device
CAUTION
Risk of personal injury!
Have two people move this appliance into place.
WARNING
Unstable appliance!
Risk of injury and damage. The appliance can tip over.
Secure the appliance according to the operating instructions.
WARNING
Danger of fire and damage!
Do not place devices that give off heat, e.g. microwaves, toasters, etc. on the appliance.
Make sure that the following requirements are fulfilled:
- Only move the appliance when it is not loaded.
- Only set up the appliance when someone is present to help you.
Setting up the appliance level
CAUTION
Risk of injury or damage from the appliance tipping or the door falling open!
If the additional adjustable foot on the base support is not correctly positioned on the floor, there is a risk of the door falling open or the appliance tipping. This can lead to injury or property damage.
- Unscrew the additional adjustable foot on the support until it reaches the floor.
- Then turn it another 90°.
- Align the appliance so that it stands firmly and by applying the accompanying spanner to the adjustable height feet (A) and using a spirit level.
Then prop up the door: Lower the adjustable foot on the bearing bracket (B) until it contacts the floor, then turn it an additional 90°.

Then prop up the door: Screw out the adjustable foot on the bearing bracket (B) using the open-ended wrench SW10 until it comes into contact with the floor, then turn an additional 90°.
After setup
- Pull off the protective film from the outside of the housing.*
- Pull off the protective film from the trim strips.
- Pull off the protective film from the trim strips and drawer fronts.
- Pull off the protective film from the stainless steel rear panel.
- Remove all transport packaging.
- Clean the appliance .
- Make a note of type (model, number), appliance designation, appliance/serial no., date of purchase, and dealer address in the designated fields .
Disposal of packaging
WARNING
Danger of suffocation from packaging materials and films!
Do not allow children to play with packaging materials.
The packaging is made from recyclable materials:
- Corrugated card/cardboard
- Parts made of foamed polystyrene
- Films and bags from polyethylene
- Packing bands from polypropylene
- Wood frame nailed together with a polyethylene window*
- Take the packaging material to an official collection point.
Explanatory symbols used
![]() |
There is the risk of injury when doing this! Obey the safety instructions! |
![]() |
These instructions apply to several models. Only perform this step if it applies to your appliance. |
![]() |
To install, please follow the detailed description in the Guide. |
![]() |
This section applies either to a single-door appliance or a double- door appliance. |
![]() |
Choose one of the options: Appl ance with right-hinged door or appliance with left-hinged door. |
![]() |
Installation step necessary with IceMaker and/or InfinitySpring. |
![]() |
Loosen or tighten screws slightly. |
![]() |
Tighten the screws fully. |
![]() |
Check to see if the next step applies for your model. |
![]() |
Check the components are in correctly. |
![]() |
Measure the specified measurement and adjust if necessary. |
![]() |
Installation tool: Meter stick |
![]() |
Tool for assembly: Cordless screw‐ driver and attachments |
![]() |
Tool for assembly: Spirit level |
![]() |
Tool for assembly: Size 7 and size 10 spanner |
![]() |
Two people are required for this step. |
![]() |
This step takes place at the selected location of the appliance. |
![]() |
Aid for assembly: String |
![]() |
Aid for assembly: Square |
![]() |
Aid for assembly: Screwdriver |
![]() |
Aid for assembly: Scissors |
![]() |
Aid for assembly: Non-permanent marker pen |
![]() |
Accessory kit: Remove components |
![]() |
Dispose of components that are no longer needed. |
Reversing the door Tools

WARNING
Risk of bodily injury due to the door falling off.
If the bearing parts are not installed with the proper torque, the door may fall off. In addition, the door may not close, thus impairing the cooling performance of the appliance.
- Check all screws and retighten if necessary.
These sections apply for appliances with a soft stop mechanism:
- For appliances with a soft stop mechanism
- For all appliances
These sections apply for appliances without a soft stop mechanism:
- For appliances without the a stop mechanism
- For all appliances
NOTICE
Risk of damage to side-by-side appliances caused by condensate!
Certain appliances can be set up as side-by-side combinations (two appliances beside one another).
If your appliance is a side-by-side appliance:
- Install the SBS combination in accordance with the accompanying sheet.
If the configuration of appliances is specified:
- Do not change the door stop.

Fig. 6
Observe the reading direction.
For appliances with soft stop mechanism:

Fig. 7
Open the door.
NOTICE
Risk of damage!
If the door seal is damaged the door may not close properly and the level of cooling is insufficient.
- Do not damage the door seal with the screwdriver!
- Remove the outer cover. Fig. 7 (1)
- Disengage and release the bearing bracket cover. Remove the bearing bracket cover. Fig. 7 (2)
- Unlatch the panel with a slotted screwdriver and swivel it to one side. Fig. 7 (3)

Fig. 8
CAUTION
Crushing hazard from the folding bracket!
- Engage the locking device.
- Engage the locking device in the opening. Fig. 8 (1)
- Unscrew the bolt with a screwdriver. Fig. 8 (2)
- Remove the bolt upwards. Fig. 8 (3)
- Turn the hinge in the direction of the door. Fig. 8 (4)

Fig. 9
- Unlatch the cover with a slotted screwdriver and lift it up. Fig. 9 (1)
- Take out the cover. Fig. 9 (2)

Fig. 10
- Loosen the soft stop unit screw with a T15 screwdriver approx. 14 mm. Fig. 10 (1)
- Insert a screwdriver behind the soft stop mechanism on the handle side and rotate the unit forwards. Fig. 10 (2)
- Pull out the soft stop unit. Fig. 10 (3)
Removing the door
Note
- To prevent food items from falling out, take all food out of the door racks before removing the door.
For appliances without soft stop mechanism:

Fig. 11
Open the door.
NOTICE
Risk of damage!
If the door seal is damaged the door may not close properly and the level of cooling is insufficient.
- Do not damage the door seal with the screwdriver!
- Remove the outer cover. Fig. 11 (1)
- Disengage and release the bearing bracket cover. Remove the bearing bracket cover. Fig. 11 (2)
- Unlatch the panel with a slotted screwdriver and swivel it to one side. Fig. 11 (3)
For all appliances:

CAUTION
Risk of injury if the door tips out!
- Keep a steady grip on the door.
- Set the door down carefully.
- Carefully remove the protective cover. Fig. 12 (1)
- Loosen the bolts slightly with a T15 screwdriver. Fig. 12 (2)
- Hold the door and remove the bolts with your fingers. Fig. 12 (3)
- Pull the bearing bush out of the guide. Insert from the other side and latch into place. Fig. 12 (4)
- Lift the door and place it to one side.
- Carefully lift the plugs out of the door bearing bush with a slotted screwdriver and remove them. Fig. 12 (5)
Moving the upper bearing parts to the other side
For all appliances:

Fig. 13
- Remove both screws with a T20 screwdriver.
- Lift and remove the bearing bracket.

- Take off the cover to the front from above. Fig. 14 (1)
- Rotate the cover 180° and clip onto the other side from the right. Fig. 14 (2)
- Latch the cover into place. Fig. 14 (3)
- Position the upper bearing bracket. Fig. 14 (4)u Insert the screw with a T20 screwdriver and tighten it. Fig. 14 (5)
- Insert the screw with a T20 screwdriver and tighten it. Fig. 14 (6)
Moving the lower bearing parts to the other side
For all appliances:

Fig. 15
- Lift the bearing pin completely upward and remove it. Fig. 15 (1)
- Remove the screws with the T20 screwdriver and take off the bearing bracket. Fig. 15 (2)
For appliances without soft stop mechanism:

Fig. 16-
- Loosen the screw using a T25 screwdriver. Fig. 16 (1)
- Lift the door closing aid and turn it 90° to the right in the hole. Fig. 16 (2)
- Tighten the screw using the T25 screwdriver. Fig. 16 (3)
For all appliances:

Fig. 17
- Take off the cover. Fig. 17 (1)

Fig. 18
- Unscrew the metal plate, move it to the other side and screw it on again. Fig. 18 (1)

Fig. 19
- Place the bearing bracket on the other side and screw it in using the T20 screwdriver. Start with screw 2 at the bottom in the middle. Fig. 19 (2)
- Screw in screws 3 and 4. Fig. 19 (3,4)
- Insert the bearing pin completely. Make sure that the latching lug is pointing to the rear. Fig. 19 (5)

Fig. 20
- Put back the cover on the other side. Fig. 20 (1)
Moving the door bearing parts to the other side
For appliances without soft stop mechanism:

Fig. 21
- Underside of door faces upwards: Turn the door.
- Push the lug downward with a slotted screwdriver. Fig. 21 (1)
- Pull the door latch out of the guide. Fig. 21 (2)
- Push the door latch into the guide on the other side. Fig. 21 (3)
- Upper side of door faces upwards: Turn the door.
Moving the handles to the other side*
For all appliances:

Fig. 22
- Pull off the cover. Fig. 22 (1)
- Remove the screws with the T15 screwdriver. Fig. 22 (2)
- Remove the handle. Fig. 22 (3)
- Carefully lift up the side plugs with a slotted screwdriver and pull them out. Fig. 22 (4)
- Insert the plugs again on the other side. Fig. 22 (5)

Fig. 23
- Position the handle on the opposite side. Fig. 23 (1)
- The screw holes must be exactly above each other.
- Tighten the screws using the T15 screwdriver. Fig. 23 (2)
- Position the covers on the side and push them on. Fig. 23 (3)
- Ensure that they latch into place correctly.
Fitting the door
For all appliances:

Fig. 24
- Place the door on the bottom bearing pins.
- Align the top of the door with opening in the bearing bracket. Fig. 24 (1)
- Insert the bolt and tighten with a T15 screwdriver. Fig. 24 (2)
- Fit the protective cover to protect the door: Insert the protective cover and check that it lies flush on the door. If not, insert the bolt fully. Fig. 24 (3)
- Insert the plugs. Fig. 24 (4)
Aligning the door
For all appliances:
WARNING
Risk of bodily injury due to the door falling off.
If the bearing parts are not installed with the proper torque, the door may fall off. In addition, the door may not close, thus impairing the cooling performance of the appliance.
- Check all screws and retighten if necessary.
- Align the doors flush with the appliance housing using the two slots in the lower bearing bracket, if needed. To do this undo the middle screw in the bottom bearing bracket with the T20 tool supplied. Undo the remaining screws a little with the T20 tool or with a T20 screwdriver and align via the slots.
- Prop up the door: Screw out the adjustable foot on the bearing bracket using the open-ended wrench SW10 until it comes into contact with the floor, then turn an addi‐tional 90°.
Fitting the soft stop mechanism
For appliances with soft stop mechanism:

Fig. 25
- Slide the soft stop mechanism on the bearing bracket side at an angle into the recess as far as it will go. Fig. 25 (1)
- Slide the unit in fully.
- The unit is positioned correctly when the rib on the soft stop unit is in the guide on the housing.
- Tighten the screw using a T15 screwdriver. Fig. 25 (2)

Fig. 26
The door is open 90°.
- Turn the hinge in the bearing bracket. Fig. 26 (1)
- Insert the bolt in the bearing bracket and hinge. Make sure that the latching lug is sitting correctly in the groove. Fig. 26 (2)
- Remove the locking device. Fig. 26 (3)

Fig. 27
- Position the bearing bracket cover and engage it. If necessary push it apart carefully. Fig. 27 (1)
- Place on the panel. Fig. 27 (2)
- Swing in the panel and latch it into place. Fig. 27 (3)
- Slide on the outer cover. Fig. 27 (4)
- Close the upper door. Fig. 27 (5)
Water connection*
WARNING Electricity and water!
Electric shock
- Before connecting to the water hose: Disconnect the appliance from the mains.
- Before connecting to water lines: Shut off the water supply.
- The drinking water connection may only be carried out by a qualified gas and water installer.
WARNING Contaminated water!Poisoning.
- Connect to potable water supply only.

For 600 mm wide appliances:
| a* | b* | c* | M* |
| ~ 1300 mm | ~ 950 mm | ~ 150 mm | Solenoid valve |
The appliance’s water connection and inlet solenoid valve are suitable for a water pressure of up to 1 MPa (10 bar).
Specifications for proper operation (flow rate, ice cube size, noise level):
| Water pressure | |
| bar | MPa |
| 1.5 to 6.2 | 0.15 to 0.62 |
| Water pressure if using the water filter: | |
| bar | MPa |
| 2.8 to 6.2 | 0.28 to 0.62 |
If the pressure exceeds 0.62 MPa (6.2 bar): Activate the pressure reducer first.
Ensure that the following conditions are met:
- Water pressure is maintained.
- Water is supplied to the appliance via a cold water pipe that can withstand the operating pressure and is connected to the drinking water supply. You are using the supplied hose. Old hoses are disposed of.*
- The hose fitting contains a collecting filter with a gasket*
- There is a stopcock between the hose and the household connection to shut off the water supply if necessary.*
- The stopcock is located outside the back of the appliance and is easily accessible so that the appliance can be far back as possible and the valve can be turned on quickly, if necessary. Distance dimensions are adhered to. All equipment and devices used for the water supply comply with the applicable regulations of the country of use.
- The rear of appliance is accessible so that you can connect the appliance to the drinking water supply.
- Do not damage or buckle the hose when setting it up.
Note
Different length hoses are available as accessories.*
Connect the water supply*
Connect the hose to the appliance
The solenoid valve is located at the bottom of the back of the appliance. Its connecting thread is R3/4.

Fig. 29
- Carefully attach the nut Fig. 29 (1) and use both fingers to screw straight onto the thread so it sits firmly.
WARNING Broken auxiliary tool (5)!Cuts.
- Use the tool (5) only at room temperature.
- Tighten the nut Fig. 29 (1) with an auxiliary tool (5) to the maximum torque and until the tool (5) is overtorqued.
Connect the hose to the stopcock
- Screw the nut (7) onto the stopcock (8).
WARNING Broken auxiliary tool (5)!Cuts.
- Use the tool (5) only at room temperature.
- Tighten the nut (7) with an auxiliary tool (5) to the maximum torque and until the tool (5) is overtorqued.
- Hook the tab (6) into the auxiliary tool (5) and attach to the stainless steel hose for storage.
Checking the water system
- Slowly open the mains stopcock (8) of the water supply.
- Check the entire water system for leaks.
- Clean the Ice Maker (see User Guide, Maintenance). Venting the water system
The system should be vented in the following situations:- Initial commissioning
- Changing the Infinity Spring water tank
Make sure that the following requirements are fulfilled - Appliance is fully connected
- Water tank is inserted (see User Guide, Maintenance)
- Water filter is inserted (see User Guide, Maintenance)
- Appliance is on
- Open the appliance door
- Take a glass and press it against the lower part of the Infinity Spring dispenser.
- The top section moves out and air or water is dispensed into the glass.
- Continue the process until a steady flow of water pours into the glass.
- Clean the InfinitySpring (see User Guide, Maintenance).
Connecting the appliance
WARNING Incorrect connection!Risk of fire.
- Do not use an extension cord.
- Do not use a multipoint connector strip.
NOTICE
Incorrect connection!Damage to the electronics.
- Do not connect the appliance to a stand-alone inverter,e. g. solar power systems and petrol generators.
- Do not use an energy saving plug.
Note
Only use the mains cable supplied.
- A longer mains cable can be ordered from Customer Service.

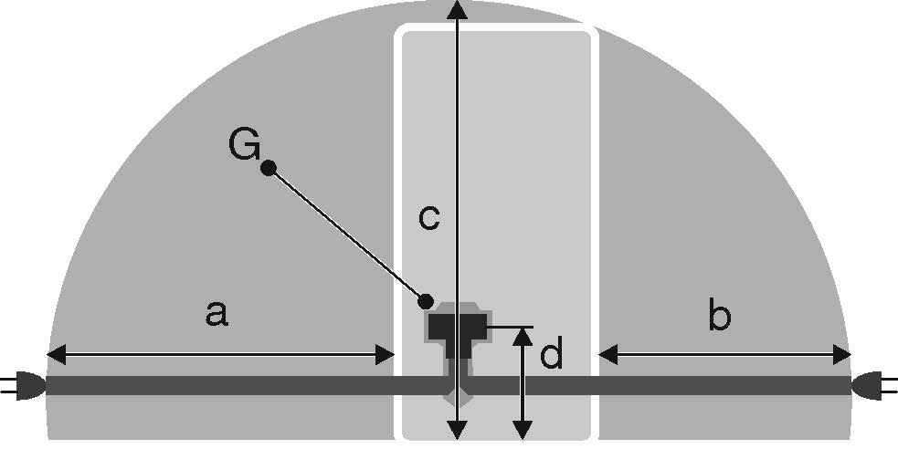
Fig. 30
For 600 mm wide appliances:
| a | b | c | d | G |
| ~ 1800 mm | ~ 1400 mm | ~ 2100 mm | ~ 200 mm | Appliance plug |
Make sure that the following requirements are fulfilled:
- The type of current and voltage at the installation site complies with the information on the serial tag .
- The socket is grounded and fused in accordance with regulations.
- The tripping current for the fuse is between 10 and 16 A.
- The socket is easily accessible.
- The socket is not located behind the appliance but in areas a or b Fig. 30 (a, b, c).
- Check the electrical connection.
- Insert the appliance plug Fig. 30 (G) on the rear side of the appliance. Ensure that they latch into place correctly.
- Connect the mains plug to the power supply.
- The Liebherr logo appears on the screen.
- The display switches to the standby symbol.

home.liebherr.com/fridge-manuals
Issue date: 20221006
Part number index: 7088371-00
Liebherr-Hausgeräte Ochsenhausen GmbH Memminger Straße 77-79
88416 Ochsenhausen
Deutschland


Fig. Example illustration


























