LG 39GS95QE Ultra Gear Oled Owner’s Manual

Home » LG » LG 39GS95QE Ultra Gear Oled Owner’s Manual

LG 39GS95QE Ultra Gear Oled - logoLG 39GS95QE Ultra Gear Oled(OLED Monitor)
Owner’s Manual
39GS95QE 34GS95QE
www.lg.com
Copyright 2024 LG Electronics Inc. All Rights Reserved.

Please read this manual carefully before operating your set and retain it for future reference.

ASSEMBLING AND PREPARING

CAUTION

  • Always use genuine LG components to ensure safety and product performance.
  • The product warranty will not cover damage or injury caused by the use of unauthorised components.
  • It is recommended that use the supplied components.
  • The product figures and screen displays used in this manual are examples to help consumers use the product  and may differ from the actual product.
  • Do not apply foreign substances (oils, lubricants, etc.) to the screw parts when assembling the product. (Doing so may damage the product.)
  • Applying excessive force when tightening screws may cause damage to the monitor. Damage caused in this way will not be covered by the product warranty.
  • Do not carry the monitor upside down by just holding the base. This may cause the monitor to fall off the stand and could result in personal injury.
  • When lifting or moving the monitor, do not touch the monitor screen. The force applied to the monitor screen may cause damage to it.
  • For wave pattern on appearance, unlike the general method of coating, it’s applied to added glittering material in raw material. With no peeled-off appearance, it has good durability. Please use it with confidence because there is no problem in using the product at all.

LG 39GS95QE Ultra Gear Oled - iocn NOTE

  • The components may look different from those illustrated here.  Without prior notice, all product information and specifications contained in this manual are subject to change to improve the performance of the product.
  • To purchase optional accessories, visit an electronics store or an online shopping site, or contact the retailer from which you purchased the product.
  • The power cord provided may differ depending upon the region.

Installing
Moving and Lifting the Monitor
When moving or lifting the monitor, follow these instructions to prevent the monitor from being scratched or damaged and to ensure safe transportation, regardless of its shape or size.

  • Place the monitor in the original box or packing material before attempting to move it.
  • Before moving or lifting the monitor, disconnect the power cord and all other cables.
  • Hold the bottom and side of the monitor frame firmly. Do not hold the panel itself.
  • When holding the monitor, the screen should face away from you to prevent it from being scratched.
  • When transporting the monitor, do not expose the monitor to shock or excessive vibration.
  • When moving the monitor, keep it upright and never turn the monitor on its side or tilt it sideways.

LG 39GS95QE Ultra Gear Oled - monitor CAUTION

  • Avoid touching the monitor screen as much as possible.
    – This may result in damage to the screen or some of the pixels used to create images.
  • If you use the monitor panel without the stand base, its power button may cause the monitor to become unstable and fall, resulting in damage to the monitor or human injury. In addition, this may cause the power button to malfunction.

Installing on a Table

  • Lift the monitor and place it on the table in an upright position. Place the monitor at least 100 mm away from the wall to ensure sufficient ventilation.

LG 39GS95QE Ultra Gear Oled - assembly 1 CAUTION

  • Unplug the power cord before moving or installing the monitor. There is risk of electric shock.
  • Make sure to use the power cord that is provided in the product package and connect it to a grounded power outlet. (Depending on country)

Using the Kensington Lock
For more information on installation and usage, refer to the Kensington lock owner’s manual or visit the website at https://www.kensington.com.
Connect the monitor to a table using the Kensington security system cable.LG 39GS95QE Ultra Gear Oled - assembly 2 LG 39GS95QE Ultra Gear Oled - iocn NOTE

  • The Kensington security system is optional. You can obtain optional accessories from most electronics stores.

Installing on the Wall
This monitor meets the specifications for the wall mount plate or other compatible devices.
Install the monitor at least 100 mm away from the wall and leave about 100 mm of space at each side of the monitor to ensure sufficient ventilation. Detailed installation instructions can be obtained from your local retail store. Alternatively, please refer to the manual for how to install and set up a tilting wall mounting bracket.LG 39GS95QE Ultra Gear Oled - assembly 3Installing the Wall Mount Plate
To install the monitor to a wall, attach a wall mounting bracket (optional) to the back of the monitor.
Make sure that the wall mounting bracket is securely fixed to the monitor and to the wall.

Wall Mount (mm) 100 X 100
Standard screw M4 x L10
Number of screws 4
Wall Mount Plate (Optional) LSW149LG 39GS95QE Ultra Gear Oled - Wall Mount

LG 39GS95QE Ultra Gear Oled - iocn NOTE

  • Use the screws specified by VESA standards.
  • The wall mount kit includes the installation guide and all necessary parts.
  • The wall mounting bracket is optional. You can obtain optional accessories from your local dealer.
  • The length of the screw may differ for each wall mounting bracket. If you use screws longer than the standard length, it may damage the inside of the product.
  • For more information, please refer to the user manual for the wall mounting bracket.
  • Be careful not to apply too much force while mounting the wall mount plate as it may cause damage to the screen.
  • Remove the stand before installing the monitor on a wall mount by performing the stand attachment in reverse.

CAUTION

  • Unplug the power cord before moving or installing the monitor to avoid electric shock.
  • Installing the monitor on the ceiling or on a slanted wall may result in the monitor falling off, which could lead to injury. Use an authorised LG wall mount and contact the local dealer or qualified personnel.
  • To prevent injury, this apparatus must be securely attached to the wall in accordance with the installation instructions.
  • Applying excessive force when tightening screws may cause damage to the monitor. Damage caused in this way will not be covered by the product warranty.
  • Use the wall mounting bracket and screws that conform to VESA standards. Damage caused by the use or misuse of inappropriate components will not be covered by the product warranty.
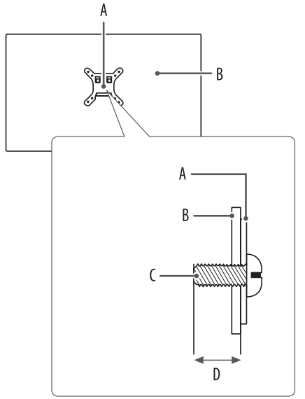
  • When measured from the back of the monitor, the length of each installed screw must be 8 mm or less.

LG 39GS95QE Ultra Gear Oled - assembly 4A : Wall Mount Plate
B : Back of the Monitor
C : Standard screw
D : Max. 8 mm

Product and Button Description

LG 39GS95QE Ultra Gear Oled - assembly 5A : Joystick Button

How to Use the Joystick Button
You can easily control the functions of the monitor by pressing the joystick button or moving it left/right/up/down with your finger.
Basic FunctionsLG 39GS95QE Ultra Gear Oled - assembly 6A (Power on): Press the joystick button once with your finger to turn on the monitor.
B (Power off ): Press and hold the joystick button once more than 5 seconds with your finger to turn off the
monitor.
C (Volume control): You can control the volume by moving the joystick button left/right.
D (Controls screen brightness): You can control the screen’s brightness by moving the joystick button up/down.

Adjusting the Stand Height

  1. Place the monitor mounted on the stand base in an upright position.
  2. Handle the monitor with both hands for safety.

LG 39GS95QE Ultra Gear Oled - assembly 7 WARNING

  • When adjusting the screen height, do not place your hand on the stand body to avoid injury to your fingers.

Adjusting the Angle

  1. Place the monitor mounted on the stand base in an upright position.
  2. Adjust the angle of the screen.

The angle of the screen can be adjusted forward or backward from -10° to 15° for a comfortable viewing experience. And you can also adjust the angle of the screen by 10 degrees to the left or to the right.
WARNING

  • To avoid injury to the fingers when adjusting the screen, do not hold the lower part of the monitor’s frame as illustrated below.
  • Be careful not to touch or press the screen area when adjusting the angle of the monitor.

LG 39GS95QE Ultra Gear Oled - assembly 8 NOTE

  • The left or right side of the monitor head can be slightly rotated up or down (up to 3°). Adjust the horizontal level of the monitor head.LG 39GS95QE Ultra Gear Oled - assembly 9

Supported Drivers and Software

You can download and install the latest version from the LGE website (www.lg.com).
– Monitor Driver / OnScreen Control / LG Calibration Studio / Dual Controller

USING THE MONITOR

  • Illustrations in this manual may differ from the actual product. Press the joystick button, go to [Settings] > [Input], and then select the input option.

CAUTION

  • If you use generic cables not certified by LG, the screen may not display or there may be image noises.
  • Do not press the screen for a prolonged time. This may cause image distortion.
  • Do not display a still image on the screen for a prolonged time. This may cause image retention. Use a PC screensaver if possible.
  • When connecting the power cord to the outlet, use a grounded (3-hole) power strip or a grounded power outlet. (Depending on country)
  • The monitor may flicker when turned on in an area where the temperature is low. This is normal.
  • Sometimes red, green, or blue spots may appear on the screen. This is normal.
  • Make sure to use the supplied cable of the product. Otherwise, this may cause the device to malfunction.
  • When using the monitor for the first time or reusing it after long-term storage, execute [OLED Image Cleaning] before use. (Go to [Settings] > [General] > [OLED Image Cleaning])

Connecting to a PC

  • This monitor supports the * feature.
    * : A feature that allows you to add a device to your computer without having to reconfigure anything or install any manual drivers.

HDMI Connection
Transmits digital video and audio signals from your PC to the monitor.
LG 39GS95QE Ultra Gear Oled - iocn NOTE

  • Using a DVI to HDMI / DP (DisplayPort) to HDMI cable may cause compatibility issues.
  • Use a certified cable with the HDMI logo attached. If you do not use a certified HDMI cable, the screen may not display or a connection error may occur.
  • Recommended HDMI cable types
    – Ultra High Speed HDMI /™ cable
    – Ultra High Speed HDMI®/™ cable with Ethernet

DisplayPort Connection
Transmits digital video and audio signals from your PC to the monitor.
LG 39GS95QE Ultra Gear Oled - iocn NOTE

  • There may be no video or audio output depending on the DP (DisplayPort) version of the PC.
  • If you are using a Mini DisplayPort output graphics card, use a Mini DP to DP (Mini DisplayPort to DisplayPort) cable or gender that supports DisplayPort1.4. (Sold separately)

Connecting AV Devices
HDMI Connection
HDMI transmits digital video and audio signals from your AV device to the monitor.
LG 39GS95QE Ultra Gear Oled - iocn NOTE

  • Using a DVI to HDMI / DP (DisplayPort) to HDMI cable may cause compatibility issues.
  • Use a certified cable with the HDMI logo attached. If you do not use a certified HDMI cable, the screen may not display or a connection error may occur.
  • Recommended HDMI cable types
    – Ultra High Speed HDMI® /™ cable
    – Ultra High Speed HDMI®/™ cable with Ethernet

Connecting Peripherals
USB Device connection
The USB port on the product functions as a USB hub.
To use USB 3.0, connect the A-B type USB 3.0 cable of the product to the PC.
Peripheral devices connected to the USB IN port can be controlled from the PC.
LG 39GS95QE Ultra Gear Oled - iocn NOTE

  • It is recommended you install all Windows Updates to keep your Windows up-to-date before connecting to the product for use.
  • Peripheral devices are sold separately.
  • A keyboard, mouse, or USB device can be connected to the USB port.
  • The charging speed may vary depending on the device.

CAUTION

  • Cautions when using a USB device.
    – A USB device with an automatic recognition program installed, or that uses its own driver, may not be recognised.
    – Some USB devices may not be supported or may not work properly.
    – It is recommended to use a USB hub or hard disk drive with power supplied. (If the power supply is not adequate, the USB device may not be recognised properly.)

Headset Connection
Connect peripherals to the monitor via the headset port.
LG 39GS95QE Ultra Gear Oled - iocn NOTE

  • Peripheral devices are sold separately.
  • Depending on the audio settings of the PC and external device, headset functions may be limited.
  • The microphone works only when the USB port on the monitor is connected to the USB port on the PC.

LG 39GS95QE Ultra Gear Oled - Headset Connection

USER SETTINGS

LG 39GS95QE Ultra Gear Oled - iocn NOTE

  • Your monitor’s OSD (On Screen Display) may differ slightly from that shown in this manual.

Activating the Main Menu
LG 39GS95QE Ultra Gear Oled - Joystick

  1. Press the joystick button on the back of the monitor.
  2. Move the joystick up/down and left/right to set the options.

Main Menu FeaturesLG 39GS95QE Ultra Gear Oled - Main Menu Features

Main Menu Description
A:[Power Off] Turns off the monitor.
B:[Input] Sets input mode. (Default)
•You can customise the left (B) of the main menu to access your preferred menu easily. ([Settings] > [General] > [User-defined Key 1])
C: [Game Mode] Sets the game mode for gaming. (Default)
•You can customise the right (C) of the main menu to access your preferred menu easily. ([Settings] > [General] > [User-defined Key 2])
D:[Exit] Exit the main menu.
E:[Settings] Configures the screen settings.

Menu Settings

  1.  To view the OSD menu, press the joystick button at the back of the monitor and then enter the [Settings].
  2. Move the joystick up/down and left/right to set the options.
  3. To return to the upper menu or set other menu items, move the joystick to LG 39GS95QE Ultra Gear Oled - iocn 3 or pressing () it.
  4. If you want to exit the OSD menu, move the joystick to LG 39GS95QE Ultra Gear Oled - iocn 3 until you exit.

LG 39GS95QE Ultra Gear Oled - iocn 2

[Game Adjust]
[Settings] > [Game Adjust]

  • [Game Mode]: you can select picture modes for game display settings.
    – [Gamer 1]/[Gamer 2]: [Gamer 1] and [Gamer 2] picture modes allow you to save two sets of customised display settings, including game-related setup options.
    – [FPS]: This mode is optimised for FPS games. It is suitable for very dark FPS games.
    – [RTS]: This mode is optimised for RTS games.
    – [Vivid]: Optimised the screen for vivid colors.
    – [Reader]: Optimises the screen for reading documents. (for SDR only)
    – [HDR Effect]: Optimises the screen for high dynamic range. (for SDR only)
    – [sRGB]: A standard RGB color space for the monitor and printer. (for SDR only)
    – [Color Weakness]: This mode is for users who cannot distinguish between red and green. It enables users with color weakness to easily distinguish between the two colors. (for SDR only)
    – [Calibration 1]/[Calibration 2]: Adjusts to the calibrated screen. Please install to run calibration. (for SDR only)

LG 39GS95QE Ultra Gear Oled - iocn NOTE

  • The [Game Mode] can be set depends on the Input signal.
  • If the [Game Mode] is changed in the DP (DisplayPort) input, the screen may flicker or the resolution of your PC screen may be affected.
  • HDR content may not display correctly depending on Windows OS settings, please check HDR On/Off settings in Windows.
  • When the HDR function is turned on, the characters or picture quality may be poor according to Graphic card performance.
  • While the HDR function is on, screen flickering or cracking may occur when changing the monitor input or power on/off according to Graphic card performance.
  • For information about whether the graphics card and game support HDR, visit their manufacture’s website.
  • [Adaptive-Sync]/[VRR]: This function shows a clear screen without screen tearing or stuttering in the game environment.
    However, screen flickering may occur in some game environments.
    – Supported Interface: DisplayPort (Adaptive-Sync), HDMI (VRR).
    – Supported Graphic Card: A graphic card that supports NVIDIA’s G-SYNC or AMD’s FreeSync is necessary.
    – Supported Version: Make sure to update the graphic card to the latest driver.
    – For more information and requirement, refer to NVIDIA website (www.nvidia.com) and AMD website (www.amd.com).
  • [Black Stabilizer]: You can control the black contrast to have better visibility in dark scenes. You can easily distinguish objects on dark game screens.
  • [Crosshair]: Crosshair provides a mark on the centre of the screen for First Person Shooter (FPS) games.
    Users can select the crosshair that fits their gaming environment among four different crosshairs.
  • [FPS Counter] – [On]: The indicator is displayed on the upper left of the screen. It will reflect the actual frame rate that is received at the input. You can also adjust the position of [FPS Counter]. (upper left/upper right/lower right/ lower left)
    – [Off ]: Does not use the [FPS Counter] feature.
    – [FPS Counter] and [Crosshair] feature can not be used at the same time.
  • [Game Reset]: Returns game settings to the default settings.

[Picture Adjust]
[Settings] > [Picture Adjust]

  • [Brightness]: Adjusts the brightness of the screen.
  • [Peak Brightness]: Adjust the panel peak brightness for a brighter screen.
  • [Contrast]: Adjusts the contrast of the screen.
  • [Sharpness]: Adjusts the sharpness of the screen.
  • [Gamma] – [Mode 1], [Mode 2], [Mode 3]: The higher the gamma value, the darker the image becomes. Likewise, the lower the gamma value, the lighter the image becomes.
    – [Mode 4]: If you do not need to adjust the gamma settings, select [Mode 4].
  • [Color Temp]: Set your own color temperature.
    – [Custom]: The user can customise the red, green and blue color.
    – [Warm]: Sets the screen color to a reddish tone.
    – [Medium]: Sets the screen color to between a red and blue tone.
    – [Cool]: Sets the screen color to a bluish tone.
    – [Manual]: The user can fine-tune the color temperature.
  • [R/G/B]: You can customise the picture color using red, green, and blue colors.
  • [Six Color]: Meets the user requirements for colors by adjusting the hue and saturation of the six colors (red, green, blue, cyan, magenta, and yellow) and then saving the settings.
    – Hue: Adjusts the tone of the screen colors.
    – Saturation: Adjusts the saturation of the screen colors. The lower the value, the less saturated and brighter the colors become. The higher the value, the more saturated and darker the colors become.
  • [Black Level]: Sets the offset level (for HDMI only).
    Offset: as a reference for a video signal, this is the darkest color the monitor can display.
    – [High]: Keeps the current contrast ratio of the screen.
    – [Low]: Lowers the black levels and raises the white levels from the current contrast ratio of the screen.
  • [Picture Reset]: Returns picture and color to the default settings.

[Sound]
[Settings] > [Sound]

  • [DTS Headphone:X]: Enables the realization of three-dimensional sound with headphones or earphone.
    – [Game]: This mode is optimised for Game.
    – [Entertainment]: This mode is optimised for Entertainment.
    – [Sports]: This mode is optimised for Sports.
    – [Off ]: Disables DTS Headhpone:X function.
  • [Volume]: Adjusts the volume level.
    – You can adjust [Mute] / [Unmute] by moving the joystick button to in the [Volume] menu.

[Input]
[Settings] > [Input]

  • [Input List]: Selects the input mode.
PBP/PIP Connection Sub Screen
HDMI 1 HDMI 2 DisplayPort
Main Screen HDMI 1 o o
HDMI 2 0 o
DisplayPort o o
  • [Aspect Ratio]: Adjusts the aspect ratio of the screen. The display may look the same for [Full Wide], [Original], and [Just Scan] options at the recommended resolution.
    – [Full Wide]: Displays the video in widescreen, regardless of the video signal input.
    – [Original]: Displays video according to the aspect ratio of the video signal input.
    – [Just Scan]: The aspect ratio is not adjusted from the original.
    – [Cinema 1]: Enlarges the screen with an aspect ratio of 21:9.
    – [Cinema 2]: Enlarges the screen with an aspect ratio of 21:9, including the black box at the bottom for subtitles.
  • [Auto Input Switch]: When [Auto Input Switch] is set to [On], display will automatically switch to new input when connected.
  • [PBP / PIP]: Displays the screens of two input modes on one monitor.
  • [PIP Size]: Changes the size of the PIP sub-screen.
  • [PIP Position]: Changes the position of the PIP sub-screen.
  • [Screen Switch]: Switches the main screen/sub-screen in PBP/PIP mode.
  • [Sound Switch]: Switches the main screen/sub-screen sound in PBP/PIP mode.

LG 39GS95QE Ultra Gear Oled - iocn NOTE

  • If not using the [PBP / PIP] feature, [PIP Size], [PIP Position], [Screen Switch] and [Sound Switch] are deactivated.
  • Some features and HDR functions are not supported in PBP/ PIP mode.

[General]
[Settings] > [General]

  • [Language]: Sets the menu screen to the desired language.
  • [OLED Screen Move]: Moving the screen minutely at regular intervals helps to prevent panel noise caused by images that have been fixed for a long time.
  • [OLED Screen Saver]: If there is no movement on the screen for a certain period of time, the screen turns off automatically.
  • [OLED Image Cleaning]: Corrects screen problems that may occur when the monitor is turned on for a long time. This will take approximately 10 minutes to complete.
    It is automatically executed when entering power saving mode or turning off the power after more than 4 hours of use from the previous [OLED Image Cleaning] completion.
  • [Hexagon Lighting]: Sets the lighting on the back of the monitor.
    – [Static 1], [Static 2], [Static 3], [Static 4]: Sets the lighting to the desired color.
    – [Cycling]: All colors appear alternately.
    – [Off ]: Turns off the light on the back of the monitor.
  • [User-defined Key 1]/[User-defined Key 2]: You can customise the main menu to access your preferred menu easily. [User-defined Key 1] and [User-defined Key 2] appear at the left/right of the main menu.
  • [SMART ENERGY SAVING]: Conserve energy by using luminance compensation algorithm.
    – [High]: Saves energy using the high-efficiency [SMART ENERGY SAVING] feature.
    – [Low]: Saves energy using the low-efficiency [SMART ENERGY SAVING] feature.
    – [Off ]: Disables the feature.
    – The value of energy saving data may differ depending on panel and panel suppliers.
    – If you select the option of [SMART ENERGY SAVING] is [High] or [Low], monitor luminance become higher or lower depend on source.
  • [Deep Sleep Mode]: When [Deep Sleep Mode] is [On], power consumption is minimised while the monitor is in standby mode.
  • [Automatic Standby]: If there is no operation on the monitor for a certain period of time, the monitor will automatically switch to standby mode.
  • [Input Compatibility Version]: You can set each input to match the supported version of the connected device.
    – If the connected device supports 2.1 in HDMI but the screen or sound does not work properly, set this function to 2.1(AV).
  • [Buzzer]: This feature lets you set the sound generated from Buzzer when your monitor powers on.
  • [OSD Lock]: This feature disables the configuration and adjustment of menus.
    All features are disabled except:
    – [Brightness] / [Contrast] in [Picture Adjust] – [Volume] in [Sound] – [Input] – [OSD Lock] / [Information] / [Open Source Software License] in [General]
  • [Information]: The following display information will be shown; [Total Power On Time], [Resolution].
  • [Open Source Software License]: If you select the [View], you can check the Open Source Software notice information.
  • [Reset to Initial Settings]: Returns to the default settings.

Important Information for Preventing Image Retention

Unlike regular LED/LCD monitors, pixels in the OLED monitors emit light on their own, achieving a perfect black and creating clear images without blurring of light.
Image retention does not occur in normal use of the product, but can occur if the same screen is watched for a long time. Built-in features are available to protect the screen from possible image retention.
If a static image persists on the screen, the screen saver will automatically lower the full screen brightness, and the screen will turn off automatically after a certain period of time. When an image change is detected, the brightness is automatically restored to its original state. This is not a malfunction of the product.
Examples of Images that may Cause Image Retention

  • Static images or images containing objects/information that are constantly visible in a fixed position on the screen (e.g., icons on the desktop, fixed windows such as menus, or logos while watching broadcasts, etc.)
  • Fixed menu/icon on a game console or set-top box
  • Fixed menu on the top corner of the web browser

Recommendations For Preventing Image Retention

  • You can prevent image retention using monitor menu settings. (Go to [Settings] > [General] > [OLED Screen Move] / [OLED Screen Saver] / [OLED Image Cleaning])

Safety precautions for prolonged use
Due to the unique properties of OLED panels, the brightness may be reduced with prolonged use. Reduced brightness is permanent.
In addition, repeated use in conditions such as high temperature and high humidity or still images/high luminance may result in afterimages, image blurring, or screen malfunction.

PRODUCT SPECIFICATION

Specifications are subject to change without notice.
The symbol ~ means alternating current, and the symbol means direct current.
Color Depth:

  • 8-bit/ 10-bit color is supported.

Resolution

  • Max Resolution:
    – 3440 x 1440 @ 240 Hz
  • Recommended Resolution:
    – 3440 x 1440 @ 240 Hz

Environmental Conditions

  • Operating Conditions
    – Temperature: 0 °C to 40 °C
    – Humidity: Less than 80 %
  • Storing Conditions
    – Temperature: -20 °C to 60 °C
    – Humidity: Less than 85 %

AC/DC Adaptor

  • Model: ACC-LATP2
    Manufacturer: SHENZHEN HONOR ELECTRONIC CO., LTD
    – Input: 100-240 V~ 50/60 Hz 2.5 A
    – Output: 19.5 V 10.8 A
  • Model: AD10630LF
    Manufacturer: PI ELECTRONICS (H.K.) Ltd.
    – Input: 100-240 V~ 50/60 Hz 2.5 A
    – Output: 19.5 V 10.8 A

Power Sources

  • Power Rating: 19.5 V 10.0 A

39GS95QE
Dimensions: Monitor Size (Width x Height x Depth)

  • With Stand (mm): 887.8 x 611.2 x 309.9
  • Without Stand (mm): 887.8 x 404.4 x 198.0
  • Weight (Without Packaging)
  • With Stand (kg): 10.4
  • Without Stand (kg): 7.0

34GS95QE
Dimensions: Monitor Size (Width x Height x Depth)

  • With Stand (mm): 784.1 x 585.9 x 278.7
  • Without Stand (mm): 784.1 x 358.3 x 167.1

Weight (Without Packaging)

  • With Stand (kg): 9.3
  • Without Stand (kg): 5.9

Support Mode
(Preset Mode, HDMI)

Resolution Horizontal Frequency (kHz) Vertical Frequency (Hz) Polarity (H/V) Remarks
640 x 480 31.469 59.940 -/-
800 x 600 37.879 60.317 +/+
1024 x 768 48.363 60.004 -/-
1280 x 720 45.000 60.000 +/+
1280 x 1024 79.976 75.025 +/+
1920 x 1080 67.500 60.000 +/+
720 x 480 29.830 59.779 +/- Recommended ([Input]: PIP (Small))
1280 x 720 44.444 59.979 +/- Recommended ([Input]: PIP (Large))
3440 x 1440 73.681 49.987 +/- Recommended ([Input Compatibility Version]: [1.4])
1720 x 1440 150.931 99.954 +/- Recommended ([Input]: PBP)
3440 x 1440 88.892 60.021 +/-
1720 x 1440 182.979 119.986 +/-
3440 x 1440 127.361 84.964 +/- Recommended ([Input Compatibility Version]: [2.1(AV)])
2560 x 1440 182.996 119.998 +/-
3440 x 1440 183.064 120.042 +/-
3440 x 1440 222.269 144.050 +/-
3440 x 1440 388.697 240.085 +/- Recommended ([Input Compatibility Version]: [2.1(PC)])

(Preset Mode, DisplayPort)

Resolution Horizontal Frequency (kHz) Vertical Frequency (Hz) Polarity (H/V) Remarks
640 x 480 31.469 59.940 -/-
800 x 600 37.879 60.317 +/+
1024 x 768 48.363 60.004 -/-
1280 x 720 45.000 60.000 +/+
1280 x 1024 79.976 75.025 +/+
1920 x 1080 67.500 60.000 +/+
720 x 480 29.830 59.779 +/- Recommended ([Input]: PIP (Small))
1280 x 720 44.444 59.979 +/- Recommended ([Input]: PIP (Large))
3440 x 1440 73.681 49.987 +/-
1720 x 1440 150.931 99.954 +/- Recommended ([Input]: PBP)
1920 x 1080 137.327 120.041 +/-
3440 x 1440 88.819 59.973 +/-
1720 x 1440 182.979 119.986 +/-
3440 x 1440 150.972 99.982 +/- Recommended ([Input Compatibility Version]: [1.2])
3440 x 1440 183.064 120.042 +/-
3440 x 1440 222.269 144.050 +/- Recommended ([Input Compatibility Version]: [1.4])
3440 x 1440 388.697 240.085 +/- Recommended ([Input Compatibility Version]: [1.4(DSC)])
  • If the input timing is used outside of the supported frequency, response speed or image quality may deteriorate.
  • To display the preferred timing & frequency, make sure to use the graphics card that supports DSC (Display Stream Compression).

HDMI Timing (Video)

Resolution Horizontal Frequency (kHz) Vertical Frequency (Hz)
480P 31.5 60
720P 45 60
1080P 67.5 60
1080P 135 120
2160P 135 60
2160P 255 120

TROUBLESHOOTING

Nothing is displayed on the screen.

  • Is the monitor’s power cord plugged in?
    – Check if the power cord is correctly plugged into the power outlet.
    – If the monitor is in sleep mode (standby mode), move the mouse, or press any key on the keyboard, to switch the display on.
    – Check if the computer is turned on.
  • Is the monitor powered on?
    – Check if the input setting is correct. ([Settings] > [Input])
  • Is the [The screen is not currently set to the recommended resolution.] message being displayed?
    – This occurs when signals transferred from the PC (graphics card) are out of the recommended horizontal or vertical frequency range of the monitor. Please see the PRODUCT SPECIFICATION section of this manual to set the appropriate frequency.
  • Is the [No Signal] message being displayed?
    – This is displayed when the signal cable between the PC and the monitor is missing or disconnected. Check the cable and reconnect it.
  • Is the [Out of Range] message being displayed?
    – This occurs when signals transferred from the PC (graphics card) are out of the horizontal or vertical frequency range of the monitor. Please see the PRODUCT SPECIFICATION section of this manual to set the appropriate frequency.

Do you see an “Unrecognised monitor, monitor found” message?

  • Have you installed the display driver?
    – Be sure to install the display driver from our web site: https://www.lg.com.
    – Make sure to check if the graphics card supports function.

Screen display is unstable and shaky. / Images displayed on the monitor leave shadow trails.

  • Did you select the appropriate resolution?
    – If the selected resolution is HDMI 1080i 60/50 Hz (interlaced), the screen may be flickering. Change the resolution to 1080p or the recommended resolution.
    – Not setting the graphics card to the recommended (optimal) resolution may result in blurred text, a dimmed screen, a truncated display area or misalignment of the display.
    – The setting methods may be different depending on the computer or operating system, and some resolutions may not be available depending on the performance of the graphics card. If this is the case, contact the manufacturer of the computer or graphics card for assistance.
  • Are there spots on the screen?
    – When using the monitor, pixilated spots (red, green, blue, white, or black) may appear on the screen. It is not an error, nor is it related to the monitor’s performance.

Some features are disabled.

  • Are some functions not available when you press the Menu button?
    – The OSD is locked. Disable [OSD Lock] in [General].

No sound from the headset port.

  • Are images displayed using DisplayPort or HDMI input without sound?
    – Make sure that the headset port connections are made properly.
    – Try increasing the volume with the joystick.
    – Set the audio output of the PC to the monitor you are using. (The settings may differ depending on the operating system (OS) you use.)

LICENSE

Each model has different licenses. Visit www.lg.com for more information on the license.

LG 39GS95QE Ultra Gear Oled - iocn 4The terms HDMI, HDMI High-Definition Multimedia Interface, HDMI Trade Dress and the HDMI Logos are trademarks or registered trademarks of HDMI Licensing Administrator, Inc.
LG 39GS95QE Ultra Gear Oled - iocn 6The SuperSpeed USB Trident logo is a registered trademark of USB Implementers Forum, Inc.
LG 39GS95QE Ultra Gear Oled - iocn 7Manufactured under license from DTS Licensing Limited. For applicable DTS patents, see https://xperi.com/patents/. DTS, the Symbol, DTS and the Symbol together, Headphone:X and DTS Virtual:X are trademarks of DTS, Inc. and affiliates. DTS’ software, technologies, and documentation, © DTS, Inc. and affiliates. All Rights Reserved.
LG 39GS95QE Ultra Gear Oled - iocn 8VESA, VESA logo, DisplayPort compliance logo and DisplayPort compliance logo for dual-mode source devices are all registered trademarks of the Video Electronics Standards Association.

OPEN SOURCE SOFTWARE NOTICE INFORMATION

To obtain the source code that is contained in this product, under GPL, LGPL, MPL, and other open source licenses that have the obligation to disclose source code, and to access all referred license terms, copyright notices and other relevant documents, please visit https://opensource.lge.com.
LG Electronics will also provide open source code to you on CD-ROM for a charge covering the cost of performing such distribution (such as the cost of media, shipping, and handling) upon email request to [email protected].
This offer is valid to anyone in receipt of this information for a period of three years after our last shipment of this product.

The model and serial number of the product are located on the back and on one side of the product.
Record them below in case you ever need service.
Model……………………………………
Serial No……………………………………..

Leave a Comment