kramer KRT-4 Cable Retractor

Contents
This guide helps you install and use your KRT-4 for the first time.
Go to www.kramerav.com/downloads/KRT-4 to download the latest user manual and check if firmware upgrades are available.
Step 1: Check what’s in the box
- KRT-4 Cable Retractor
- 3 M4x50 screws
- WCP (KRT) insert kit
- 1 Quick start guide
Step 2: Get to know your KRT-4

KRT-4 is available for the following cables: HDMI™, USB-C, VGA, audio (3.5mm), LAN, USB-3.0, MDP/H (up to 4K30Hz), 3H2 (HDMI extender) and DisplayPort. Refer to www.kramerav.com/product/KRT4 for the updated configuration list.
| # | Feature | Function |
| 1 | Retractor Enclosure | Contains the retractable cable mechanism. |
| 2 | Fixed Cable Female Connector | Connect to a male connector under the table. |
| 3 | Fixed Cable End | Short connector cable. |
| 4 | Screw Openings for Mounting Under the Table (3) | Use to attach the KRT-4 directly under a table. |
| 5 | Wing-Head Thumb Screw | Use to turn and lock KRT-4 to the TBUS enclosure. |
| 6 | TBUS Installation Slot | Insert TBUS enclosure side into the slot to attach KRT-4 to a TBUS. |
| 7 | Retracting Cable | Pull to connect to a connector above the table. |
| 8 | Retracting Cable Male Connector | Connect to a female connector. |
The terms HDMI, HDMI High-Definition Multimedia Interface, and the HDMI Logo are trademarks or registered trademarks of HDMI Licensing Administrator, Inc
Step 3: Mount KRT-4
Use this procedure to mount KRT-4 onto the following Kramer TBUS units: TBUS-1AXL, TBUS-3xl, TBUS-4xl, TBUS-5xl, TBUS 6xl and TBUS-10XL and so on.
- Before mounting the KRT-4 onto a TBUS, you need to configure and install the TBUS inner frame (including inserts and power sockets) and mount the TBUS onto a table.
- Remember to prepare an opening in the TBUS inner frame for the retracting cable connector (for example, use the Kramer WCP pass-through insert).

- Ensure that the environment (e.g., maximum ambient temperature & air flow) is compatible for the device.
- Avoid uneven mechanical loading.
- Appropriate consideration of equipment nameplate ratings should be used for avoiding overloading of the circuits.
- Reliable earthing of rack-mounted equipment should be maintained.
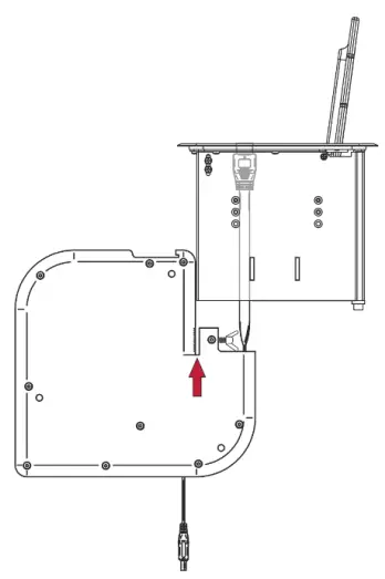
Step 4: Attach KRT-4 to a TBUS
To attach KRT-4 to a TBUS:
- From under the table, slide the KRT-4 onto one of the side walls of the TBUS.
Make sure that the fixed cable is directed downwards and the retracting cable is directed upwards.

- Use the wing-head thumb screw to fix the KRT-4 firmly in place and pass the retracting cable end through the cable pass-through bushing.

The KRT-4 is now firmly fixed in place.

Attaching KRT-4 (as a Standalone) to the Underside of a Table
The thickness of the table should be at least 18mm so as not to damage the table. Kramer Electronics is not responsible for any damage caused to the table.
To attach KRT-4 to the underside of a table:
- Place the KRT-4 under the table in the desired location. Make sure that the retracting cable faces the edge of the table.
- Pass the 3 M4x50 screws through the table screw openings and tighten them to fix the retractor under the table.



