KICHLER 52595CPZ Brit Flush Mount Ceiling Light

Contents
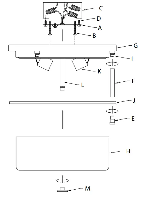
FIXTURE DIAGRAM

PARTS LIST
- [A] Mounting Strap
- [B] Mounting Screw (Qty. 2)
- [C] Outlet Box (Not Supplied
- [D] Strap Mounting Screw (Qty. 2)
- [E] Stem Finial (Qty. 3)
- [F] Stem (Qty. 3)
- [G] Canopy
- [H] Glass Shade
- [I] Threaded Fitting(attached to Canopy, Qty. 3)
- [J] Lower Ring
- [K] Socket
- [L] Center Tube
- [M] Shade Finial
CAUTIONS
AUTION – RISK OF SHOCK:
Disconnect Power at the main circuit breaker panel or main fuse box before starting and during the installation.
WARNING:
- his fixture is intended for installation in accordance with the National Electrical Code (NEC) and all local code specifications. If you are not familiar with code requirements, installation by a certified electrician is recommended. Failure to adhere to these codes and instructions may result in serious injury and/or property damage and will void the warranty.
CLEANING:
- Always be certain that electric current is turned off before cleaning.
- Only a soft damp cloth should be used. Harsh cleaning products may damage the finish.
INSTALLATION INSTRUCTIONS
- Screw three (3) stems[F] onto the three (3) threaded fittings [I] attached to canopy [G].
- Align holes in lower ring [J] with bottoms of stems.
NOTE: Outer lip of lower ring[J] should be in the up position, and lower ring should be positioned so that stems seat on the inside (recessed) surface of lower ring. - While holding lower ring in place on stems, insert stem finials [E] through holes in lower ring, and screw into bottom of stems. Tighten stem finials to secure lower ring in place.
- Find the appropriate threaded holes in mounting strap [A] that align with keyhole slot distance in canopy [G]. Screw mounting screws [B] into threaded holes in mounting strap starting from the fixture side (as shown in fixture diagram).
NOTE: Leave 1” (25mm) of mounting screw threads exposed between mounting strap and mounting screw heads. - Attach mounting strap[A] to outlet box [C] using the strap mounting screws [D]. Mounting strap can be adjusted to suit position of fixture.
- Grounding instructions: (See Illus. a or b).
a. On fixtures where mounting strap is provided with a hole and two raised dimples, wrap ground wire from outlet box around green ground screw, and thread into hole.
b. On fixtures where a cupped washer is provided, attach ground wire from outlet box under cupped washer and green ground screw, and thread into mounting strap.
If fixture is provided with ground wire, connect fixture ground wire to outlet box ground wire with wire connector after following the above steps. Never connect ground wire to black or white power supply wires.

- Make wire connections. Reference chart below for correct connections and wire accordingly.
Connect Black or Red Supply Wire to: Connect White Supply Wire to: Black White *Parallel cord (round & smooth) *Parallel cord (square & ridged) Clear, Brown, Gold or Black without Tracer Clear, Brown, Gold or Black with Tracer Insulated wire (other than green) with copper conductor Insulated wire (other than green) with silver conductor *Note: When parallel wire (SPT 1 & SPT 2) are used. The neutral wire is square shaped or ridged and the other wire will be round in shape or smooth (See illus.) 
- Raise canopy[G] to ceiling, carefully passing mounting screw heads[B] through the wide ends of keyhole slots in canopy.
NOTE: Make sure wires do not get pinched between mounting strap and canopy, or between canopy and ceiling. - While holding canopy in place against ceiling, rotate canopy clockwise until mounting screws lock into place in the narrow ends of keyhole slots in canopy (as shown below). Tighten mounting screws against bottom of canopy to secure canopy to ceiling.


- Insert recommended bulbs (not supplied).
- Carefully raise glass shade [H] up through lower ring [J], and over bulbs and sockets [K], to canopy [G], making sure that the end of center tube [L] passes through small hole in glass shade.
- While holding glass shade in place flush against bottom of canopy, screw shade finial [M] onto threads protruding through bottom of glass shade to
secure glass shade. DO NOT OVER-TIGHTEN.
Customer Support
INSTRUCTIONS:
For Assembling and Installing Fixtures in Canada
We’re here to help 866-558-5706
Hrs: M-F 9am to 5pm EST
For warranty information please visit: kichler.com/warranty
