KICHLER 52532CPZBK 8 Light Chandelier Instruction Manual

Home » KICHLER » KICHLER 52532CPZBK 8 Light Chandelier Instruction Manual

KICHLER-logo

KICHLER 52532CPZBK 8 Light Chandelier

KICHLER-52532CPZBK-8-Light-Chandelier-product

Product Information

Specifications

  • Stems: 2-12, 2-6 with Short Threaded Tubes installed
  • Short Threaded Tubes: Included
  • Coupling: Included (on Main Body)
  • Canopy: Included
  • Strap Mounting Screw: 2 included
  • Outlet Box: Not supplied
  • Mounting Strap: Included
  • Swivel: Attached to Canopy
  • Mounting Screw: 2 included
  • Lock Washer: 2 included
  • Knob: 2 included
  • Safety Cable: Attached to Canopy
  • Main Body: Included

Installation Instructions

Step 1: Prepare the Fixture Wire

Pass the fixture wire from the coupling on top of the main body through the desired number of short threaded tubes. Screw the stems together using the short threaded tubes. Note that a minimum of one (1) 12-inch stem must be used when mounting the fixture.

Note: Apply thread locking compound to all stem threads as noted with the () symbol to prevent accidental rotation of the fixture during cleaning, relamping, etc.

Step 2: Assemble Stems

Thread the assembled stems into the coupling on top of the main body.

Step 3: Pass Fixture Wire

Pass the fixture wire from the last stem through the end of the swivel and into the canopy. Thread the end of the swivel into the end of the last stem, making sure to note the direction of the swivel in accordance with the ceiling.

Step 4: Cut Fixture Wires

Cut the fixture wires a minimum of 20 inches from the top edge of the canopy.

Step 5: Attach Mounting Strap

Find the appropriate threaded holes on the mounting strap that align with the hole distance in the canopy. Assemble the mounting screws into the threaded holes, starting from the outlet box side.

Step 6: Mounting Strap Adjustment

Attach the mounting strap to the outlet box using the supplied strap mounting screws. The mounting strap can be adjusted to suit the position of the fixture.

Step 7: Attach Safety Cable

Attach the safety cable to the mounting strap or to the inside of the outlet box and secure it into place. This will prevent damage to the wires during wiring.

Step 8: Grounding Instructions

Option a: On fixtures where the mounting strap is provided with a hole and two raised dimples, wrap the ground wire from the outlet box around the green ground screw and thread it into the hole.

Option b: On fixtures where a cupped washer is provided, attach the ground wire from the outlet box under the cupped washer and green ground screw, and thread it into the mounting strap.

If the fixture is provided with a ground wire, connect it to the outlet box ground wire with a wire connector after following the above steps. Never connect the ground wire to black or white power supply wires.

Step 9: Wire Connections

Make the wire connections according to the chart below:

Connect Black or Red Supply Wire to: Connect White Supply Wire to:
Black White
Parallel cord (round & smooth) Parallel cord (square & ridged)
Clear, Brown, Gold or Black without Tracer Clear, Brown, Gold or Black with Tracer
Insulated wire (other than green) with copper conductor Insulated wire (other than green) with silver conductor

Step 10: Raise Canopy

Raise the canopy to the ceiling, carefully passing the mounting screws through the mounting screw holes in the canopy.

Frequently Asked Questions (FAQ)

Q: What is the minimum number of stems required for mounting the fixture?

A: A minimum of one (1) 12-inch stem must be used when mounting the fixture.

Q: Should thread locking compound be applied to all stem threads?

A: Yes, thread locking compound must be applied to all stem threads as noted with the () symbol to prevent accidental rotation of the fixture during cleaning, relamping, etc.

Q: How should the ground wire be connected?

A: There are two options for connecting the ground wire, depending on the fixture type. Option a is for fixtures with a mounting strap provided with a hole and two raised dimples, while option b is for fixtures with a cupped washer provided. Refer to the grounding instructions for detailed steps.

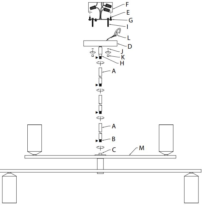
FIXTURE DIAGRAM

KICHLER-52532CPZBK-8-Light-Chandelier-fig-1

PARTS LIST

  • [A] Stems (2-12”, 2-6” with Short Threaded Tubes [B] installed)
  • [B] Short Threaded Tubes
  • [C] Coupling (on Main Body)
  • [D] Canopy
  • [E] Strap Mounting Screw (Qty. 2)
  • [F] Outlet Box (Not Supplied)
  • [G] Mounting Strap
  • [H] Swivel (Attached to Canopy)
  • [I] Mounting Screw (Qty. 2)
  • [J] Lock Washer (Qty. 2)
  • [K] Knob (Qty. 2)
  • [L] Safety Cable (attached to canopy)
  • [M] Main Body

CAUTIONS

CAUTION – RISK OF SHOCK:
Disconnect Power at the main circuit breaker panel or main fusebox before starting and during the installation.

WARNING:

  1. This fixture is intended for installation in accordance with the National Electrical Code (NEC) and all local code specifications. If you are not familiar with code requirements, installation by a certified electrician is recommended. Failure to adhere to these codes and instructions may result in serious injury and/or property damage and will void the warranty.

CLEANING:

  • Always be certain that electric current is turned off before cleaning.
  • Only a soft damp cloth should be used. Harsh cleaning products may damage the finish

INSTALLATION INSTRUCTIONS

  1. Pass fixture wire from coupling[C] on top of main body[M] through desired number of short threaded tubes[B] and stems[A]. Screw stems together using short threaded tubes.
    NOTE: A minimum of one (1) 12-inch (30.5 cm) stem[A] must be used when mounting fixture. NOTE: Thread locking compound must be applied to all stem threads as noted with (4) symbol to prevent accidental rotation of fixture during cleaning, relamping, etc.
  2. Thread assembled stems into coupling[C] on top of main body[M].
  3. Pass fixture wire from last stem through end of swivel[H] and into canopy[D]. Thread the end of swivel into end of last stem. Note direction of swivel in accordance with ceiling.
  4. Cut fixture wires a MINIMUM of 20 inches from the top edge of canopy.
  5. Find the appropriate threaded holes on mounting strap[G] that align with hole distance in canopy[D]. Assemble mounting screws[I] into threaded holes starting from the outlet box side.
  6. Attach mounting strap to outlet box[F] using the supplied strap mounting screws[E]. Mounting strap can be adjusted to suit position of fixture.
  7. Attach the safety cable[L] to the mounting strap or to the inside of the outlet box and secure into place to prevent damage to the wires during wiring.
  8. Grounding instructions: (See Illus. a or b).
    a. On fixtures where mounting strap is provided with a hole and two raised dimples, wrap ground wire from outlet box around green ground screw, and thread into hole.
    b. On fixtures where a cupped washer is provided, attach ground wire from outlet box under cupped washer and green ground screw, and thread into mounting strap.
    If fixture is provided with ground wire, connect fixture ground wire to outlet box ground wire with wire connector after following the above steps. Never connect ground wire to black or white power supply wires.

    KICHLER-52532CPZBK-8-Light-Chandelier-fig-2

  9. Make wire connections. Reference chart below for correct connections and wire accordingly.

    KICHLER-52532CPZBK-8-Light-Chandelier-fig-3

  10. Raise canopy to ceiling, carefully passing mounting screws[I] through mounting screw holes in canopy.
    NOTE: Be certain wires do not get pinched between mounting strap and canopy or canopy and ceiling.
  11. While holding canopy in place, use lock washers[J] and knobs[K] to secure canopy[D]. Tighten to secure.
  12. Insert recommended bulbs. (Not supplied).
  13. Lower tier of fixture may be rotated to desired position.

For warranty information please visit: kichler.com/warranty

Leave a Comment