Contents
KICHLER 39497 Outdoor Post Lantern

Product Information
- Product Name: Outdoor Post Lantern
- Model Number: 39497A
- Item Number: 0759420
Safety Information
Please read and understand this entire manual before attempting to assemble, operate, or install the product. This product can expose you to chemicals including lead, which is known to the State of California to cause cancer, birth defects, or other reproductive harm. For more information, go to https://www.P65Warnings.ca.gov. It is important not to leave parts out or use any parts that are worn out or broken, as it could invalidate ETL listing and/or C.S.A. certification of this fixture.
Preparation
Before beginning assembly of the product, ensure that all parts are present. Compare the parts with the package contents list and hardware contents list. If any part is missing or damaged, do not attempt to assemble the product. Estimated assembly time: 30 minutes to 1 hour Tools Required for Assembly (not included): Phillips screwdriver, flathead screwdriver, wire strippers, electrical tape, ladder, safety glasses.
Assembly Instructions
- Step 1: Connect the house supply wires from the junction box to the fixture wires. The black or red wire is the live wire, the white wire is the neutral wire, and the bare copper or green wire is the ground wire.
- Step 2: Secure the fixture base (C) to the post (not included) using the post screws (BB).
- Step 3: Insert a 60-watt max. medium base bulb or LED equivalent (not included) into the socket (D).
- Step 4: Lower the fixture top (A) to the fixture body (B) and secure using the cap screws (CC).
Care and Maintenance
To clean the fixture, wipe it with a damp cloth. Do not use abrasive cleaners or solvents. Do not submerge the fixture in water. Do not wash shades in an automatic dishwasher.
Troubleshooting
| Problem | Possible Cause | Action |
|---|---|---|
| Fixture does not light. | 1. Fixture may be wired incorrectly. 2. Worn or broken bulb. |
1. Check wiring. 2. Replace bulb. |
- Revision Date: 15-JUN-2022
- Distributed by: Kichler Lighting LLC
- 30455 Solon Rd Solon, OH 44139
- Printed in China
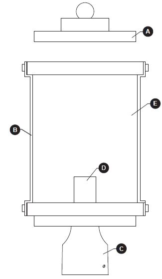
PACKAGE CONTENTS

| PART | DESCRIPTION | QUANTITY |
| A | Fixture Top | 1 |
| B | Fixture Body | 1 |
| C | Fixture Base | 1 |
| D | Socket | 1 |
| E | Glass | 1 |
HARDWARE CONTENTS

SAFETY INFORMATION
Please read and understand this entire manual before attempting to assemble, operate or install the product.
WARNING
- CAUTION – RISK OF SHOCK
- Disconnect Power at the main circuit breaker panel or main fuse box before starting and during the installation.
- WARNING
- This fixture is intended for installation in accordance with the National Electrical Code (NEC) and all local code specifications. If you are not familiar with code requirements, installation by a certified electrician is recommended.
- Do not use bulbs with wattage greater than specified on this fixture.
California Proposition 65
- WARNING
- This product can expose you to chemicals including lead, which is known to the State of California to cause cancer, birth defects, or other reproductive harm. For more information, go to https://www.P65Warnings.ca.gov
- CAUTION
- If you have any doubts about how to install this lighting fixture, or if the fixture fails to operate completely, please contact a licensed electrical contractor.
- All parts must be used as indicated in these instructions. Do not substitute any parts, leave parts out, or use any parts that are worn out or broken. Failure to obey this instruction could invalidate ETL listing and/or C.S.A. certification of this fixture.
PREPARATION
- Before beginning assembly of product, make sure all parts are present. Compare parts with package contents list and hardware contents list. If any part is missing or damaged, do not attempt to assemble the product.
- Estimated assembly time: 30 minutes to 1 hour
- Tools Required for Assembly (not included): Phillips screwdriver, flathead screwdriver, wire strippers, electrical tape, ladder, safety glasses.
ASSEMBLY INSTRUCTIONS
- Wire connection guide: Ground wire:
- For installation in the United States: Connect ground wire from fixture to ground wire from post. Secure with wire nut (AA).
- Supply wires: Connect the Neutral (White) supply wire from the outlet box to the Neutral (White) fixture wire.
- Connect the Hot (Black) supply wire from the outlet box to the Hot (Black) fixture wire.

- Hardware Used
AA Wire Connector
x 3
- Secure fixture base (C) to post (not included) with post screws (BB).
- Hardware Used
BB Post Screw
x 3
- Hardware Used
- Insert 60-watt max. medium base bulb or LED equivalent (not included) into socket (D).

- Lower fixture top (A) to the fixture body (B) and secure using the cap screws (CC).
- Hardware Used
CC Cap Screw
x 2
- Hardware Used
CARE AND MAINTENANCE
- Always be certain that electric current is turned off before cleaning this item.
- Use a soft, moist cloth with mild non-abrasive soap to clean fixture. Never use glass cleaner on fixture, as it will damage the metal finish.
- All glass shades may be washed in a towel-lined sink with warm water and mild soap. Do not wash shades in an automatic dishwasher.
TROUBLESHOOTING
| PROBLEM | POSSIBLE CAUSE | CORRECTIVE ACTION |
| Fixture does not light. |
|
|
ATTACH YOUR RECEIPT HERE
Serial Number______ Purchase Date________
Questions, problems, missing parts? Before returning to your retailer, call our customer service department at 1-800-554-6504, 8 a.m. – 4:30 p.m, EST, Monday – Friday.
kichler.com/customer-care/contact-us
Distributed by: Kichler Lighting LLC
30455 Solon Rd
Solon, OH 44139
Printed in China