Contents
YKUP-08 Analogue Module

Product Information: KERN YKUP-08 Analogue Module
The KERN YKUP-08 Analogue Module is a device designed to be connected to a scale for measuring weight. The module is manufactured by KERN & Sohn GmbH, a German company based in Balingen-Frommern. The module comes with installation instructions and can be configured to work with different types of scales. The current version of the instructions can be found online on the manufacturer’s website.
Scope of Delivery
The package contains one KERN YKUP-08 Analogue Module and the necessary installation accessories.
General and Safety Information
Before installation, it is important to disconnect the device from the power source to avoid electrical shock. The device also contains electrostatically endangered structural components that require ESD protection to prevent damage during installation. It is recommended to use suitable ESD workplaces and tools when working with electronic components.
Installation
Configuration of the Module
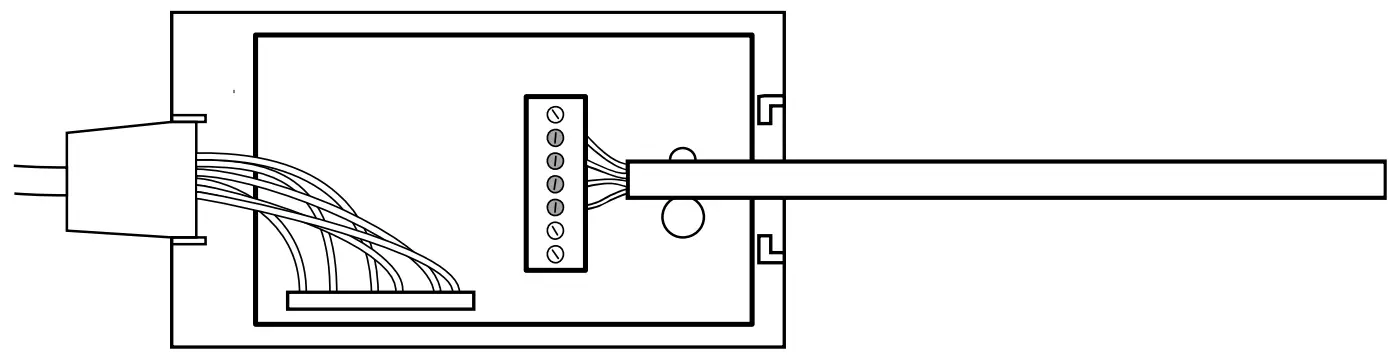
- Remove the module from the packaging.
- Remove the upper half of the module enclosure (clamp fastening).
- Remove the screws of the cable gland and take out the cable gland completely.
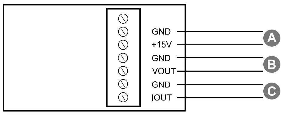
- Plug the line cores of the interface cable into the cable clamps of the module (A, B, C).
- Make sure that the supply voltage does not fall below or exceed 12 – 15 VDC and that each pair of cable clamps used is correctly connected to the ground.
- Carefully tighten the screws of the cable clamps so that the contact tips are fixed.
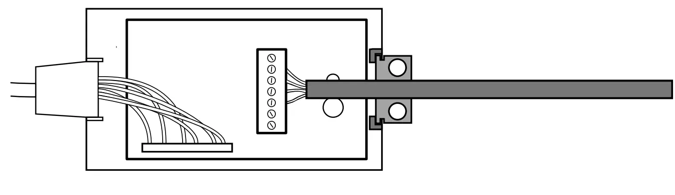
- Insert the lower part of the cable gland into the guide of themodule enclosure and place the cable into the cable gland.
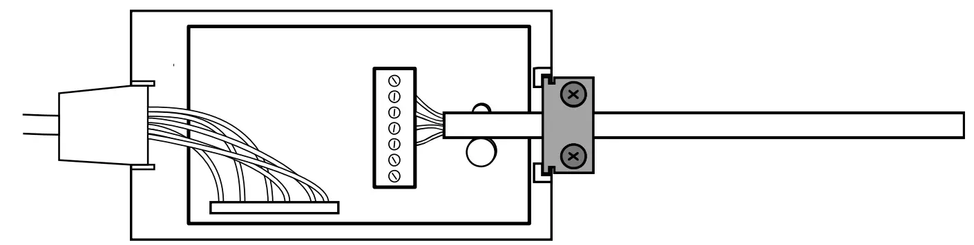
- Screw the upper half of the cable gland onto the lower half.
- Clip the upper half of the module enclosure back on.
Connect the Module to the Scale
The KERN YKUP-08 Analogue Module is designed to be connected to a scale using an interface cable. The line cores of the interface cable should be plugged into the cable clamps of the module (A, B, C) as per the instructions provided above. After connecting the module to the scale, ensure that the module is receiving power and that it is configured correctly to work with the scale.
The current version of these instructions can also be found online under: https://www.kern-sohn.com/shop/de/DOWNLOADS/ under the rubric Instruction manuals
Scope of delivery
- Analogue module
General and safety information
DANGER
The electrical shock caused by touching live components An electrical shock results in serious injury or death.
- Before opening the device, disconnect it from the power source.
- Only perform installation work on devices that are disconnected from the power source.
NOTICE
Electrostatically endangered structural components
Electrostatic Discharge (ESD) can cause damage to electronic components. A damaged component may not always malfunction immediately but may take some time to do so.
Make sure to take precautions for ESD protection before removing hazardous components from their packaging and working in the electronic area:
- Ground yourself before touching electronic components (ESD clothing, wristband, shoes, etc.).
- Only work on electronic components at suitable ESD workplaces (EPA) with suitable ESD tools (antistatic mat, conductive screwdrivers, etc.).
- When transporting electronic components outside the EPA, only use suitable ESD packaging.
- Do not remove electronic components from their packaging when they are outside the EPA.
Installation
INFORMATION
- It is important to follow the instructions in this manual before starting work.
- The illustrations shown are examples and may differ from the actual product (e.g. positions of the components).
Configuration of the module
- Remove the module from the packaging.
- Remove the upper half of the module enclosure (clamp fastening).
Side view:
- Remove the screws of the cable gland and take out the cable gland completely.
NOTICE
- Make sure that the supply voltage does not fall below or exceed 12 – 15 VDC.
- Make sure that each pair of cable clamps used (A, B, C) is correctly connected to the ground.
Plug the line cores of the interface cable into the cable clamps of the module.- A: Supply voltage
- B: Analogue-Output 0 – 10 VDC
- C: Analogue Output 4 – 20 mA
Connections B and C can be used as parallel connections. You can set on the scale whether B or C is to be used.

- Carefully tighten the screws of the cable clamps so that the contact tips are fixed.

- Insert the lower part of the cable gland into the guide of the module enclosure and place the cable into the cable gland.

- The upper half of the cable gland is screwed onto the lower half.

- Clip the upper half of the module enclosure back on.
Side view:
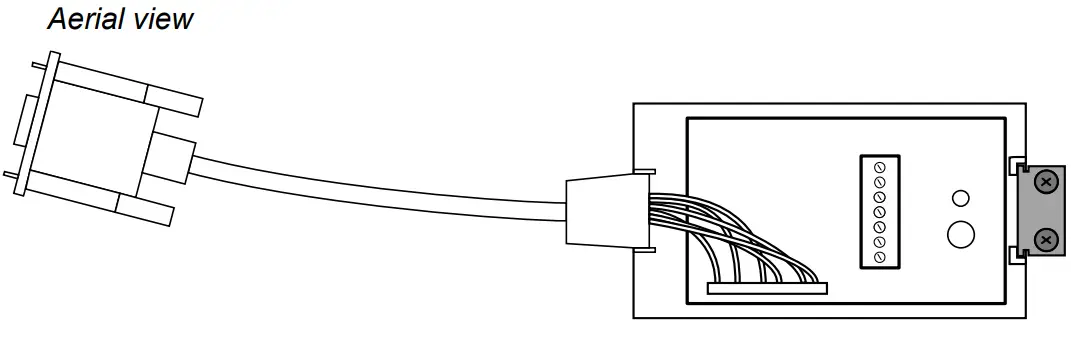
Connect the module to the scale
- Turn off appliance
- Plug the KUP adapter into the 15-pin sub-D connector of the scale.
- Switch on the unit.
- Make the communication settings for the analogue module in the menu of the scale. Information on this can be found in the instruction manual of your scale.
TYKUP-08-A-IA-e-2310
