Contents
kdln NAMI LED Glass Pendant Lamp

WARNING
The safety is guaranteed by the appropriate use of the following instructions, so you must keep them. Always disconnect the main voltage before working on the appliance. Never use abrasive products or aggressive detergents for cleaning the lamp. If the external cable of this appliance is damaged, it must be replaced by the manufacturer, its after sales service or other equivalent qualified person only in order to avoid any danger. Kundalini will not provide a replacement until the nature of defect has been determined.
WHAT’S IN THE BOX

INSTALLATION INSTRUCTION



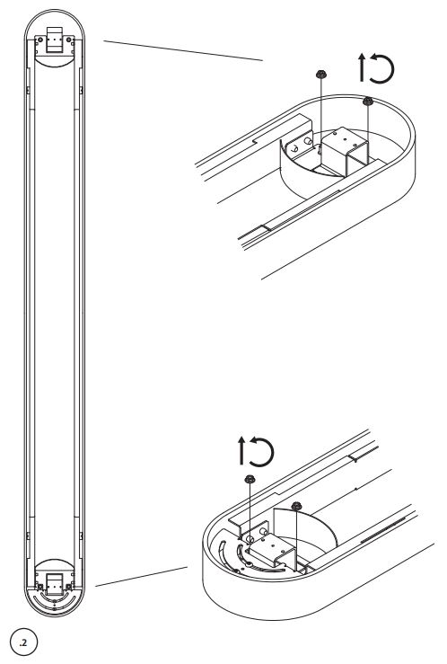
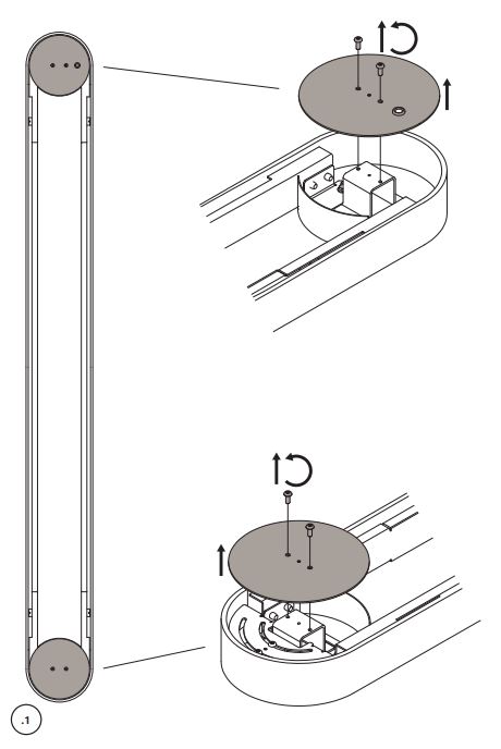
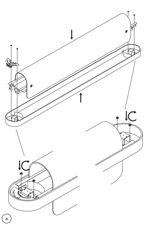
ASSEMBLY INSTRUCTIONS
Dimmer
Connect the dimmer cables to the inputs of the terminal board, labeled with the label “dim + dim -”. The lamp only accepts 1-10V or 10V PWM dimmer signal. Note: If the dimmer is set to the minimum, the lamp will not turn off. To turn off the lamp, insert an ON-OFF switch on the line cable.
Kdln Srl Viale L. da Vinci, 277 20090 Trezzano sul Naviglio, Milano T. +39 0236538950 [email protected]
