JAXPETY SY18A0246 Female Mannequin Torso Clothing Display Rack Instruction Manual

Safety Warning: If you do not understand these directions or have any doubt about the safet installation, check carefully to make sure that there are no missing or defective parts. Our customer service representatives can quickly assist you with installation questions and missing or damage parts. Replacement parts for products purchase through authorized.
Contents
Components

1 x torso
1 x pine pole
1 x round wooden piece
3 x wooden leg stand
Installation Instructions
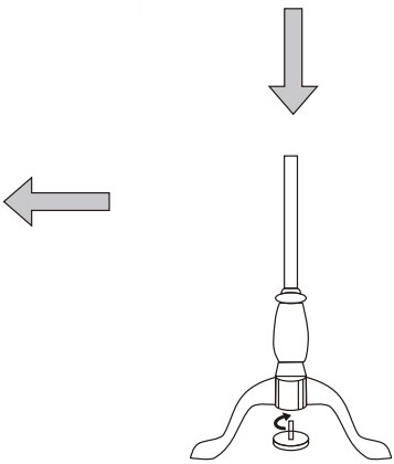
A. Unscrew the round piece

B. Slide and insert the leg stand into the groove on the pole to provide support

C. After sliding to the pole, please use round piece to keep the legs fixed

D. Attach the body to the base with a nob you can twist to tighten or loose, similar to the triangle nut, on the base the small pole attached to the body, lock for the slider

E. The height is adjustable from 56″ to 67″ with a triangle nut bolt discretely beneath the torso.
