
VIHALS

AA-2311856-4 VIHALS Chest of 6 Drawers
![]()
WARNING
Serious or fatal crushing injuries can occur from furniture tip-over.
ALWAYS secure this furniture to the wall using tip-over restraints.
To further reduce the risk of serious injury and death from tip-overs:
- Place heaviest items in the lower drawer.
- Do not set TVs or other heavy objects on top of this product.
- Never let children climb or hang on drawers, doors, or shelves.

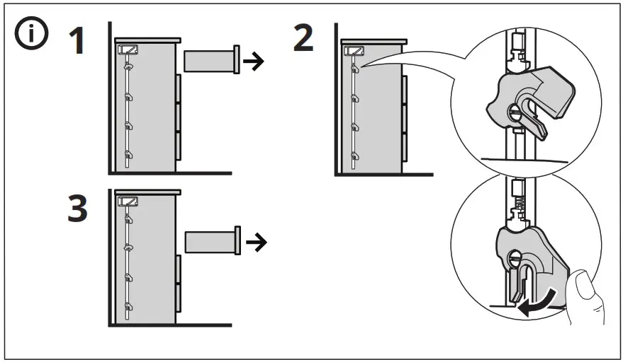
The screw(s) and plug(s) supplied can be used with most solid (A) and hollow (B) walls. For solid wood (C) use the screw(s) without plug(s).
If you are uncertain, seek professional advice.

© Inter IKEA Systems B.V. 2021
2022-10-03
AA-2311856-4