
Contents
BoostSmart Series
Smart Outdoor Outlet
Model:IC-BS06
Only Support 2.4GHz Wi-Fi
User Manual
Product Introduction
Thank you for choosing this product. This is a 2 outlets extension cord that meets your need for power supply Multi-protection safety system ensures complete protection for attached devices from over load over heat, electric surge and etc. This smart plug is your ideal choice for meeting room, tool house, garage, and garden.
Product Specification
iClever Smart Outdoor Outlet
– Model Number: IC-BS06
– Waterproof Level: IP44
– Parameters: AC 100-240V 50/60Hz
– FCC ID: 2AP9Z-SOP02
– Max Power: 1875W (resistance loading)
– Max Current: 16A
– Rated Voltage: 125V
– Working Temperature: -20~60 °C (-4~140 °F)
– Remote Control: Smart Life APP (Compatible with Android 4.1 / IOS 8.0)

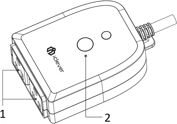
- Power Socket
- sensor
Control the Outlet via Smart Life APP
1. Download Smart Life APP
Way 1: Scan the QR code below to download the Smart Life APP.
Way 2: Search “Smart Life” in APP Store or Google Play to install the App.
*The first method is highly recommended.
2. Add Your Device
1) Login the Smart Life APP, and tap the “+” icon on the upper right corner to enter network setting interface (see picture below).
 
  
2) Press and hold the button of outlet for 5 seconds, then the indicator begins to blink rapidly. Tap the “Confirm light is rapidly flashing” icon.
3) Select a valid operating Wi-Fi, type in the password and then click on “Confirm” to configure your network (shown as the picture).
4) The APP begins to connect your network (see picture 1). After being successfully connected, it enters a new interface shown in picture 2.
 
  
picture l                picture 2
3. Set up Your Device

After successfully configuring the smart plug (shown as picture), tap the “Smart Outdoor Plug” for further operation.
Note:
1) You can directly use the APP to control the outlet if it is connected.
2) If the outlet hasn’t been connected, the interface displays “offline” state. You can’t set the device.
 
  
- To enter detailed settings
- Click here to set timing and count down for each outlet
- Click here to switch on/off the outlet
- Click here to change the name of the switch
- Click here to switch on/off the outlet
- To change the item name
- To share it with others
- To create and manage a group for the same items
4. Smart Life Scenario
 
  
Click on the “Scenes” icon to activate the scenario function.
Smart Life supports various scene settings that include:
- Temperature
- Humidity
- Weather
- PM2.5
- Air quality
- Sunrise & sunset time
- Device’s working state (power on/off etc.)
5. Smart Life Profile
 
  
The profile interface is where user can manage personal information. The main information is as follows:
- Personal information
- Smart life scenario
- Device sharing
- Message center
- FAQ
- Feedback
- About
In the profile interface, you can do more like changing password, binding your phone number or setting an unlocking pattern.
a. Click on “Pattern Unlock” to set a unlocked pattern.
 
   
  
b. Share your device with others
 
  
This list shows all members who are added in your account. Hold and slide it leftward to delete the shared users.
c. Message Center — About
 
  
You can get all new notifications about new device and new sharing from the below interface.
Control the Outlet with Amazon Echo
 
  
1) Download the “Amazon Alexa” APP onto your smartphone. Tap “Create a new Amazon Account” to register or “Sign in” to access a preexisting account.
2) Tap the menu icon on the top left corner to access the Echo’s settings.
 
  
3) Tap “set up a new device”. Select your Echo model, choose your language, and then click “connect to wifi”.
4) Press and hold the button on the top of the Echo until it glows orange. Click “continue” on the app
5) Wait a few seconds for your phone to connect to the Echo. Once you have received confirmation that Echo is connected tap “continue”.
6) Select your wifi network to connect your Echo to the internet. Enter your password to connect (if needed).
7) Tap “continue” when Echo has been successfully connected to the wifi network.
8) Tap the menu icon in the upper left-hand corner and click on “skills”.
9) Tap the device labeled “Smart Life” and then click “enable”. Enter your username and password to log in. Make sure to specify your country/region.
10) Touch the back arrow in the upper left-hand corner to return to the previous window. Click on “Smart Home” to search for new devices. You can say “Alexa, discover devices”.
11) The Echo will search for new devices automatically.
12) Discovered devices will be shown in a list in your screen. Find and select “Smart Plug”. Your echo and Smart Outlet are now successfully paired.
Note: If you change the device’s name on Smart Life app, your Echo must re-discover it. Follow the above steps to reconnect.
Using Voice Commands
You can control your devices through simple voice commands like: “Alexa, turn on the…” or “Alexa, turn off the…”
Product Features
Safety
- Made of fireproof material that ensures it to remain functional in environment under 100 Celsius, fire resistance of up to 94V0 level.
- Its chassis is made of insulating material.
- Power supply will automatically be cut off when total current output exceeds threshold.
- Synchronous rectification technology: largely reduce energy loss and improve electric energy conversion.
- Switch: AC master control switch
Compatibility
- Provide energy for 2AC appliances.
- Wide voltage: AC 100-240V.
Quality
The device has been strictly tested many times to reach standards before delivery. iClever also provides technical support and excellent customer services for all customers.
Product Features
- Sum power of all attached devices should not exceed rated power of this unit.
- Do not cover the unit with anything to prevent overheat.
- Do not use the unit in a house/room with humid air.
- Do not repair, dissemble by yourself.
- Connected through an improperly grounded AC outlet may lead to potential injury.
Warranty Policy
At iClever, we warrants that each product will be free from defects and workmanship, that is why we support all our products with an 18 Month warranty and provide lifetime technical support for all purchase via iClever direct store.
- Warranty coverage starts when package is shipped.
- Warranty policy covers mechanical/electrical failures from normal use if a product fails to operate in accordance with product description, iClever will provide a free replacement of the failed product or issue a refund via Amazon RMA procedure.
- For technical support, email us at [email protected] customer service staff is always happy to assist you.
Statement
We have distribution system in China and global cities, if you purchase the product from different retailer and have quality problems, you can apply directly to dealers for return service.
Contact Us
If you have any questions or advice about our products, please send an email to [email protected], once receiving your email, we will reply to you at the first time, thanks for your support and understanding.
FCC Statement
Federal Communication Commission Interference Statement This equipment has been tested and found to comply with the limits for a Class B digital device, pursuant to Part 15 of the FCC Rules. These limits are designed to provide reasonable protection against harmful interference in a residential installation. This equipment generates, uses, and can radiate radio frequency energy and, if not installed and used in accordance with the instructions, may cause harmful interference to radio communications. However, there is no guarantee that interference will not occur in a particular installation. If this equipment does cause harmful interference to radio or television reception, which can be determined by turning the equipment off and on, the user is encouraged to try to correct the interference by one or more of the following measures:
- Reorient or relocate the receiving antenna.
- Increase the separation between the equipment and receiver.
- Connect the equipment into an outlet on a circuit different from that to which the receiver is connected.
- Consult the dealer or an experienced radio/TV technician for help.
Caution Any changes or modifications not expressly approved by the party responsible for compliance could void the user’s authority to operate this equipment.
FCC Caution:
This device complies with Part 15 of the FCC Rules. Operation is subject to the following two conditions:
(1) This device may not cause harmful interference, and (2) this device must accept any interference received, including interference that may cause undesired operation.
FCC Radiation Exposure Statement:
This equipment complies with FCC radiation exposure limits set forth for an uncontrolled environment. This equipment should be installed and operated with minimum distance 20cm between the radiator & your body.
RF Exposure: A distance of 20 cm shall be maintained between the antenna and users, and the transmitter module may not be co-located with any other transmitter or antenna.
Download the User Manual from iclever.com/support/guides
 
					