
INSTRUCTION
MANUAL

Model: HJ-2776
[email protected]
(909)637-7665 | (909)637-7593
Contents
ASSEMBLY GUIDE
Congratulations, you are now the owner of a brand new home & office chair!
To best enjoy the comfort of the chair, you have to put it together first! This assembly guide will take you through the assembly process. To make sure the assembly goes well, please follow the instructions, and especially the important safety information.
It is possible to assemble the chair on your own, but it is recommended to have a second person to make it easier and safer.
Please check if there are any missing parts from the package before starting. If there is any issue, please don’t hesitate to drop us an email and we’ll help you out ASAP.
If you run into any difficulty when assembling the chair, remember to check out the assembly video to see if you’ve missed anything. If you’re unable to resolve the problem, just send us an email and our support team will assist you.

https://hlinstallationvideos.s3.amazonaws.com/HJ-2776-installation.mp4
WARNING
To ensure proper assembly, please follow all steps and use all parts. Failure to follow this warning can result in serious injury to yourself or others.
Package List
Without further ado, we kindly suggest you to list all parts needed for the chair first.

Assembly Instruction
- Step 1:
Turn the Base (6) upside down, and then insert the Legs (7) one by one into the Base.
Next, screw ten Bolts (8) into the pre-drilled holes with the Wrench (11) to attach the base and the legs.

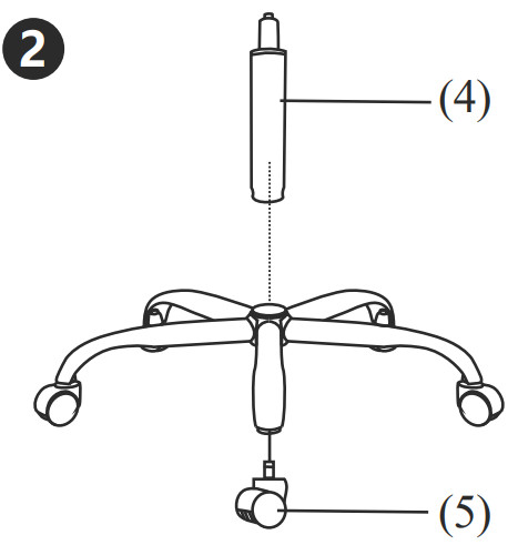
- Step 2:
Press the Casters (5) into the holes at the end of each Base Leg. And then insert the Gas Lift (4) to the base.

- Step 3:
Turn the Seat Cushion (2) upside down and align the Mechanism (3) over the pre-drilled holes underneath the Seat Cushion, make sure the front of the mechanism is facing the front of the Seat.
Attach the Mechanism to the Seat Cushion with four Bolts (10), and tighten all bolts with the Wrench (11).
*Be cautious as mis-threading the bolts will damage the seat. - Step 4:
Connect the Back Cushion(1) and the Seat Cushion(2)with three Bolts (9), and tighten the bolts with the Wrench (11).

- Step 5:
Align the hole at bottom of the seat with the Gas Lift (4), put the body of the chair on the Gas Lift.
CAUTION:
Make sure all bolts and screws are fully tightened before using chair.
Lubricate all moving parts and tighten all bolts/screws every 6 months or whenever needed. - Step 6:
The paddle-shaped lever on the right side under the seat is used for adjusting the seat height.
To raise – while taking your weight off the seat, lift the lever up. To lower – while seated, lift the lever up again.
* At the proper height, your feet should rest flat on the floor.

Safety And Maintenance
- Do not stand on the chair, Do not use the chair as a stepladder.
- Use this product for seating one person at a time.
- Do not use the chair unless all bolts and screws are firmly secured.
- Avoid contact with sharp objects to prevent puncturing the fabric.
- Every 6 months, check all bolts and screws to ensure they are tight.
- To clean, spot clean only using a damp towel and mild cleaner, first test on a small, unseen area of fabric.
- Chair weight limit not to exceed 250 lbs.
Safety Information

Limited Warranty
The producer promises to repair or replace any chair that is found to be defective in material or workmanship within one(1) and year from the date of original purchase so long as you, the original purchaser, still owns it.
This is your sole and exclusive remedy. This warranty is subject to the provisions below.
EXCLUSIONS:
This warranty does not apply and no other warranty applies to:
- Normal wear and tear, which are to be expected over the course of ownership.
- Misuse, abuse, or excessive use of the product.
- Modifications or attachments to the product that are not approved by the manufacturer.
- Products that were not installed, used or maintained in accordance with product instructions and warnings.
- Products used for rental or commercial purposes.
- Damage caused by the carrier in-transit is handled under separate terms.
SEATING USAGE:
Normal use for seating is identified as the equivalent of a single shift, forty- (40) hour workweek. To the extent that a seating product is used in a manner exceeding this, the applicable warranty period will be reduced in a pro-rata manner.
Some retailers might have custom models imported directly from the factory and therefore are not supported by our local service team because we don’t have the correct parts, please contact your retailer directly for support. If you have any questions about that we will be happy to assist and identify those items.
RETURN POLICY:
We adopt a 30 days return policy which means that all products purchased on this website may be returned to us within the timeframe. You need to contact us within 30 days after the product(s) came into your possession and the product(s) must be returned to us without any undue delays.
Returned products must be returned in the same condition as they were sent and they must be sent in its original packaging.
If the product is not faulty, (i.e. if you changed your mind or if you are unhappy with the product for some other reason), the cost of shipping will all on you. And it is your responsibility that the package arrives safely to us so we recommend that you use a courier service where it is possible to track the shipment.
If the product is faulty when you receive it please contact us and we will help you out (see more information under Manufacturer Warranty).
We reserve the right to give a partial refund in cases when the product(s) is not in an unused condition, is damaged or has missing parts not due to our error.
HOW RETURNS WORK:
Contact us through the contact form on our website and attach the invoice to the message as proof of purchase. And please also write the reason for the return.
We will then get back to you as soon as possible with information on where to send the product(s).
As soon as we have received the product(s) and made an inspection we will inform you of our decision.
If a refund is approved we will automatically credit the purchase to your credit card or original method of payment.
If the product(s) is damaged, not in its original condition or missing parts we will inform you if you are eligible for a partial refund. This is decided from case to case depending on the severity of the damages or what parts are missing.

[email protected]
(909)637-7665 | (909)637-7593