HAT 8318-CUP iLift Apple Cinema Display + iMac Monitor Arm Instruction Manual

Home » HAT » HAT 8318-CUP iLift Apple Cinema Display + iMac Monitor Arm Instruction Manual

HAT 8318-CUP iLift Apple Cinema Display + iMac Monitor Arm Instruction Manual
HAT 8318-CUP iLift Apple Cinema Display + iMac Monitor Arm

Desk Clamp

Desk Clamp

Thru-Desk

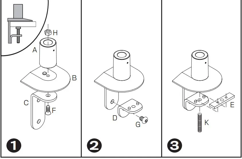
Wall Mount

 Wall Mount

Reverse Wall Mount

Grommet Hole

Grommet Hole

Side Bolt

 Side Bolt

PARTS LIST

ITEM DESCRIPTION / PART NO. QUANTITY
Parts List Mount Column 407602 1
Base Plate 8321 1
C Large “L” Bracket 702828 1
Parts List Small “L” Bracket 111728 1
Parts List Rectangular Spacer 701544 1
3/8-16 x 1-1/4″ Flat Socket Cap Screw 701855 1
G Parts List 3/8-16 x 1/2″ BHSCS 702898 1
H 3/8-16 Nylon Stop Nut 701418 1
Parts List 3/8-16 x 7/8″ Button Socket Cap Screw 701122 1
J Parts List 3/8-16 x 2-1/2″ Hex Head Bolt 700268 1
K Parts List 1/2-13 x 3″ Socket Set Screw 701126 1
7/32″ Allen Wrench 701127 1
Parts List 3/32″ Allen Wrench 700146 700146 1

Installation Instructions

Installation Instructions

ITEM DESCRIPTION / PART NO. QUANTITY
A Spring-Assisted Monitor Tilter 407747 1
B 75/100mm VESA Adapter Plate 105587 1
C 10-32 x 3/8″ Phillips Flat Head Screw 702281 1
D M4 x 12mm Phillips Pan Head Screw 702096 1
E Dog Washer 105189 1
F 10-32 x 3/8″ FPhMS w/Lock Patch 705198 1
G 7/32″ Allen Wrench 701127 1
H 3/32″ Allen Wrench 700146 1
I Forearm Cap 111900 1
J Forearm Cap 111900 1
K Endcap Bumpe 702829 1
L Cable Cap 109344 1

800 524 2744 team-hat.com © 2022 Human Active Technology, LLC P504640 REV J

HAT  Logo

Leave a Comment