Contents
GREYSTONE TDSO Series Strap-on Temperature Transmitter With LCD

Product Information
Strap-on Temperature Transmitter With LCD
The TDSO Series Strap-on Temperature Transmitter is a device that is used to measure temperature in an environment where an immersion sensor with thermowell cannot be installed. It comes with an LCD display and a hinged cover with a latch. The device is not recommended for use in an explosive or hazardous environment, with combustible or flammable gases, as a safety or emergency stop device or in any other application where failure of the product could result in personal injury. The device has a 1/2 NPT threaded connection hole provided in the bottom of the enclosure. It also has an optional 1/2 NPT to M16 thread adapter and cable gland fitting available.
Product Usage Instructions
- Read the installation instructions carefully before installing and commissioning the temperature transmitter. Failure to follow these instructions may result in product damage.
- Do not use the device in an explosive or hazardous environment, with combustible or flammable gases, as a safety or emergency stop device or in any other application where failure of the product could result in personal injury. Do not exceed the device ratings.
- Select a suitable spot for mounting the strap-on transmitter directly onto any pipe where an immersion sensor with thermowell cannot be installed.
- If there is a small block of insulation present, remove it. It is recommended that thermal compound be used to improve heat transfer. Spread a liberal amount on the pipe.
- Open the worm gear clamp by swiveling the worm gear away from the clamp and pull the clamp apart. Place the sensor plate on the selected mounting area and wrap clamp around the pipe. Re-insert clamp under the worm gear and pull until snug. Lock in place by swiveling the worm gear towards the clamp. Tighten worm gear clamp by using a standard screw driver or hex nut driver.
- The enclosure has a hinged cover with a latch. Open the cover by pulling slightly on the latch on the right side of the enclosure, at the same time pulling on the cover. A 1/2 NPT threaded connection hole is provided in the bottom of the enclosure. Screw the EMT connector or cable gland connector in until tight. It is recommended that weatherproof conduit or cable gland fittings be used.
- Make wiring connections as per the Wiring illustrations on Page 2.
- Swing door closed until securely latched. For added security, 2 screws are provided that may be installed in the integrated screw tabs.
INTRODUCTION
The single point strap-on temperature transmitter has a precision platinum RTD encapsulated in an 38.1mm x 12.7mm (1.5”x 0.5”) aluminum plate. A 25.4 cm (10”) S/S Pipe clamp is provided to secure the assembly to various sizes of pipes. All probes are constructed to provide excellent heat transfer, fast response and are potted to resist moisture penetration. A transmitter that provides a high accuracy signal with excellent long term stability, low hysteresis and fast response is available with various ranges. A compact Polycarbonate enclosure with a hinged and gasketed cover is provided for ease of installation.
BEFORE INSTALLATION
Read these instructions carefully before installing and commissioning the temperature transmitter. Failure to follow these instructions may result in product damage. Do not use in an explosive or hazardous environment,with combustible or flammable gases, as a safety or emergency stop device or in any other application where failure of the product could result in personal injury. Do not exceed the device ratings.
MOUNTING
The strap-on transmitter installs directly onto any pipe where an immersion sensor with thermowell cannot be installed.
Once a suitable spot is selected, remove a small block of insulation, if present. It is recommended that thermal compound be used to improve heat transfer. Spread a liberal amount on the pipe. Open the worm gear clamp by swiveling the worm gear away from the clamp and pull the clamp apart, as shown in Figure 1.
Place the sensor plate on the selected mounting area and wrap clamp around the pipe. Re-insert clamp under the worm gear and pull until snug. Lock in place by swiveling the worm gear towards the clamp. Tighten worm gear clamp by using a standard screw driver or hex nut driver as shown in Figure 2.
The enclosure has a hinged cover with a latch. Open the cover by pulling slightly on the latch on the right side of the enclosure, at the same time pulling on the cover, as illustrated in Figure 3.
A 1/2″ NPT threaded connection hole is provided in the bottom of the enclosure. Screw the EMT connector or cable gland connector in until tight. See Figure 4. It is recommended that weatherproof conduit or cable gland fittings be used. An optional 1/2″ NPT to M16 thread adapter and cable gland fitting is available.
Make wiring connections as per the “Wiring” illustrations on Page 2.
Swing door closed until securely latched. For added security, 2 screws are provided that may be installed in the integrated screw tabs. See Figure 5.


WIRING
- Deactivate the 24 Vac/dc power supply until all connections are made to the device to prevent equipment damage.
- Use 14-22 AWG shielded wiring for all connections and do not locate the device wires in the same conduit with wiring used to supply inductive loads such as motors. Make all connections in accordance with national and local codes.
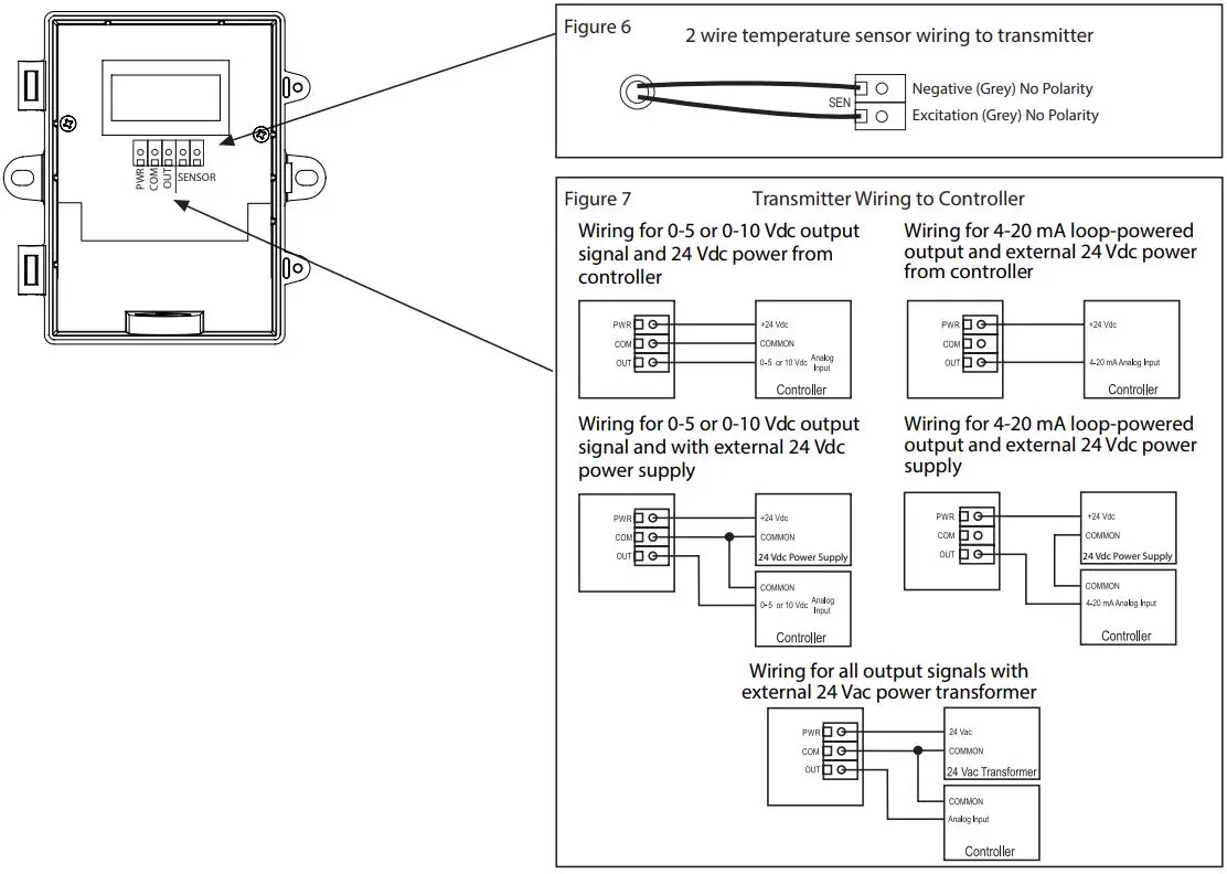
- The temperature transmitter comes with the temperature sensor pre-wired to the transmitter board. If removal is required for installation then it may be re-wired as shown in Figure 6.
- Pull at least six inches of control wire into the enclosure, then complete the wiring connection according to the wire diagram for the applicable power supply and output signal type as shown in Figure 7.
- Connect the DC positive or the AC voltage hot side to the PWR terminal. For voltage output or AC power, the supply Common is connected to the COM terminal. The device is reverse voltage protected and will not operate if connected backwards. It has a half-wave power supply so the supply Common is the same as the signal Common. See Figure 7.
- The analog output is available on the OUT terminal. Check the controller Analog Input to determine the proper connection before applying power as shown in Figure 7.
- Once all connections are made and checked, power can be applied.

SPECIFICATIONS
- Sensor Type:……………………………………1000 ohm platinum RTD
- Sensor Accuracy:…………………………..±0.3°C (±0.94°F) @ 0°C (32°F)
- Wire Material:…………………………………PVC insulated, parallel bonded, 22 AWG
- Probe Sensing Range:………………….-40 to 100°C (-40 to 212°F)
- Probe Material:………………………………Machined aluminum heat sink
- Probe Dimensions:……………………….38.1mm x 12.7mm (1.5” x 0.5”)
- Output Signal:……………………………….4-20 mA current loop, 0-5 vdc, or 0-10 vdc (factory configured)
- Transmitter Accuracy:………………….±0.2% of span, including linearity
- Power Supply:………………………………..15 to 30 Vdc, 12 to 28 Vac
- Consumption (max):……………………20 mA for current, 11 mA for voltage
- Protection Circuitry:……………………..Reverse voltage protected and output limited
- Output Drive @ 24 Vdc:……………….Current: 700 Ω max for output,Voltage: 20K Ω min for output
- LCD Display Units:…………………………°C or °F (factory configured)
- Display Range:……………………………….3 digit for -88.8 to 888 as required
- Display Size:……………………………………38.1mm W x 16.5 mm H (1.5″ to 0.65″)
- Digit Height:…………………………………..11.4 mm (0.45″) plus °C/°F symbol
- Ambient Operating Range:………..0 to 50°C (32 to 122°F), 0-95 %RH
- Enclosure:………………………………………..Grey polycarbonate UL94-V0, IP65 (NEMA 4X)
- Optional thread adapter (1/2″ NPT to M16) and cable gland fitting
- Wiring Connections:…………………….Screw terminal block (14 to 22 AWG)
- Country of Origin:…………………………Canada
DIMENSIONS

Copyright © Greystone Energy Systems, Inc. All Rights Reserved Phone: +1 506 853 3057 Web: www.greystoneenergy.com
