Contents
Godox KNOWLED Full Color LED Light

Product Information
Specifications:
- Model: 12
- Product Code Number: 3
- Warranty Period: 12 months
- Service Type: Customer sends the product to designated site
Product Usage Instructions
Warranty:
Fill in the warranty card with seller information and safe-keep it for maintenance service.
Applicable Products:
This document applies to products listed on the Product Maintenance Information. Other accessories are not covered.
How to Get Maintenance Service:
Contact the product distributor or authorized service institutions. Provide a valid warranty card for service.
Inapplicable Cases:
Refer to the Maintenance and Service Support Information for details on warranty period and service types.
FAQ
- Q: How long is the warranty period?
- A: The warranty period is 12 months from the purchase date.
- Q: How do I get maintenance service?
- A: Contact the product distributor, authorized service institutions, or Godox after-sale service call with a valid warranty card.
Important Safety Instructions and Precautions
First of all, as the most basic principle: This product is a professional lighting set equipment and should be used by professional lighting engineers or under the guidance of professionals. Basic safety precautions must always be followed during use, as follows:
- The product manual must be read and understood before use.
- Professional lighting is prohibited for children. When children are near, parents or accompanying persons must supervise closely to prevent children from personal injury due to collision with lamps or private use of lamps.
- This lighting product is not ordinary lighting product and cannot be used for general lighting. Anyone who has suffered eye damage or has sensitive eyes should avoid using this product.
- When the lamp is on, it must be used with care. Do not touch high-temperature parts, such as LED lamp beads, to avoid burns.
- When the lamp is on, it is forbidden to look directly at the lamp beads under any circumstances. Strong light should be used under the guidance of professional lighting engineers. Avoid prolonged exposure to strong light under any circumstances. If eye discomfort, please turn off the lamp in time, suspend use, and seek medical attention in time.
- If the lamp bead is damaged or deformed by heat, stop using it, and contact the manufacturer, service agent or qualified maintenance personnel to replace the lamp bead in time to avoid accidents.
- This product is only suitable for use in -20°C to 45°C working environment temperature and normal humidity environment.
- Do not use damaged equipment or accessories, and wait for professional maintenance personnel to check and repair to confirm being normal before use.
- During using, if the casing of this product is broken due to being dropped, squeezed or subjected to strong impact, please do not use it, so as to avoid electric shock injury due to contact with internal electronic components.
- If an extension cord is required, please use an extension cord with a current rating greater than or equal to that of the equipment. If an extension cord is rated less than the equipment, overheating may result.
- Some products have long power cords, please place the power cords properly and keep them in a safe place. Avoid contacting the power cord with hot surfaces, avoid misplacement that could cause pulling damage, or trip on-site personnel. Please use the certified power cord from the original manufacturer. If the product is damaged by using a non-certified power cord, it will not be repaired by our factory.
- Be sure to unplug equipment from the power outlet before cleaning and repairing. When not in use, do not pull the power cord to unplug the equipment. For normal power-off, please hold both ends of the plug of the equipment with your hands and pull the plug out of power outlet. This equipment needs to be connected to a grounded outlet.
- Do not disassemble the product without permission. If the product fails, it must be checked and repaired by authorized maintenance personnel.
- Before storing, make sure that the equipment has cooled down completely. For storage, unplug the power cord from the equipment. The equipment should be placed in the carrying case or in a ventilated dry place.
- Do not place equipment near flammable and volatile solvents such as alcohol and gasoline.
- Do not use accessories that are not recommended by our factory to avoid fire, electric shock or personal injury.
- When cleaning, do not wipe it with a damp cloth, please use a dry cloth or a soft cloth to wipe the dirt of the equipment.
- Please take off the protective cover before using.
- This product has passed ROHS, CE and FCC certification, please refer to the relevant national standards for use and operation.
- The safety instructions are formulated according to the strict testing of the factory, and the design and specifications of the equipment are subject to change without prior notice. Customers can view the latest electronic instructions on the official website of GODOX and learn about the latest product information.
- One-year warranty period, accessories such as consumable batteries, adapters, power cords, etc. are not covered by this warranty.
- If it is found that the equipment is repaired without authorization, the one-year warranty period will be canceled and relevant fees will be charged for maintenance.
- Machine failures caused by non-standard operation are not covered by the warranty.
Foreword
Thank you for purchasing a Godox product.
The Godox M600R LED video light is a powerful lighting solution with a maximum output power of 700W. It features a full-color LED light source, allowing adJustable CCT and brightness to create the desired atmosphere according to different themes. The light beads are high-brightness and high-definition, supporting thousand-bit brightness adjustments. The separation of the light body and power adapter, along with its I P54 waterproof and dust proof rating and variouswireless control options, make it suitable for both indoor and outdoor environments. The M6D0R is specifically designed to provide reliable lighting for small-scale advertising, microfilm shooting, outdoor recording, and other similar scenarios.
Main Features
- 700W strong output power.
- Thousand-bit adjustable brightness from 0% to 100%.
- Wide CCT range is adJustable from 7800-lO000K.
- Super high CRI: CRl>96 TLCl>96
- Four dimming curves: linear, S-curve, exponential, logarithmic.
- Multiple control methods: control box, wired OMX, wireless OMX, Bluetooth, Ethernet.
- Both the lamp head and controller have an IP54 protection rating, suitable for all-weather operation.
- Low lamp head temperature, excellent colour stability, and long lifespan.
- 14 lighting modes available, fulfilling most basic special effect requirements.
Warnings
- Do not look directly at the LED light or illuminate at others’ eyes .
- Do not plug or unplug the power cable or connecting cable when the power is turned on, otherwise personal injuries may occur.
- Do not cover the heat dissipation vent in working status.
- Keep out of reach of children .
- Please make sure to follow the instruction manual and correctly use this professional lighting device.
Name of Parts
Light Body
- Handle
- Direction Adjustment Handle
- Lanyard Attachment
- Yoke
- Mount Locking Pusher
- Bowens Mount
- Quick Installation Device
- ACC (Accessory Serial Port)
- DC Input Port 70.28mm Support Pole

Controller
- Power Switch
- Remove Controller Port
- DC Output Port
- Adjust Dial
- LED Status Indicator
- MODE Button
- MENU Button
- LOCK Button
- PRESET Button
- Display
- DMX OUT Port
- DMX IN Port
- USB-A Port
- AC Input Port
- DC Input Port
- LAN Port

What’s Inside 

Note: Due to continuous updates and upgrades of the products, there may be differences between the actual products and the pictures. Therefore, the pictures are for reference only, products to prevail in kind.
Installation and Disassembly
- installing the Yoke
- Place the light on a flat surface with the heat dissipation side facing up, the four legs of the light facing downwards, and the lightemitting surface facing towards you.
- Hold down the quick installation device button on the light body and open the wrench.

- For installing the yoke, ensure that the direction adjustment handle is on the right side. Hold the yoke at both ends with both hands, align it with the quick installation device, and insert it from bottom to top. Then, tighten the wrenches on both sides. You will hear a “click” sound, indicating that the installation is complete.

- Install the light onto the roller stand and tighten the fixing knob of the roller stand.
Note: The roller stand is not included in the standard package and needs to be purchased separately
Due to its large weight please handle the installation with care to avoid personal injury.
- Removing the Yoke
- Hold the yoke of the light and remove it from the roller stand, placing it on a flat surface.

- Press the quick installation device button and open the wrench to remove the yoke.

- Hold the yoke of the light and remove it from the roller stand, placing it on a flat surface.
- Installing/Removing the Light Protection Cover
- Align the light protection cover with the lamp head socket and rotate it clockwise to install it.

- Press the mount locking pusher and rotate it counterclockwise to remove the light protection cover.

- Align the light protection cover with the lamp head socket and rotate it clockwise to install it.
- Installing/Removing the Reflector
- Align the reflector with the lamp head mount and insert it, then rotate it clockwise to install it securely.

- Hold the mount locking pusher and rotate it counterclockwise to remove the reflector.
Note: Please ensure proper alignment when inserting into the mount
- Align the reflector with the lamp head mount and insert it, then rotate it clockwise to install it securely.
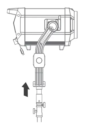
- Mounting the Controller to the Light Stand
- Loosen the handle of the pipe clamp, insert it into the light stand pole, and rotate the handle clockwise to lock the pipe clamp securely. Finally, align the controller’s quick installation device with the slot on the pipe clamp and insert it.
Connect to DMX Controller
Wireless DMX Connection
Wired DMX Connection
Power Switch
To power on or power off the device, simply press and hold the controller’s power button.
CCTMode
Briefly press the MODE button to switch to CCT mode. Briefly rotate the adjust dial to select CCT mode and press it to enter CCT mode interface.
Rotate the select dial to adJust brightness/CCT/ magenta-green adjustment. Press the adjust dial briefly to enter a specific setting. Rotate the dial counterclockwise to decrease the parameter value and clockwise to increase the parameter value.
- Brightness: 0%~ 100% (in increments of 0.1 %) CCT: l SOOK~ 1 OOOOK (in increments of 1 OOK) Magenta-green: -100%~ 100% (in increments of 1%)

HSI Mode
Press the MODE button briefly to enter the mode selection interface. Rotate the adjust dial to select the HSI Mode, and press the select dial briefly to enter the HSI Mode.
Rotating the adjust dial allows you to adjust brightness/hue/saturation. Press the adjust dial briefly to enter a specific setting. Turn the dial counterclockwise to decrease the parameter value and clockwise to increase the parameter value.
- Brightness: 0%~ l 00% (in increments of 0.1 %) Hue: 0″~360″ (in increments of l”)
- Saturation: 0%~ 100% (in increments of 7%)

RGBWMode
Press the MODE button briefly to enter the mode selection interface. Rotate the adjust dial to select RGBW, and press the adjust dial briefly to enter the RGBW Mode.
Rotating the adjust dial allows you to adjust brightness/red/green/blue/white color. Press the adjust dial briefly to enter a specific setting. Turn the dial counterclockwise to decrease the parameter value and clockwise to increase the parameter value.
- Brightness: 0%~ 100% (in increments of 0.1%) Red: 0%~100% (in increments of 0.1%)
- Green: 0%~ 100% (in increments of 0.1 %)
- Blue: 0%~ 100% (in increments of 0.7%)
- White: 0%~ 700% (in increments of 0.7%)
GEL Mode
Press the MODE button briefly to enter the mode selection interface. Rotate the adjust dial to select the GEL Mode, and press the adJust dial briefly to enter the GEL Mode.
Rotating the adjust dial allows you to adjust brightness/gel type/gel group type/color selection/CCT/hue/saturation. Press the adjust dial briefly to enter a specific setting. Turn the dial counterclockwise to decrease the parameter value and clockwise to increase the parameter value.
- Brightness: 0%~ 100% (in increments of 0.1%) Gel Type: ROSCO/LEE
- Gel Group Type: Color Correction/CalColor/ Storaro Selection/Cinelux (ROSCO)
- Color Correction/Color Filters/600 Series/ Cosmetic Filters/700 Series(LEE)
- Color Temperature: 3200K or 5600K
- Hue: -10°~+ 10· (in increments of 7 °) Saturation: -20%~+20% (in increments of l %)
X-V Mode
Press the MODE button briefly to enter the mode selection interface. Rotate the adjust dial to select the X-Y Mode, and press the adjust dial briefly to enter the X-Y Mode. Rotating the adjust dial allows you to adjust brightness/X-coordinate/Y-coordinate/color temperature or color space. Press the adjust dial briefly to enter a specific setting and then rotate the adjust dial to adjust the parameter. Brightness: 0%~ 100% (in increments of 0.1 %)
- X- coordinate: 0.0000~0.8000
- Y- coordinate: 0.0000~0.8000
- Color Temperature or Color Space: Gamut, REC.2020, DCI-P3, Rec.709, Black Body
FXMode
Press the MODE button briefly to enter the mode selection interface. Rotate the adjust dial to select the FX Mode, and press the adjust dial briefly to enter the FX Mode.
Rotating the adjust dial allows you to select from the following light effects: flash/ lightning/ cloudy/broken bulb/TV/candle/firework/explosion/welding/police car/SOS/RGB cycle/party. Press the adjust dial briefly to enter a specific setting.
Flash 
This light effect simulates the flash of a strobe light or a traditional magnesium light, often used to create a lively and dynamic atmosphere.
Rotate the adjust dial to select a specific setting. Press the adjust dial briefly to select an option and then adjust the parameter by rotating the dial as needed.
- Brightness: 0%~ l 00% (in increments of 0.1 %)
- On/Off: Turn the light on or off
- Type: CCT/HSI
- CCT/Hue: lSOOK-lOOOOK/0-360°
- Trigger: Manual/Auto
- Speed: 7-700
- Mode: Flash/Magnesium Light
- Note: If you select Manual mode, press the select dial briefly once to trigger the flash light effect
Lightning
This light effect simulates the lightning of thunder, often used to create a tense, terrifying, or mysterious atmosphere. Rotate the adjust dial to select a specific setting. Press the adjust dial briefly to select an option and then adjust the parameter by rotating the dial as needed.
- Brightness: 0%~ 700% (in increments of 0.7%)
- On/Off: Turn the light on or off
- CCT: lBOOK-lOOOOK
- Trigger: Manual/Auto
- Flashes: Random/7-7 O
- Frequency: Random/2-20
- Note: If you select Manual mode, press the adjust dial briefly once to trigger the lightning effect
Cloudy
This light effect simulates the obstructive effect of clouds and is often used to create a gloomy, oppressive, or sad atmosphere. Rotate the adjust dial to select a specific setting. Press the adjust dial briefly to select an option and then adjust the parameter by rotating the dial as needed.
- Brightness: 0%~ 100% (in increments of 0.1%)
- On/Off: Turn the light on or off
- Brightness Ratio: 30%-90%
- Speed: Random/7-100
Broken Bulb
This light effect simulates a flash from a broken bulb and is often used to create a dim, yellowish atmosphere. Rotate the adjust dial to select a specific setting. Press the adjust dial briefly to select an option and then adjust the parameter by rotating the dial as needed.
- Brightness: 0%~ 100% (in increments of 0.1 %)
- On/Off: Turn the light on or off
- Type: CCT/HSI
- CCT/Hue: lBOOK-lOOOOK/0-360°
- Speed: 7-700
TV
This light effect simulates the lighting effect of a TV or screen and is often used to create a cold, mechanical, or digitized atmosphere. Rotate the adjust dial to select a specific setting. Press the adjust dial briefly to select an option and then adjust the parameter by rotating the dial as needed.
- Brightness: 0%~ 100% (in increments of 0.1%)
- On/Off: Turn the light on or off
- Type: CCT/HSI
- Speed: 1-100
Candle 
This light effect simulates the lighting effect of a candle and is often used to create a soft, warm, and flickering atmosphere. Rotate the adjust dial to select a specific setting. Press the adjust dial briefly to select an option and then adjust the parameter by rotating the dial as needed.
- Brightness: 0%~ 100% (in increments of 0.1 %)
- On/Off: Turn the light on or off
- Speed: 1-100
Fire
This light effect simulates the lighting effect of a flame and is often used to create a bright, warm, and flickering atmosphere. Rotate the adjust dial to select a specific setting. Press the adjust dial briefly to select an option and then adjust the parameter by rotating the dial as needed.
- Brightness: 0%~ 100% (in increments of 0.1%)
- On/Off: Turn the light on or off
- Speed: 1-100
Firework
This light effect simulates the lighting effect of firework and is often used to create a colorful, romantic, and dazzling atmosphere. Rotate the adjust dial to select a specific setting. Press the adjust dial briefly to enter an option and then adjust the parameter by rotating the dial as needed.
- Brightness: 0%~ 100% (in increments of 0.1%)
- On/Off: Turn the light on or off
- Speed: 1-100
- Embers: 1-100
Explosion
This light effect simulates the lighting effect of an explosion and is often used to create a bright, intense, and flickering atmosphere. Rotate the adjust dial to select a specific setting. Press the adjust dial briefly to select an option and then adjust the parameter by rotating the dial as needed.
- Brightness: 0%~ l 00% (in increments of 0.1 %)
- On/Off: Turn the light on or off
- Color: CCT/HSI
- CCT/Hue: lS00K-lO000K/0-360°
- Trigger: Manual/Auto
- Embers: 7-700
- Speed: 7-700
- Note: To activate the explosion light effect when set to manual mode, press the select dial once briefly.
Welding
This light effect simulates the lighting effect of welding and is often used to create a hot and mechanical atmosphere. Rotate the adjust dial to select a specific setting. Press the adjust dial briefly to select an option and then adjust the parameter by rotating the dial as needed.
- Brightness: 0%~ 700% (in increments of 0.1%)
- On/Off: Turn the light on or off
- Type: CCT/HSI
- CCT/Hue: lS00K-lO000K/0-360°
- Speed: 1-100
Police Car
This lighting effect simulates the flashing lights of a police car and is commonly used to create a tense, chasing, or suspenseful atmosphere. Rotate the adjust dial to select a specific setting. Press the adjust dial briefly to select an option and then adjust the parameter by rotating the dial as needed.
- Brightness: 0% to 100% (in increments of 0.1%)
- On/Off: Turn the light on or off
- Colors: Red+Blue, Red, Blue, White+Blue, Yellow+Blue, Yellow, Red+Blue+White, Red+Yellow+Blue
- Modes: 1-5
SOS SQS
This lighting effect simulates the flashing of an SOS distress signal and is commonly used to create a dangerous, distressing, or emergency atmosphere. Rotate the adjust dial to select a specific setting. Press the adjust dial briefly to select an option and then adjust the parameter by rotating the dial as needed.
- Brightness: 0% to 100% (in increments of 0.1%}
- On/Off: Turn the light on or off
- Type: CCT/HSI
- Color Temperature/Hue: lBOOK-lOOOOK/0-360°
RGB Cycle
This lighting effect simulates the cycle and variation of colored light effects, and is commonly used to create a dreamy, sci-fl atmosphere. Rotate the adjust dial to select a specific setting. Press the adjust dial briefly to select an option and then adjust the parameter by rotating the dial as needed.
- Brightness: 0% to 100% (in increments of 0.1%)
- On/Off: Turn the light on or off
- Saturation: 0% to 100% (in increments of 1 %)
- Speed: 1-100
Party
This lighting effect simulates the effects of colorful lights, flash lights, and lasers, and is commonly used to create a festive.joyful, high-energy atmosphere. Rotate the adjust dial to select a specific setting. Press the adjust dial briefly to select an option and then adjust the parameter by rotating the dial as needed.
- Brightness: 0% to 100% (in increments of 0.1%)
- On/Off: Turn the light on or off
- Saturation: 0% to 100% (in increments of 1 %)
- Speed: 1-100
Menu Settings
Press the MENU button briefly to enter the menu settings. Rotate the adjust dial to choose from OMX, CRMX, Bluetooth, Network Settings, Art-Net & sACN, Dimming Curve, Control Mode, Color Space, Fan, Display, Language, Version & Upgrade, Factory Reset, and Fixture Info.
DMX
Press the adjust dial briefly to enter the OMX settings interface. Rotate the dial to choose from Address/OMX Mode/ROM State/OMX Lost / Termination /Extended OMX Channel. Press the dial briefly to enter the option settings, and adjust the settings by rotating the dial as needed. 
| Level 1 Option | Level 2 Option | Description |
| Address | 001-512 | Initial Address |
| OMX Mode | 01:CCT 8 Bit | CCT 8 bit |
| 02:HSI 8 Bit | HSI 8 bit | |
| 03:RGB 8 Bit | RGB 8 bit | |
| 04: RGBW 8 Bit | RGBW8 bit | |
| 05: RGBWW 8 Bit | RGBWW8bit | |
| 06: CCT+HSI 8 Bit | CCT+HSI 8 bit | |
| 07:CCT+RGBW 8 Bit | CCT+RGBW8 bit | |
| 08: FX 8 Bit | FX8 bit | |
| 09:GEL 8 Bit | GEL 8 bit | |
| 10:CCT 16 Bit | CCT 16 bit | |
| 11:HSI 16 Bit | HSI 16bit | |
| 12:RGB 16 Bit | RGB 16 bit | |
| 13:RGBW 16 Bit | RGBW 16 bit | |
| 14:X-Y 16 Bit | X-Y 16 bit | |
| 15:FX 16 Bit | FX 16 bit | |
| 16:GEL 168it | GEL 16bit | |
| ROM State | On | Turn on ROM, the ADD and OMX mode can be set by controller. |
| Off | Turn off ROM | |
| OMX Lost | Hold Last Command | After the OMX control signal is lost, continue to use the last received
OMX control signal until power down or a valid OMX control signal is received again |
| Black Out | The light is off immediately. | |
| Black Out After 2 Min | After the OMX control signal is lost, continue to use the last received OMX control signal for 2 minutes then black out
Note: If a valid OMX control signal is received within 2 minutes, then use the new OMX control signal. |
|
| Termination | On | Turn on OMX terminal |
| Off | Turn off OMX terminal | |
| Extend OMX
Channels |
On | Turn on extend OMX channels |
| Off | Turn off extend OMX channels |
CRMX
Press the adjust dial briefly to enter the CRMX settings interface. Rotate the dial to choose from CRMX On/Off, Mode, Transmit Power, and Reset. Press the dial briefly to enter a specific setting. Once the settings are complete, press the MENU button briefly to return to the previous level.
- Reset: Press the adjust dial briefly to enter the reset interface, then press the dial briefly to reset.
- CRMX: On/Off
- Mode: Transmit/Receive Mode
- Transmit Power: 5dbm, 11 dbm, 16dbm, 2Ddbm
Bluetooth
Press the adjust dial briefly to enter the Bluetooth settings interface. Rotate the dial to choose from Bluetooth On/Off and Bluetooth Reset, then press the dial briefly to enter a specific setting. Once the settings are complete, press the MENU button briefly to return to the previous level.
Bluetooth On/Off: AdJust the setting by rotating the adjust dial.
Bluetooth Reset Press the dial briefly, then press it again to confirm the reset.
Bluetooth MAC Address: Located in the lower left corner of the interface, making it easy to find the Bluetooth of the fixture.
Download”GODDX Light”App
Scan the OR code to download the “Godox Light” smartphone App (can be used in Android and iOS).
Note:
- The App can be used directly on the firstly installed device (smartphone or laptop). When change to other mobile device (smartphone or iPad), the light shall be reset before the normal connection of the app.
- The app version should be 3.0 or above.
Network Settings
Press the adjust dial briefly to enter network settings interface. Press the adjust dial briefly to select network mode, then rotate to select among DHCP, Art-Net 2.x, Art-Net l O.x and manual. Finally, press the MENU button briefly to return to the previous menu.
| Level l Option | Level 2 Option | Description |
| Network Mode | DHCP | DHCP mode |
| Art-Net2x | To use 2.B.C.D network | |
| Art-Net 10.x | To use l O.B.C.D network | |
| Manual | Set the network IP, subnet mask, and default gateway manually | |
| IP | AAA.BBB.CCC.ODD | The ID address is assigned by DHCP in DHCP mode. |
| The ID address is 2 BCD in Art-Net 2.x mode | ||
| The IDaddress is 10.B.C.D in Art-Net 10.x mode | ||
| In manual mode | ||
| AAA=0-255 | ||
| BBB=0-255 | ||
| CCC=0-255 | ||
| DDD:Q-255 | ||
| Subnet Mask | 255.BBB.CCC.DDD | The subnet mask is 255.BBB.CCC.DDD and can not be adjusted by |
| menu settings in DHCP/Art-Net 2 x/Art-Net 10.x mode | ||
| In manual mode: | ||
| AAA:Q-255 | ||
| BBB:Q-255 | ||
| CCC=0-255 | ||
| DDD=0-255 | ||
| Default | AAA.BBB.CCC.ODD | The default gateway is assigned by OHCP in DHCP mode |
| Gateway | The default gateway is 2.B.C.D in Art-Net 2.x mode. | |
| The default gateway isl O.B.C.D in Art-Net l O.x mode | ||
| In manual mode: | ||
| AAA=0-255 | ||
| BBB=0-255 | ||
| CCC=0-255 | ||
| DDD=0-255 |
Art-Net & sACN
Press the adjust dial briefly to enter Art-Net & sACN setting interface. Rotate the adjust dial to select options among Art-Net&sACN, Art-Net Net, Art-Net Sub-Net, Art-Net Port, Art-Net Universe and sACN Universe, then press the adjust dial briefly to enter a specific setting. Once the settings are complete, press the MENU button briefly to return to the previous menu.
| Levell Option | Level 2 Option | Description |
| Art-Net&sACN | Auto/Art-Net/sACN/Off | Auto: Art-Net & sACN two protocols are accepted Art-Net: Only Art-Net protocol
sACN: Only sACN protocol Off: No network protocols are accepted |
| Art-Net Net | 0-127 | Art-Net network |
| Art-Net Sub-Net | 0-15 | Choose Art-Net subnet in Art-Net network |
| Art-Net Port | 0-15 | Art-Net port |
| Art-Net Universe | 0…32767 | Art-Net universe |
| sACN Universe | 1…63999 | sACN universe |
Dimming Curves
Press the adjust dial briefly to enter dimming curves setting interface. Rotate and press the adjust dial briefly to choose among linear, S-curve, exponential and logarithmic. Once the settings are complete, press the MENU button briefly to return to the previous menu.
Control Mode
Press the adjust dial briefly to enter the control mode. Press the adJust dial briefly select the mode, rotate the adjust dial to choose the corresponding mode. Once the settings are complete, press the MENU button briefly to return to the previous menu.
- Modes: Normal
- Frequency: l-70.
Color Space
Press the adjust dial briefly to enter the color space. Press the adjust dial briefly select the color space, rotate the adjust dial to choose the corresponding color space. Once the settings are complete, press the MENU button briefly to return to the previous menu.
Color Space: Original Gamut, Rec.2020, DCI-P3, and Rec. 709.
Fan
Press the adjust dial briefly to enter fan setting interface. Rotate the adjust dial briefly to choose among silent, auto, medium speed and high speed. Once the settings are complete, press the MENU button briefly to return to the previous menu.
Display
Press the adjust dial to enter display setting interface. Rotate and press the adjust dial briefly to adjust display brightness from 10% to 100%. Once the settings are complete, press the MENU button briefly to return to the previous menu.
Language
Press the adjust dial to enter language setting interface. Rotate and press the adjust dial briefly to select between Chinese and English. Once the settings are complete, press the MENU button briefly to return to the previous menu.
Version & Upgrade
Press the adjust dial to enter version & upgrade setting interface to check the firmware version and upgrade instructions. Then, press the MENU button briefly to return to the previous menu.
Software Upgrade
- Download the new firmware to the U disk from official website (https://www.godox.com.cn/ firmware-continuous-light).
- Turn off the device. Insert the U disk with new firmware into the USB Type-A port.
- Turn on the device, and it will automatically enter the upgrading interface.
- It will return to the main interface upon completion.
Notes:
- New firmware must be downloaded from the official website, and keep only one BIN file in the root directory of the USB disk.
- The USB Type-A port can only support output voltage and current of 5V/l .5A. Do not connect to over-rated USB device
Factory Reset
Press the adjust dial briefly to enter factory reset setting interface. Rotate and press the adjust dial briefly to select yes or no, then press the adjust dial to confirm the selection. Once the factory reset is confirmed, the light will restart, and the interface will automatically display options for Simplified Chinese and English. Rotate the adjust dial to select a desired option, then press the dial to confirm the selection. At this point, the brightness value will automatically be set to l 00%, and the interface will switch to the CCT mode.
Fixture Info
Press the adjust dial briefly to enter fixture info setting interface to check model, UID NO., firmware version, light head temp., etc. Then, press the MENU button briefly to return to the previous menu.
Lock Setting
Press the LOCK button briefly, the panel will be locked when <
> is displayed on the panel, press the button briefly again to unlock the panel.
Note: The locking function only works on the controller paneL other operations are still available.
Preset Setting
Press the PRESET button briefly to enter preset effects interface. Rotate and press the adjust dial briefly to choose and enter preset effects 1-20, then press briefly to choose apply/delete/ save/cancel. Once the settings are complete, press the adjust dial briefly to return to the previous menu and press the PRESET button briefly to exit.
Maintenance
This product, except consumables, is supported with a one-year warranty. Unauthorized service will void the warranty. Maintenance of the light must be performed by our authorized maintenance department which can provide original accessories. If the product had failures or got wet, do not use it until it is repaired by professionals. Shut down the device immediately should abnormal operation be detected.
Photometric Data
Technical Data
| Model | M600R |
| Power Supply | 100V-240V~50/60Hz |
| Input Power | •720W |
| CCT | 1800-l0000K |
| GM Adjustment | -100%~100% |
| Brightness Range | 0% -100% |
| Dimming Curves | linear, S-curve, exponential, logarithmic |
| CRI | Average:?:96 |
| TLCI | Average:::96 |
| Controlling Methods | DMX 512 Control(support RDM protocol)/Lumen Radio CRMX/Ethernet (support Art-Net & sACN protocol)/
Bluetooth Control/Light Body Control |
| Bluetooth Controlling Distance | Max. 40m |
| USB Type-A Port | Firmware Upgrade/5V |
| Working Environment Temperature | -20°( ~45°C |
| Dimension(Yoke included) | Light Body: 12.48′ x 19.72″ x 13.66′
Controller 7.44″ x 6.54″ x 13.15″ |
| Netweight::: | Light Body(lncluding yoke and reflector): l 0kg Controller 6kg |
FCC Statement
This device complies with part 15 of the FCC Rules. Operation is subject to the following two conditions:
- This device may not cause harmful interference, and
- this device must accept any interference received, including interference that may cause undesired operation.
Any Changes or modifications not expressly approved by the party responsible for compliance could void the user’s authority to operate the equipment.
Note: This equipment has been tested and found to comply with the limits for a Class B digital device, pursuant to part 15 of the FCC Rules. These limits are designed to provide reasonable protection against harmful interference in a residential installation. This equipment generates uses and can radiate radio frequency energy and, if not installed and used in accordance with the instructions, may cause harmful interference to radio communications. However, there is no guarantee that interference will not occur in a particular installation. If this equipment does cause harmful interference to radio or television reception, which can be determined by turning the equipment off and on, the user is encouraged to try to correct the interference by one or more of the following measures:
- Reorient or relocate the receiving antenna.
- Increase the separation between the equipment and receiver.
- Connect the equipment into an outlet on a circuit different from that to which the receiver is connected.
- Consult the dealer or an experienced radio/TV technician for help.
The device has been evaluated to meet general RF exposure requirement. The device can be used in portable exposure condition without restriction.
Warning
- Operating frequency:2402MHz – 2480MHz BT
- Maximum EIRP Power: 5dBm
Declaration of Conformity
GODOX Photo Equipment Co.,Ltd. hereby declares that this equipment are in compliance with the essential requirements and other relevant provisions of Directive 2014/53/EU. In accordance with Article 10(2) and Article 10(10), this product is allowed to be used in all EU member states.For more information of DoC, Please click this web link:
The device complies with RF specifications when the device used at 0mm from your body.
Applicable Products
Applicable ProductsThe document applies to the products listed on the Product Maintenance lnformation (see below for further information). Other products or accessories (e.g. promotional items,giveaways and additional accessories attached,etc.) are not included in this warranty scope.
Warranty Period
The warranty period of products and accessories isimplemented according to the relevant Product Maintenance Information. The warranty period is calculated from the day(purchase date) when the product is bought for the first time,And the purchase date is considered as the date registered onthe warranty card when buying the product.
How to Get the Maintenance Service
If maintenance service is needed, you can directly contact the product distributor or authorized service institutions. You can also contact the Godox after-sale service call and we will offer you service. When applying for maintenance service, you should provide valid warranty card. If you cannot provide valid warranty card, we may offer you maintenance service once confirmed that the product or accessory is involved in the maintenance scope, but that shall not be considered as our obligation.
Inapplicable Cases
The guarantee and service offered by this document are not applicable in the following cases: ① The product or accessory has expired its warranty period; ② Breakage or damage caused by inappropriate usage, maintenance or preservation, such as improper packing, improper usage, improper plugging in/out external equipment, falling off or squeezing by external force, contacting or exposing to the improper temperature, solvent, acid, base, flooding and damp environments, etc; ③ Breakage or damage caused by non-authorized institution or staff in the process of installation, maintenance, alternation, addition and detachment; ④ The original identifying information of product or accessory is modified, alternated, or removed; ⑤ No valid warranty card; ⑥ Breakage or damage caused by using illegally authorized, nonstandard or non-public released software; ⑦ Breakage or damage caused by force majeure or accident; ⑧ Breakage or damage that could not be attributed to the product itself. Once met these situations above, you should seek solutions from the related responsible parties and Godox assumes no responsibility. The damage caused by parts, accessories and software that beyond the warranty period or scope is not included in our maintenance scope. The normal discoloration, abrasion and consumption are not the breakage within the maintenance scope.
Maintenance and Service Support Information
The warranty period and service types of products are implemented according to the following Product Maintenance Information:
| Product Type | Name | Maintenance Period(month) | Warranty Service Type |
|
Parts |
Circuit board |
12 |
Customer sends the product to designated site |
| Battery | 3 | Customer sends the product to designated site | |
|
Electrical parts e.g.battery charger, etc. |
3 |
Customer sends the product to designated site | |
| Other Items | Lamp body, lamp cover, locking device, package, etc. |
No |
Without warranty |
Godox After-sale Service Call +86-755-29609320(8062)
