Contents
fingers Solo Karaoke Portable Speaker

Quick Start Guide
- SoloKaraoke Portable Speaker
Important – Warnings and Safety
- Do not place 1he speaker near hea1 sources such as fire, radiators, stoves and o1her apparatus tha1 produce heat.
- Use only accessories supplied by FINGERS.
- Unplug 1he speaker once it is fully charged, when unused for long periods of time or during lightning/thunderstorms.
- It is recommended to refer all servicing to qualified personnel. Servicing is required when the speaker has been damaged in any way. Any evidence of any attempt to open and/or alter the device, including any scratch, peeling, puncturing, or removal of any of the labels, will void the Limited Warranty.
In the box
- 1 x FINGERS SoloKaraoke
- 1 x Wireless Mic with built-in Battery
- 1 x USB-C Charging Cable
- 1 x AUX Cable
- 1 x Quick Start Guide
- 1 x Brand Note
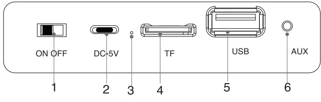
Connections
- On-Off Switch
- Type-C port (DC 5V) for charging
- LED Indicator
- Micros□ Card port
- USB Port
- AUX Mode

| Connection | Function |
| On-Off Switch | For Power On/OFF |
| Type-C port | For Charging |
| LED Indicator |
|
| MicroSD card port | Insert the TF card and then play. |
| USB interface | Insert a USB drive and then play. |
| AUX | Plug in an audio cable |
On-board Controls
- A. Speaker

| Function What to do | |
| 1. Previous TrackNolume Down | |
| Previous Track/ Previous FM Channel | Short Press |
| Volume Decrease | Long Press |
| 2. Next TrackNolume Up | |
| Next Track/Next FM Channel | Short Press |
| Volume Increase | Long Press |
| 3. LEO Button | |
| Several lighting modes of the RGB lights will be switched step by step. In modes of Bluetooth/USB/TF/AUX, short press the button to navigate across different RGB effects. While in FM mode, the RGB lights will not light up. | Short Press |
| 4. Mode | |
| To switch between Bluetooth, USB, TF card, & AUX modes (Note: USB/TF/AUX modes can only be switched when corresponding device is plugged in) | Short Press |
| To disconnect the Bluetooth connection & establish new Bluetooth connection with Bluetooth device | Long Press |
| 5. Play/Pause | |
| Play/Pause Music | Short Press |
| Search I Save FM channels | Long Press in FM Mode |
| BT Disconnect | Long press in BT Mode |
B. Microphones
| Function | What to do | ||
| Mic On-Off | Long Press | ||
| Mic Adjustment U Reverb Adjustment U Accompaniment adjust | Short Press |
|
|
| Music Play/Pause | Double Press | ||
| Next Track/Volume Up | |||
| Volume Increase | Short Press | ||
| Previous Track | Long Press | ||
| Previous Track/Volume Down | |||
| Volume Decrease | Short Press | ||
| Next Track | Long press | ||
| Mic EO Button | |||
| Voice Changeover Effects |
|
||
| Vocal Cut – Eliminate original singing | Long Press | ||
|
Long Press again | ||
| Mic Mute | Double Press | ||
Charging
- a. Speaker
- When on Charging, the LED indicator is in Red.
- When fully charged, the LED indicator gets switched off.
- b. Mic
- When on Charging, the LED indicator is in Red.
- When fully charged, the LED indicator gets switched off.
- Modes
- You can enjoy your music in the following ways
- Bluetooth
- FM Radio
- MicroSD
- USB
- AUX
- BT
- When the device is switched on, it automatically goes to BT mode. If any source is connected (USB, MicroSD or AUX), press
till BT Mode is heard. - Make sure that Bluetooth is enabled on your device.
- Find the device list and select FINGERS Solo Karaoke.
- A sound prompt of “Connected is heard and it is ready to play.
- When the device is switched on, it automatically goes to BT mode. If any source is connected (USB, MicroSD or AUX), press

- FM Radio
- Press on the
button till the voice prompt of the word “FM Mode” is heard. - Long press
to scan the stations automatically. You can again press the same button to stop the scan. - Once FM radio is tuned, you can long press
to select the desired FM channel. - Short press
to mute the FM.
- Press on the
- MicroSD
- Insert the MicroSD card in the provided port.
- You can then play your favourite tracks directly from the MicroSD Card.
- USB
- Insert the USB device (Pen Drive) in the provided port.
- You can then play your favourite tracks directly from the USB.
- AUX
- Insert the AUX external audio cable and the audio system will automatically play back with priority and prompt tone.
- Microphone
- When the speaker and microphone are switched on at the same time, the 2.4 GHz wireless signal is automatically paired.
- At this lime, the user can start using the microphone and can operate the buttons according to their own preferences.
Care and Maintenance
- Switch off the speaker before cleaning It.
- Use soft cloth to clean the surface.
- Do not use any chemicals, solvents, or cleaning solutions containing alcohol, ammonia or abrasives.
- Do not allow any liquid to enter into any of the openings.
Product specifications
- Parameters
- Solo Karaoke
- Wireless Protocol
- Bluetooth v5.3
- Peak Output Power
- aw
- Power Rating
- DC5V/1 A
- Driver unit
- 3″ 40 x 1
- Effective Range
- Wireless range up to 10 m
- Battery
- 1200 mAh / 3.7 V
- Charging Time
- Up to 4 hours
- Playback Time
- Up to 4 hours
- Playback Options Bluetooth®
- USB I MicroSD
- FM Radio’
- AUX
- Microphone
- Мс Type: Wireless Mic
- Connector Diameter: 10 mm
- Condenser Polar
- Pattern: Cardioid Power
- Source: 500 mAh
- Rechargeable Battery
- Battery Backup: Up to 2 hours
- Charging Time: Up to 2 hours,
- Type-C Distance
- Support: 30 m (Line-of-siaht)
- Weight
- Speaker: 400 g
- Microphone: 80 g
- Colours
- Ivory
fingers.co.in Ver. 1.0.0
- ‘For FM Radio operation, USB-C cable needs to be connected as an antenna
- Tested under ideal conditions and in BT playback mode. Playback time may vary depending on usage, playback mode and volume levels.
- Images shown may vary from actual product.
- Specifications, features and appearance are subject to change without notice.
- All logos, brands, trademarks and product names are properties of their respective owners.
- Product warranty is governed by warranty terms mentioned on www.fingers.co.in
- This product falls under e-waste (Management & Handling) Rules, 2011. For proper disposal method, visit our website www.fingers.co.in

