Sleeve Hitch Box Blade
OWNER’S MANUAL
Model # FTF-38BBSH
Contents
WARNING:
Read carefully and understand all ASSEMBLY AND OPERATION INSTRUCTIONS before operating. Failure to follow the safety rules and other basic safety precautions may result in serious personal injury.
Thank you very much for choosing this product! For future reference, please complete the owner’s record below:
Model: _______________ Purchase Date: _______________
Save the receipt, warranty and these instructions. It is important that you read the entire manual to become familiar with this product before you begin using it.
This product is designed for certain applications only. The manufacturer cannot be responsible for issues arising from modification. We strongly recommend this product not be modified and/or used for any application other than that for which it was designed. If you have any questions relative to a particular application, DO NOT use the product until you have first contacted us to determine if it can or should be performed on the product. For technical questions please call 1-218-943-6296.
TECHNICAL SPECIFICATIONS
| Item | Description |
| Material | Steel |
| Working Width | 38 in. |
GENERAL SAFETY RULES
WARNING: Read and understand all instructions. Failure to follow all instructions listed below may result in serious injury.
CAUTION: Do not allow persons to operate or assemble this Sleeve Hitch Box Blade until they have read this manual and have developed a thorough understanding of how the Sleeve Hitch Box Blade works.
WARNING: The warnings, cautions, and instructions discussed in this instruction manual cannot cover all possible conditions or situations that could occur. It must be understood by the operator that common sense and caution are factors which cannot be built into this product, but must be supplied by the operator. SAVE THESE INSTRUCTIONS
WORK AREA
- Keep work area clean, free of clutter and well lit. Cluttered and dark work areas can cause accidents.
- Keep children and bystanders away while operating a Sleeve Hitch Box Blade.
Distractions can cause you to lose control, so visitors should remain at a safe distance from the work area. - Be alert of your surroundings. Using a Sleeve Hitch Box Blade in confined work areas may put you dangerously close to cutting tools and rotating parts.
PERSONAL SAFETY
- Stay alert, watch what you are doing and use common sense when using a Sleeve Hitch Box Blade. Do not use a Sleeve Hitch Box Blade while you are tired or under the influence of drugs, alcohol or medication. A moment of inattention while operating may result in serious personal injury.
- Dress properly. Do not wear loose clothing, dangling objects, or jewelry. Keep your hair, clothing and gloves away from moving parts. Loose clothes, jewelry or long hair can be caught in moving parts.
- Use safety apparel and equipment. Use safety goggles or safety glasses with side shields which comply with current national standards, or when needed, a face shield. Use a dust mask if working in dusty work conditions. This applies to all persons in the work area. Also use non-skid safety shoes, hardhat, heavy-duty work gloves, dust collection systems, and hearing protection when appropriate.
Sleeve Hitch Box Blade USE AND CARE
- Do not modify the Sleeve Hitch Box Blade in any way. Unauthorized modification may impair the function and/or safety and could affect the life of the equipment. There are specific applications for which the Sleeve Hitch Box Blade was designed.
- Always check for damaged or worn out parts before using the Sleeve Hitch Box Blade.
Broken parts will affect the Sleeve Hitch Box Blade operation. Replace or repair damaged or worn parts immediately. - Distribute the load evenly. Uneven loads may cause the Sleeve Hitch Box Blade to tip, resulting in personal injury to the operator or others.
- Use the Sleeve Hitch Box Blade on flat and level surfaces capable of supporting the Sleeve Hitch Box Blade and its maximum load. Pulling or pushing a load on a slanted or uneven surface can result in loss of control.
- Store idle Sleeve Hitch Box Blade. When Sleeve Hitch Box Blade is not in use, store it in a secure place out of the reach of children. Inspect it for good working condition prior to storage and before re-use.
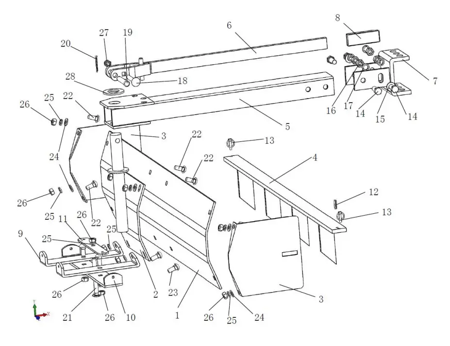
ASSEMBLY
- Install Blade (#1), 2pcs Side Plate (#3) and Scarifier (#4) together with Spring (#12), Linch Pin (#13), 4pcs Carriage Bolt (#22), 4pcs Flat Washer (#24), 4pcs Lock Washer (#25) and 4pcs Nut (#26) as Part A.

- Attach Load Holder (#9) and Load Holder (#10) to Load Pressplate (#11) with Carriage Bolt (#21), 2pcs Carriage Bolt (#22), 3pcs Lock Washer (#25) and 3pcs Nut (#26) as Part B.

- Attach Part A, Part B and Blade Bracket (#2) with 2pcs Carriage Bolt (#22), 2pcs Carriage Bolt (#23), 2pcs Flat Washer (#24), 4pcs Lock Washer (#25) and 4pcs Nut (#26) as Part C.

- Install Lever (#6) and Grip (#8) together as Part D.

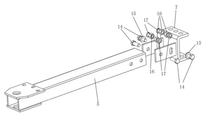
- Install Tow Bar Assembly (#5) and Connector (#7) with 4pcs Bolt (#14), 2pcs Flat Washer (#15), 4pcs Nut (#16) and 4pcs Lock Washer (#17) as Part E.

- Finally attach Part C, Part D and Part E with Carriage Bolt (#18), Axle Pin (#19), Clip (#20), Lock Nut (#27) and Flat Washer (#28) together.

OPERATION
WARNING: Sharp edges on teeth, USE CAUTION.
MAINTENANCE
- Maintain your Sleeve Hitch Box Blade. It is recommended that the general condition of any Sleeve Hitch Box Blade be examined before it is used. Keep your Sleeve Hitch Box Blade in good repair by adopting a program of conscientious repair and maintenance. If any abnormal vibrations or noise occurs, have the problem corrected before further use. Have necessary repairs made by qualified service personnel.
DIAGRAM & PARTS LIST

| Part# | Description | Qty. | Part# | Description | Qty. |
| 1 | Blade | 1 | 15 | Flat Washer 12 | 2 |
| 2 | Blade Bracket | 1 | 16 | Nut M12 | 4 |
| 3 | Side Plate | 2 | 17 | Lock Washer 12 | 4 |
| 4 | Scarifier | 1 | 18 | Carriage Bolt M10’65 | 1 |
| 5 | Tow Bar Assembly | 1 | 19 | Axle Pin 12’60 | 1 |
| 6 | Lever | 1 | 20 | Clip 3.2’25 | 1 |
| 7 | Connector | 1 | 21 | Carriage Bolt M10’200 | 1 |
| 8 | Grip | 1 | 22 | Carriage Bolt M10’25 | 8 |
| 9 | Load Holder (Short) | 2 | 23 | Carriage Bolt M10’30 | 2 |
| 10 | Load Holder (Long) | 1 | 24 | Flat Washer 10 | 6 |
| 11 | Load Pressplate | 1 | 25 | Lock Washer 10 | 11 |
| 12 | Spring Pin 6’25 | 1 | 26 | Nut M10 | 11 |
| 13 | Linch Pin 4.5’45 | 2 | 27 | Lock Nut M10 | 1 |
| 14 | Bolt M12’25 | 4 | 28 | Flat Washer 30 |
No product returns accepted, for replacement parts and technical questions, please call 1-218-943-6296.
WARRANTY
One-year limited parts warranty
PO BOX 203
Miltona, MN 56354
Made in China