EUROfase LIGHTING Dupont 9 3 Light Dimmable Incandescent Chrome Flush

Contents
Thank You
You’ re just purchased a lighting product designed and built to provide you with years of enjoyment.
SAVE THESE INSTRUCTIONS FOR FUTURE REFERENCE
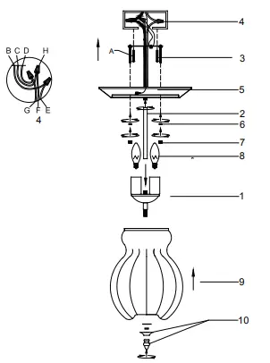
- Follow the assembly instructions by reading the numerical progression.
- Use a qualified electrician for installation of this lighting fixture.
- Before installing fixture disconnect power by turning the circuit breaker or by removing the fuse at the fuse box
- All electrical connections must be in accordance with local and National Electrical Code or Canadian Electrical Code standards.
- Use CSA or UL listed wire connectors suitable for the guage, type and number of conductors.
- Attach junction box grounding wire ( Green or Bare Copper ) and the Bare Copper wire form the Fixture together, If junction box has no ground wire, attach the bare copper Fixture Wire to the Green Ground Screw on the crossbar.
Estimated Assembly Time: 20 minutes Tools Required For Assembly (not included): Flathead screwdriver, Phillips screwdriver, Pliers, Electrical tape and Wire cutters. Helpful Tools (not included): Wire strippers, Ladder

PRODUCT OVERVIEW

3x60W MAX. B10,120V,60Hz (Bulbs not included)
A – Outlet Box screw x 2
B – Black wire(L) from Junction box
C – White wire(N) from junction box
D – Green wire/Bare copper (G) from junction box
E – Black wire from fixture
F – White wire from fixture
G – Green wire/Bare copper form fixture
H – Wire connector x 3