Contents
ETIBREAK 2 Thermal Magnetic Circuit Breaker

Product Information
Product Name: ETIBREAK 2
Model Number: AS10140
Type: EB2 1000LE 3P/4P, EB2 1000E 3P/4P
Product Usage Instructions
- Read all instructions and accompanying documents before mounting, using, servicing, or inspecting the product.
- Pay attention to safety notices provided in the instructions. They are divided into Warning and Caution categories based on the level of potential hazards.
- Mounting Precautions:
- Refer to the TemBreak2 catalogue for detailed mounting dimensions.
- Electrical work should only be performed by qualified individuals.
- Avoid placing the product in areas with high temperature, high humidity, excessive dust, corrosive gas, strong vibration and shock, or other unusual conditions as it may cause fire or malfunction.
- Prevent foreign objects (debris, concrete, iron powder, etc.) and rainwater from entering the product as they can cause fire or malfunction.
- Prior to any work on the product, open an upstream circuit breaker or isolator to ensure no voltage is applied to avoid electrical shock.
- For 4 pole breakers, connect a neutral conductor to the N-phase pole to prevent overcurrent hindering the product from tripping and causing a fire.
- When connecting cable or busbar to the product, tighten terminal screws to the specified torque mentioned in the manual to prevent fire.
- After conductor connection, avoid applying excessive force to the terminals to prevent fire.
- For front-connected breakers, insulate all bare conductors of the line side until the breaker end. If interpole barriers are packed, use them and overlap insulating tape with the barriers to ensure sufficient insulation and prevent short-circuiting.
- Ensure the arc gas vents of the product are not blocked to maintain adequate arc space and prevent circuit interruption failure.
- Handling Precautions:
- Never touch the terminals to avoid electric shock.
- If the breaker trips open automatically, remove the cause and then return the handle to the ON position. Inspect the breaker if a fault is interrupted to prevent fire.
- Maintenance Precautions:
- Service and/or inspection of the product should be done by individuals with expert knowledge.
- Prior to servicing or inspecting the product, open an upstream circuit breaker or similar device to isolate all sources of power and avoid electric shock.
Contact Information:
ETI Elektroelement d.d. Obrezjia 5, 1411 Izlake Slovenia
Tel: +386 (0) 356 57570
Fax: +386 (0) 356 74077
Website: www.etigroup.eu
Please retain this manual for future reference. The Manufacturer assumes no responsibility for damages resulting from non-application Or incorrect application Of the instructions provided herein
ETI Elektroelement d.d. Obrezjia 5, 1411 Izlake Slovenia Tel: +386 (0) 356 57570 Fax: +386 (0) 356 74077 www.etigroup.eu
Safety Notices
Be sure to read these instructions and other documents accompanying this product. Please familiarise yourself with handling of this product, safety information, and all other precautions before mounting, using, servicing or inspection. In these instructions, safety notices are divided into “Warning” and “Caution” according to the hazard level.
WARNING
A warning notice with this symbol indicates that neglecting the suggested procedure or practice could result in lethal or serious personal injury.
CAUTION
- A caution notice with this symbol indicates that neglecting the suggested procedure or practice could result in moderate or slight personal injury and/or property damage.
- Note that failing to observe notices could result in serious results in some cases. Because safety notices contain important information, be sure to read and observe them.
Mounting Precautions
For detailed mounting dimensions, refer to TemBreak2 catalogue
CAUTION
- Electrical work should only be undertaken by suitably qualified persons.
- Do not place the product an an area that is subject to high temperature, high humidity, excessive dust air, corrosive gas, strong vibration and shock, or other unusual conditions. Mounting in such areas could cause a fire or malfunction.
- Be careful to prevent foreign objects (debris, concrete, iron powder etc) and rainwater from entering product. These materials inside the product could cause a fire or malfunction.
- Prior to commencing any work on the product, open an upstream circuit breaker or isolator to ensure that no voltage is applied to the product otherwise electrical shock may result.
- For 4 pole breakers, be sure to connect a neutral conductor to the N-phase pole, otherwise an overcurrent may hinder the product from tripping thus resulting in a fire.
- When connecting cable or busbar to the product, tighten terminal screws to the torque specified in this manual, otherwise, a fire could result.

- After conductor connection, do not apply excessive force to the terminals. Otherwise, a fire may result.
- For front-connected breakers, insulate all bare conductors of the line side until the breaker end. If interpole barriers are packed, be sure to use thebarriers; moreover, insulate all bare conductors by insulting tape or the like so that the tape overlaps with the barriers. Insufficient insulation may result in short-circuit.
- Do not block the arc gas vents of the product to ensure adequate arc space.
- Blocking these vents could result in failure of circuit interruption.
Handling Precautions
WARNING
Never touch terminals. Otherwise, electric shock may result
CAUTION
When the breaker trips open automatically, remove the cause, then return the handle to the ON position. Should a fault be interrupted, the breaker must be inspected, otherwise, a fire may result.
Maintenance Precautions
CAUTION
- Service and/or inspection of the product must be done by persons having expert knowledge.
- Before servicing or inspecting the product, open an upstream circuit breaker or the like to isolate all sources of power. Otherwise, electric shock may result.
- Regularly check that the breaker terminal screws are tightened to torque values shown within this manual, failure to do so may result in fire.
Other Precautions
- Do not carry this product by accessory leads, as this may cause damage to the product.
- Unauthorised opening of the breaker cover will invalidate product warranty.
- When installing the product, use wires or conductors, the cross sectional areas of which accommodate the rated current of the product. Using wires or conductors with inadequate cross sectional areas may cause false tripping and overheat
Packaged Items/Assembly Tools


Operating Instructions

Fitting Internal Accessories

Breaker Mounting Procedure for FC / RC
Breaker Mounting for F.P ( Where Applicable )

Conductor Connection Procedure for FC
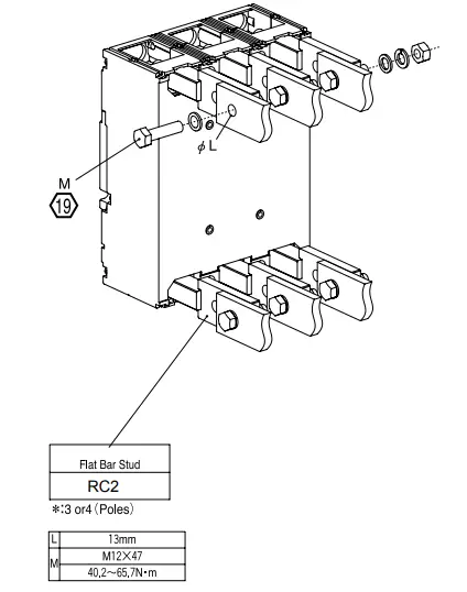
Conductor Connection Procedure for RC / F.P ( Where Applicable )

Interpole Barrier Mounting Procedure
When removing, remove the items in reverse order of mounting.
Terminal Cover Mounting Procedure

When removing, remove the items in reverse order of mounting
Handle Holder / Lock Mounting Procedure

- Handle holder/ lock can be fitted in any position Of (ON) and
- When you use this item as the handle lock, please fit padlocks in the proædure of (3)
- When removing, remove the items in reverse order of mounting
Electronic Type
Time / Current Characteristic Curves
