ESAB Swarm A20 Auto Darkening Welding Helmet User Manual

Home » ESAB » ESAB Swarm A20 Auto Darkening Welding Helmet User Manual

ESAB Swarm A20 Auto Darkening Welding Helmet User Manual
ESAB Swarm A20 Auto Darkening Welding Helmet

Warning Icon WARNING
Read and understand this entire Manual and your employer’s safety practices before installing, operating, or servicing the equipment. While the information contained in this Manual represents the Manufacturer’s best judgment, the Manufacturer assumes no liability for its use.

SWARM A-10 Safety Manual
Manual Number: 0-new
Published by:
ESAB Group Inc.
2800 Airport Rd.
Denton, TX 76208
940-566-2000
www.esab.eu
Copyright 2022 by ESAB. All rights reserved.
Reproduction of this work, in whole or in part, without written permission of the publisher is prohibited. The publisher does not assume and hereby disclaims any liability to any party for any loss or damage caused by any error or omission in this Manual, whether such error results from negligence, accident, or any other cause.
Original Publication Date: 02-16-2022
Revision Date:
Revision Date:
Warning Icon WARNING
Before use, read and understand the instruction manual and follow all labels, employer´s safety practices and Safety Data Sheets (SDS).
Warning Icon WARNING
Only qualified personnel should install, operate, maintain, and repair this unit.
ARC RAYS
ARC RAYS – Can injure eyes and burn skin
The arc, like the sun, emits ultraviolet (UV) and other radiation and can injure skin and eyes. Hot metal can cause burns. Training in the proper use of the processes and equipment is essential to prevent accidents. Therefore:
  1. Wear a welding helmet fitted with a proper shade of filter to protect your face and eyes when welding or watching.
  2. Wear approved safety glasses with side shields under your helmet.
  3. Before welding, adjust the auto-darkening filter lens sensitivity to meet the application. Warn bystanders not to watch the arc and not to expose themselves to the rays of the electric-arc or hot metal.
  4. Wear protective clothing made from durable, flame-resistant material. A flameproof apron may also be desirable as protection against radiated heat and sparks.
  5. Protect other personnel from arc rays and hot sparks with a suitable non-flammable partition or curtains.
  6. Use goggles over safety glasses when chipping slag or grinding. Chipped slag may be hot and can fly far. Bystanders should also wear goggles over safety glasses.
NOISE
NOISE – Excessive noise can damage hearing

Protect your ears. Wear approved ear protection if noise level is high.
FUMES AND GASES
Fumes and gases can cause discomfort or harm, particularly in confined spaces. Shielding gases can cause asphyxiation. Therefore:
  1. Keep your head out of the fumes. Do not breathe the fumes and gases.
  2. Always provide adequate ventilation in the work area by natural or mechanical means. Do not weld, cut or gouge on materials such as galvanized steel, stainless steel, copper, zinc, lead beryllium or cadmium unless positive mechanical ventilation is provided. Do not breathe fumes from these materials.
  3. Do not operate near degreasing and spraying operations. The heat or arc can react with chlorinated hydrocarbon vapors to form phosgene, a highly toxic gas and other irritant gases.
  4. If you develop momentary eye, nose or throat irritation while operating, this is an indication that ventilation is not adequate. Stop work and take necessary steps to improve ventilation in the work area. Do not continue to operate if physical discomfort persists.
  5. Refer to ANSI/ASC Standard Z49.1 for specific ventilation recommendations.

FIRES AND EXPLOSIONS
FIRES AND EXPLOSIONS

Heat from flames and arcs can start fires. Hot slag or sparks can also cause fires and explosions. Therefore:

  1. Protect yourself and others from flying sparks and hot metal.
  2. Remove all combustible materials well away from the work area or cover the materials with a protective non-flammable covering. Combustible materials include wood, cloth, sawdust, liquid and gas fuels, solvents, paints and coatings paper, etc.
  3. Hot sparks or hot metal can fall through cracks or crevices in floors or wall openings and cause a hidden smoldering fire or fires on the floor below. Make certain that such openings are protected from hot sparks and metal.
  4. Do not weld, cut or perform other hot work until the work piece has been completely cleaned so that there are no substances on the work piece which might produce flammable or toxic vapors. Do not do hot work on closed containers, they may explode.
  5. Have fire extinguishing equipment handy for instant use, such as a garden hose, water pail, sand bucket, or portable fire extinguisher. Be sure you are trained in its use.
  6. Do not use equipment beyond its ratings. For example, an overloaded welding cable can overheat and create a fire hazard.
  7. After completing operations, inspect the work area to make certain there are no hot sparks or hot metal which could cause a later fire. Use fire watchers when necessary.

Warning Icon CAUTION!
This product is solely intended for arc welding.

Warning Icon CAUTION!
ADDITIONAL SAFETY INFORMATION
For more information on safe practices for electric arc welding and cutting equipment, ask your supplier for a copy of “Precautions and Safe Practices for Arc Welding, Cutting and Gouging”, Form 52-529.

The following publications are recommended:

  • ANSI/ASC Z49.1 – “S
  • AWS C5.5 – “Recommended Practices for Gas Tungsten Arc Welding”
  • AWS C5.6 – “Recommended Practices for Gas Metal Arc welding”
  • AWS SP – “Safe practices” – Reprint, Welding Handbook
  • ANSI/AWS F4.1 – “Recommended Safe Practices for Welding and Cutting of Containers

That Have Held Hazardous Substances”

  • OSHA 29 CFR 1910 – “Safety and Health Standards”
  • CSA W117.2 – “Code for safety in welding and cutting”
  • NFPA Standard 51B, “Fire Prevention During Welding, Cutting, and Other Hot Work”
  • CGA Standard P-1, “Precautions for Safe Handling of Compressed Gases”
  • ANSI Z87.1- “Occupational and Educational Personal Eye and Face Protection Devices’

Note Icon
Dispose of electronic equipment at the recycling facility!

In observance of European Directive 2002/96/EC on Waste Electrical and Electronic Equipment and its implementation in accordance with national law, electrical and/or electronic equipment that has reached the end of its life must be disposed of at a recycling facility. As the person responsible for the equipment, it is your responsibility to obtain information on approved collection stations. For further information contact the nearest ESAB dealer.
Dustbin Icon

California Proposition 5 Warning 

Warning Icon WARNING!
Welding or cutting equipment produces fumes or gases which contain chemicals known in the State of California to cause birth defects and, in some cases, cancer. (California Health & safety Code Section 25249.5 et s eq.)

Warning Icon WARNING!
This product can expose you to chemicals including lead, which are known to the State of California to cause cancer and birth defects or other reproductive harm. Wash hands after use. For more information, go to www.P65Warnings.ca.gov.

ESAB has an assortment of welding accessories and personal protection equipment for purchase. For ordering information contact your local ESAB dealer or visit us on our website.

SPECIFICATIONS

Viewing Area 93×43mm
Cartridge Size 110×90mm
Arc Sensor 2
UV/IR Protection DIN 13
Light State 4
Dark State External, Variable shade, 9-13
Sensitivity Control Low — High, by infinitely dial knob
Switch Time ≤0.1ms, from Light to Dark
Delay Control 0.1-0.8S, by infinitely dial knob, from Dark to Light
Power Supply Solar cell and replaceable 1×CR2032 lithium battery
TIG AMP Rating DC≥10, AC≥10
Operating Temperature -5°C to +55°C
Storing Temperature -20°C to +70°C
Grind Functions Yes
Low voltage indication Yes

PARTS BREAKDOWN

Parts List – ADF 

Product Overview

Part # Description
1 Shade control
2 Self-test Button
3 Low Voltage Indicator
4 Delay Control Knob
5 Sensitivity Control Knob
6 LCD
7 Lithium Battery
8 Arc Sensor
9 Solar Panel
10 UV/IR Filter

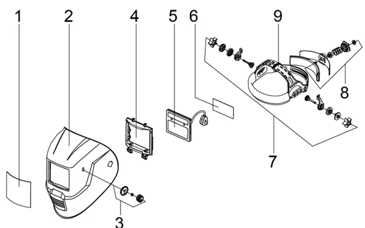
Parts List 

Product Overview

Part # Description
1 Front cover lens
2 Helmet shell
3 Shade control
4 ADF holder
5 ADF
6 Inside cover lens
7 Headband angle Adjusting Knob
8 Headband diameter Adjusting Knob
9 Headband Height Adjusting Pin

OPERATION

Before welding 
  1. Remove the protective film from NEW exterior and interior protective lenses.
  2. Press the “TEST” button to ensure the battery is able to power the Auto-Darkening Filter (ADF).
  3. Inspect the ADF for damage or discoloration.
  4. Clean the outer and inner protective lenses and inspect for scratches or other damage. If scratches or other damage are evident, replace those parts before use.
  5. Inspect all parts of the helmet for signs of excessive wear or damage. Do not use if there is any signs of damage and replace those parts immediately.
  6. Ensure all moving parts and latches are tight and secure.
  7. Always choose the appropriate shade for the type of welding in which you are engaged.
Shade Control 
The Swarm A-20 uses a variable Shade 9 to 13, and is adjustable based upon the required welding. Please refer to the table below to determine the correct shade setting for your application. The welding helmet can also be used as a face protector when grinding. The Grind Mode prevents filter lens from auto-darkening.
Welding Process Arc Current (Amperes)
1.5 6 10 15 30 40 60 70 100 125 150 175 200 225 250 300 350 400 450 500 600
SMAW 8 9 10 11 12              13 14
MAG 8 9 10 11 12 13 14
TIG 8 9 10 11 12 13
MIG (heavy) 9 10 11 12 13 14
MIG (light) 10 11 12 13 14
PAC 9 10 11 12 13
PAW 4 5 6 7 8 9 10 11 12
Note
  •     SMAW – Covered electrodes                   
  • MIG (light) – MIG with light alloys
  • MAG – Metal Arc Welding                      
  • PAC – Plasma jet cutting
  • TIG – Gas Tungsten Arc Welding               
  • PAW – Micro plasma Arc Welding
  • MIG (Heavy) – MIG with heavey metals
Sensitivity Control 
The sensitivity can be set to LOW, HIGH or any setting in between by using the adjustable “Sensitivity” dial located inside the Automatic-Darkening Filter (ADF) cartridge. The LOW setting suits excess ambient light or with another welding machine close by. The HIGH setting suits low amperage welding and welding in areas with low light conditions, especially low amperage argon arc welding. Selections between LOW and HIGH are suitable for most indoor and outdoor welding operations.
Delay Control 
When welding ceases, the viewing window automatically changes from dark back to light but with a preset delay to compensate. The delay time can be set to MIN (0.1 sec), MAX (0.8 sec), or any setting in between by using the adjustable “DELAY” dial located inside the ADF cartridge. The minimum delay suits spot or short welds. The maximum delay suits heavy current welding and reduces eye fatigue from the arc. Selections between MIN and MAX are suitable for most indoor and outdoor welding operations.
Battery replacement 
The ADF requires the use of CR2032 and generally lasts for around 2000 hours of welding use. NOTE: If the ADF LED indicator light is red, you should replace the battery before use, according to the instructions below.
The Positive(+) side of battery faces up (toward inside of helmet) Attention: Please dispose of used cells in accordance to the law and regulations of your local government. The ADF must also be disposed of in accordance with electronic waste regulations in your area.
Insert a small tool or coin into the slot of the battery cover, and rotate the battery cover counterclockwise to the unlocking mark position
Remove the battery cover and replace the battery
Battery replacement
Front Cover Lens Replacement 
Replace the front cover lens if it is damaged (cracked, scratched, pitted or dirty). Remove the old front cover lens by pressing the locking tab. Take the old front cover lens out and remove any protective film before installing the new one.
Product Overview
Product Overview
Inner Cover Lens Replacement 
Replace the inner cover lens if it is damaged (cracked, scratched, pitted or dirty). Place your finger or thumb into the recess and flex the inner cover lens upwards until it releases from one edge. Remove any protective film before installing the new one.
  1. Lift up one edge of the inner cover lens and pull the cover lens away from the filter
    Product Overview
  2. Remove the protective film on the new inner lens cover, feed one side of the lens cover
    Product Overview
ADF installation and removal
Remove the ADF bracket by first removing the front cover lens and then push the side of the ADF holder to remove the ADF from the bracket.
Product Overview
Headgear Adjustment 
  1. Adjust the headgear diameter with the ratcheting twist knob on the back. Push the knob in to unlock the mechanism and twist clockwise to tighten and counterclockwise to loosen.
  2. The height of the headgear can be adjusted by using the inlock strap (2). Simply push the pin out, slide the strap into position and push the pin into the nearest pin hole location.
  3. To adjust the viewing angle, loosen the knob (3) on both sides of the helmet and change angle locking mechanism to the desired tilt position. There are 5 available positions, with helmet set to the middle position by default. Once the desired angle adjustment is set, tighten the knobs until snug. The helmet should still swing up, but it should not drift downward when in place for welding.
  4. To adjust the distance between the user’s face and ADF, loosen the knobs   (3) on both sides of the helmet until the headband can move back and forth freely, reposition the headband (4) at one of the 3 slots as desired (The headband is positioned in the middle by default). This should be done one side at a time and both sides should be located at the same position for proper auto-darkening filter operation.
    Product Overview

MAINTENANCE

  1. Please use tissues, lens wiping paper or clean cotton cloth and detergent to clean filter.
  2. Please use neutral detergent to clean out shell of weld cap and sweatband.
  3. Please replace outside and inside protector and sweatband regularly.
  4. Please do not use corrosive solvent or gasoline to dilute detergent.
  5. Instructions for cleaning and disinfection: Clean the welding filter with a clean lint free tissue or cloth, Do not immerse the helmet into water. Do not use solvents

Keep the sensors, solar cell and filter lens clean. Clean filter cartridge and helmet shell by using a soapy water solution and soft cloth. Do not use solvents or abrasive cleaning detergent. Switch the product to Grind Mode and put it in a clean, dry location for storage.

TROUBLE SHOOTING

PROBLEM(S) POSSIBLE CAUSE(S) SUGGESTED SOLUTION(S)
Difficult to see through the auto- darkening filter (ADF) The protective film is on the front or inside cover lens Remove protective film
The front or inside protective cover lens is dirty or damaged Clean or replace front/inside cover lens
The ADF is dirty Clean filter lens
The ADF does not darken when arc is struck Sensors or Solar Panel are blocked Make sure sensors or solar panel are exposed to weld arc without blocking
Sensitivity is set to LOW Adjust sensitivity to required level
The ADF darkens without arc Sensitivity is set to HIGH Adjust sensitivity to required level
The ADF remains dark after welding Delay is set to MAX Adjust delay to required level

MARKINGS

  1. Markings on the ADF
    3/11 GX 1/1/1/2/379
    Definition: 3=light state, 11= dark state, GX=manufacturer identification, 1=optical
    class, 1=diffusion of light class, 1=Variation in Luminous transmittance class, 2=angle
    dependence class, all according to the EN379 testing standard
    GX Z87 W3/11
    Definition: GX=manufacturer identification, Z87 refers to the ANSI testing standard,
    W3/11=light state/dark states
    GX Z94.3 W3/11
    Definition: GX=manufacturer identification, Z94.3 refers to the CSA testing standard,
    W3/11=light state/dark states
  2. Markings on the helmet shell
    GX EN175 F
    Definition: GX=manufacturer identification, EN175
    testing standard, F=resistance against low energy impact 45 m/s
GX Z87
Definition: GX=manufacturer identification, Z87 refers to the ANSI testing standard
GX Z94.3
Definition: GX=manufacturer identification, Z94.3 refers to the CSA testing standard
  1. Markings on the Front cover lens
    GX 1 B
    Definition: GX=manufacturer identification, 1=optical class,
    B=resistance against energy impact 120m/s according to the EN166 testing standard.
  2. Marking on the Inner cover lens
    GX 1 F
    Explanation GX=manufacturer identification, 1=optical class,
    F=resistance against low energy impact 45m/s according to the EN166 testing standard. NOTICE REGARDING MARKINGS: If the symbols of the marking are not common to different parts of the protection equipment, the lower protection level shall be assigned to the complete protection equipment.
Warning Icon WARNING!
Materials which may come into contact with the wearer’s skin could cause allergic reactions to some individuals
Warning Icon WARNING!
Safety eye wear must be worn to protect against high speed particles. Approved, impact-resistant over-the-glass safety eye wear must be worn over standard ophthalmic spectacles to protect against impacts.

Warning Icon WARNING!

If protection against high speed particles at extremes of temperature is required then the selected safety eye wear should be marked with the letter T immediately after the impact letter, i.e. FT, BT or AT. If the impact letter is not followed by the letter T then the eye protector shall only be used against high speed particles at room temperature. This isn (is not) accordance to EN166 testing standards.
According to PPE Regulation 2016/425/EU
The described PPE satisfies the requirements of European Directives 2001/95/EC and will continue to comply with the requirements of (EU) Regulation 2016/425 from 21/04/2018,
This helmet is tested to these standards:
ANSI Z87.1-2020
CSA Z94.3-2020
EN 379:2003+A1:2009
EN175:1997-08
EN166:2001
ESAB  Logo

Leave a Comment