Contents
elk HOME 82280-1 14.75 Inch High 1 Light Sconce

Product Information
This product is a fixture that is intended for installation in accordance with the National Electrical Code (NEC) and all local code specifications. It is designed to be mounted on a junction box and requires proper wiring connections.
Specifications
- Item: 82280/1
- Manufacturer: elkhome.com
Product Usage Instructions
Facility
- Before starting the installation, disconnect power at the main fuse box.
- Position the mounting bracket (A) with the threaded ends of the fixture mounting screws (E) facing out.
- Pull the house wires through the large hole in the mounting bracket (A) and align the holes in the bracket with the holes in the junction box. Ensure that the fixture mounting screws (E) are level.
- Thread each junction box screw (B) into the holes in the mounting bracket (A) and into the holes in the junction box. Tighten the screws to secure the mounting bracket to the junction box. Make sure that the house wires are pulled completely through the hole in the mounting bracket and avoid pinching them between the bracket and wall.
Wiring Connections
Before proceeding with the wiring connections, strip 3/4 of insulation from the ends of the fixture wires.
- Slightly loosen the ground screw on the mounting bracket (A). Wrap the house ground wire (copper) around the ground screw, leaving enough wire to attach to the fixture ground wire. Twist the ends of the fixture ground wire and house ground wire together. Use a wire nut (C) to secure the connection and completely tighten the wire nut.
- Twist the end of the house lead wire (black) and the end of the fixture lead wire together. Use a wire nut (C) to secure the connection and completely tighten the wire nut. Similarly, twist the end of the house neutral wire (white) and the end of the fixture neutral wire together. Use a wire nut (C) to secure the connection and completely tighten the wire nut.
- Wrap electrical tape around the wire nuts and wires to ensure a secure connection.
- Carefully push all wires and wire nuts into the junction box.
Mounting
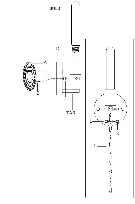
- Place the backplate (D) over the mounting bracket (A) and pass the holes in the backplate over the ends of the fixture mounting screws (E). Be careful not to pinch the wires between the backplate and wall.
WARNING
- DISCONNECT POWER AT THE MAIN FUSE BOX BEFORE INSTALLATION.
- This fixture is intended for installation in accordance with the National Electrical Code (NEC) and all local code specifications. If you are not familiar with code requirements, installation by a certified electrician is recommended.
- Before assembly, remove all parts and part packages from box. If anything is missing, please contact the retailer from which the product was purchased.
Installation Instructions

- Position mounting bracket (A) so threaded ends of attached fixture mounting screws (E) are facing out.
- Carefully pull house wires through large hole in mounting bracket (A). Align holes in mounting bracket (A) with holes in junction box. Make sure fixture mounting screws (E) are level.
- Thread each junction box screw (B) into holes in mounting bracket (A) and into holes in junction box. Tighten junction box screws (B) to secure mounting bracket (A) to junction box. CAUTION: Make sure house wires are pulled completely through hole in mounting bracket. DO NOT pinch wires between mounting bracket and wall.

- Strip 3/4” of insulation from ends of fixture wires.
- Slightly loosen ground screw on mounting bracket (A). Do not completely remove ground screw. Wrap house ground wire (copper) around ground screw, leaving enough ground wire to attach to fixture ground wire. Twist end of fixture ground wire and end of house ground wire together. Twist wire nut (C) onto ends of wires. Completely tighten wire nut (C). Reference chart below for correct wire connections.
Connect Supply (House) Ground Copper Wire to: Bare Copper Wire or, Bare Silver Wire or, Green Insulated Wire. - Twist end of house lead wire (black) and end of fixture lead wire together. Twist wire nut (C) onto ends of wires. Completely tighten wire nut (C). Twist end of house neutral wire (white) and end of fixture neutral wire together. Twist wire nut (C) onto ends of wires. Completely tighten wire nut (C). Reference chart to the right for correct wire connections.
- Wrap electrical tape (not included) around wire nuts (C) and wires. Ensure wires are securely fastened into wire nuts.
- Carefully push all wires and wire nuts into junction box.
Connect Black Lead Supply (House) Wire to: Connect White Neutral Supply (House) Wire to: Black Wire or, White Wire or, *Parallel Cord (Round and Smooth) or, *Parallel Cord (Square and Ridged) or, No printed words on wire insulation or, Printed words on wire insulation or, Insulated Wire (other than green) with Copper Conductor.
Insulated Wire (other than green) with Silver Conductor.
*When parallel wire (SPT 1 & SPT 2) is used: The lead wire is round in shape or smooth. The neutral wire is square in shape or ridged. 
- Place backplate (D) over mounting bracket (A). Pass holes in backplate (D) over ends of fixture mounting screws (E).
- CAUTION: Do not pinch wires between backplate and wall.

- CAUTION: Do not pinch wires between backplate and wall.
- Screw one threaded cap (F) onto end of each fixture mounting screw (E). Tighten both threaded caps (F) to secure fixture (D) to wall. DO NOT over tighten.
- Screw recommended bulb (E26 Edison bulb type, not included) into socket. Verify correct bulb wattage marked on socket of fixture. WARNING: DO NOT exceed maximum bulb wattage.
- Fit center stem (G) in between tabs on backplate (D). Align holes in center stem (G) with holes in tabs.
- Insert one thumbscrew (K) into hole in top tab, through center stem (G) and through hole in second top tab. Screw one threaded cap (L) onto end of thumbscrew (K). Do not completely tighten threaded cap (L).
- Repeat step 13 to install second thumbscrew (K) and threaded cap (L) into bottom tabs. After both threaded caps (L) have been installed, completely tighten threaded caps (L) to secure center stem (G) in place. DO NOT over tighten.
Contact
- ANY QUESTIONS CALL: 800-613-3261
- M-F 8:00AM-6:00PM ET
- elkhome.com
