0-7000RPM WS 52mm Tachometer
Owner’s Manual
Owner’s Manual
0-7000RPM WS 52mm Tachometer

Picture B: Before installation, firstly, to open a hole
∅52mm( 2” ) of the panel ,make sure there is a space with(55mm backyard of panel)as well.
Picture D: Put the gauge in the hole and screw down.
| Diesel engine | |
| Gear number | Speed ratio |
| Gear numbered =Speed ratio | |

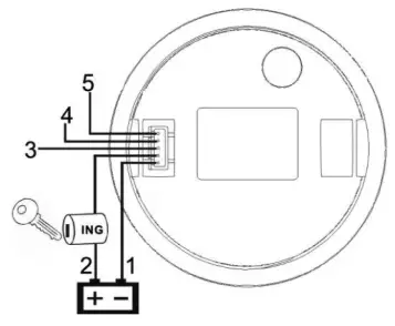
Connection
- Black: Ground(-)
- Red: 9-30VDC
- Blue: RPM Signal
- Yellow: Backlight
- White: Adjust
| Outboard | |
| poles | Speed ratio |
| 2 | 2 |
| 6 | 3 |
| 8 | 4 |
| 10 | 5 |
| 12 | 6 |
| Inboard or Gas engine | ||
| cylinder | cycle | Speed ratio |
| 4 | 4 | 2 |
| 6 | 4 | 3 |
| 8 | 4 | 4 |
| 10 | 4 | 5 |
| 12 | 4 | 6 |
- The white wire touches the negative pole for 3 seconds to enter the setting speed ratio mode. If the wire leaves the negative pole for more than 3 seconds, it will exit the setting mode
- When the white wire touches the negative pole, the value keeps increasing; when the white wire is removed and touches the negative pole again, the value keeps decreasing. The longer the white line touches the negative pole, the faster the value counts. The minimum step value of counting is 0.1, the adjustable range is 1.0-360.
- After adjusting the speed ratio, pis. remove the white wire. After 3 seconds, the tachometer will automatically save the result you set.
If the settings do not meet your requirements, reset them.
