EBARA JEX Stainless Steel Self Priming Jet Pumps Owner’s Manual

Home » EBARA » EBARA JEX Stainless Steel Self Priming Jet Pumps Owner’s Manual

EBARA JEX Stainless Steel Self Priming Jet Pumps

EBARA JEX Stainless Steel Self Priming Jet Pumps

Introduction

Stainless steel jet pumps for the boosting or transfer of water, small scale irrigation, tank & pool emptying, etc. Suitable for installations with suction lift.

Specifications

  • Maximum working pressure : 6 bar
  • Maximum liquid temperature: 45°C

Materials

  • Pump casing: 304 Stainless Steel
  • Impeller: 304 Stainless Steel
  • Jet & Diffuser: Noryl
  • Shaft : AISI 303 (in contact with liquid)
  • Bracket: Aluminium
  • Motor Frame: Aluminium
  • Mechanical Seal: Carbon/Ceramic/NBR

Motor Data

  • TEFC, 2 pole motor
  • Insulation class F
  • IP55 protection
  • 1Ø, 230~240 Volt, 50 Hz
  • Permanent split capacitor
  • Automatic thermal overload protection

Supply

  • 1.8 m cable with 3 pin plug
  • Available as pressure system with pressure switch or Press control ®

TYPICAL EXPLODED VIEW

Typical ExPloded View

PUMP AND MOTOR

PUMP
Liquid Handled Type of liquid Clean water
Max temperature [°C] 45
Maximum working pressure [MPa] 0.6
Maximum suction depth [m] 8
Construction Impeller Closed centrifugal type
Shaft seal type Mechanical seal
Bearing Sealed ball bearing
Pipe Connection Suction [inch] G 1¼ UNI ISO 228
Discharge [inch] G 1 UNI ISO 228
Material Casing AISI 304
Impeller AISI 304
Shaft seal Ceramic/Carbon/NBR
Casing cover AISI 304
Shaft AISI 303 (Wet extension)
Bracket Aluminium
Ejector PPO mod. glass fibre reinforced
Diffuser PPO mod. glass fibre reinforced
Applicable standard of test ISO 9906 – Annex A
MOTOR
Type Electric – TEFC
Single Phase
No. Of Poles 2
Synchronous speed [min-1] 3000
Insulation Class F
Protection degree IP 55
Power rating [kW] 0.6 ÷ 1.1
[HP] 0.8 ÷ 1.5
Frequency                                       [Hz] 50
Voltage                                            [V] 230 ±10%
Capacitor Built in
Over load protection Built in
Casing material Aluminium
Base material/motor support Aluminium
Dimensions of cable entry PG11 – PG13.5 (see dimensions page 400)

SELECTION CHART

Selection Chart

Curve specifications
The specifications below qualify the curves shown on the following pages.
Tolerances according to ISO 9906 Annex A
The curves refer to effective speed of asynchronous motors at 50 Hz
Measurements were carried out with clean water at 20°C of temperature and with a kinematic viscosity of n = 1 mm2/s (1 cSt)
In order to avoid the risk of over-heating, the pumps should not be used at a flow rate below 10% of best efficiency point.
Symbols explanation:
Q = volume flow rate
H = total head

TYPE KEY

Type Key

Type pumps Power Q=Capacity
Single Phase V 230 kW HP l/min 20 30 40 50 60 70 75
m³/h 1.2 1,8 2,4 3 3,6 4,2 4,5
JEXM 80 0,6 0,8 33 29 26,5 23,5 20,5 18
JEXM 120 0,88 1,2 41 37 34 30,5 27,5 24,5
JEXM 150 1,1 1,5 49 44,5 40,5 37 34 31 29,5

PERFORMANCE CURVE

  • JEXM 80 (0.6 kW)
    Performance Curve
    Impeller diameter= 132 mm
    Applicable standard of test: ISO 9906 – Annex A
  • JEXM 120 (0.88 kW)
    Performance Curve
    Impeller diameter= 141 mm
    Applicable standard of test: ISO 9906 – Annex A
  • JEXM150 (1.1 kW)
    Performance Curve
    Impeller diameter= 141 mm
    Applicable standard of test: ISO 9906 – Annex A

CONSTRUCTIONS

No. PART NAME MATERIAL QTY No. PART NAME MATERIAL QTY
1 Casing AISI 304 Stainless Steel 1 22 Tie rod Fe 420 Zincate 4
3 Motor bracket Aluminium 1 23 Capacitor 1
4 Casing cover AISI 304 Stainless Steel 1 24 Priming/Drain plug PA 2
6 Shaft with rotor AISI 303 S/Steel     (Part in contact with liquid) 1 26 O-ring NBR 1
7 Impeller AISI 304 Stainless Steel 1 28 O-ring NBR 1
9 Diffuser Venturi tube PPE + PS glass fibre reinforced 1 32 Impeller Key AISI 304 Stainless Steel 1
11 Mechanical seal Carbon/Ceramic/NBR 1 34 Impeller Nut AISI 304 Stainless Steel 1
12 Motor frame with stator 1 42 Motor Support Aluminium 1
13 Motor cover Aluminium 1 43 Space diffuser PPE + PS glass fibre reinforced 1
14 Fan PA 1 52 Terminal l Box ABS 1
15 Fan cover Fe P04 Zincate 1 56 Box gasket NBR 1
16 Terminal block 1 77 O-ring NBR 2
17 Terminal box cover ABS 1 90 Cover Gasket NBR 1
18 Splash ring NBR 1 92 Lip Seal 1
19 Pump side ball bearing 1 93 Lip Seal 1
20 Fan side ball bearing 1 110 Motor protector –        (Only for JEXM 150) 1
21 Adjusting ring Steel C70 1 200 Screw Stainless steel A2 UNl7323 8

Constructions

MECHANICAL SEAL

REF PART NAME MATERIAL
A Rotary seal ring Ceramic
B Stationary seal ring Carbon graphite
C O Ring NBR
D O Ring NBR
E O Ring NBR
F Self driving spring AISI 316
G Frame AISI 304

Constructions

DIAGRAM AND ELECTRIC CONNECTIONS

SINGLE PHASE MOTOR
Constructions
Constructions

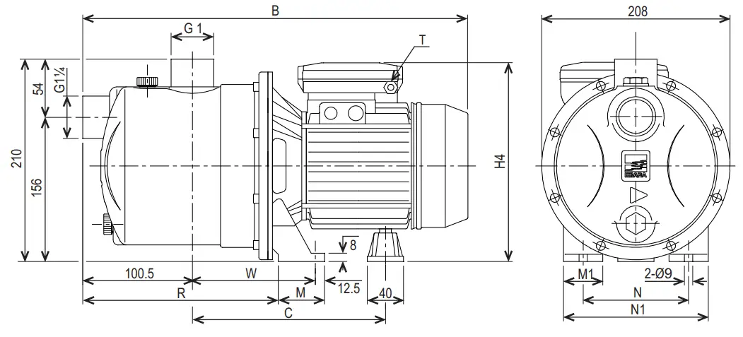
DIMENSIONS

Model Dimensions (mm)
B C H4 M M1 N N1 R T W
JEXM 080 417 230 215 50 38 120 160 206 PG11 143
JEXM 120 417 230 215 50 38 120 160 206 PG11 143
JEXM 150 445 250 240 55 40 140 180 203.5 PG13.5 145.5

Dimension

PACKING AND WEIGHT

Type pumps Single Phase PACKING [mm] WEIGHT [kg]
X Y Z
JEXM 80 222 265 462 10.3
JEXM 120 222 265 462 11.5
JEXM 150 222 265 462 14.1

Packing And Weight

TECHNICAL DATA – MOTOR AND BEARINGS

Type pumps Single Phase
230 V
50 Hz
kW HP Capacitor Input [kW] Full load current [A] Locked rotor current [A]
µF Vc
JEXM 80 0.6 0.8 16 450 1.05 4.7 16.1
JEXM 120 0.88 1.2 20 450 1.39 6.7 22.7
JEXM 150 1.1 1.5 31.5 450 1.70 7.6 32.5
Type pumps Ball Bearing
Pump side Fan side
JEXM 80 6203 2DW C3 6202 2DW C3
JEXM 120 6203 ZZ C3 6202 ZZ C3
JEXM 150 6204 ZZ C3 6203 ZZ C3

PUMP INSTALLATION

Symbol Install a foot valve or check valve in the suction pipe. Support the suction and delivery pipe to prevent damage to the pump casing.

Pump Installation

Logo

Leave a Comment