Contents
Quick Setup Guide


DYNEX DX-HTMF1620 Full Motion Mount for TVs 19″-50″
Before using your new product, please read these instructions to prevent any damage.
PACKAGE CONTENTS

Tools Needed:

FEATURES
- Supports a wide range of TVs from 19–50″ and up to 55 lbs (25 kg)
- VESA pattern support from 75 × 75 mm to 400 × 400 mm with all common sizes in between
- Micro-adjustments to perfectly level and position a mounted TV
- Sturdy steel construction for years of dependable use
- Full assortment of mounting hardware included for a wide range of TVs
CAUTIONS
This product contains small items that could be a choking hazard if swallowed. Keep these items away from your children.
- Make sure that these instructions are read and completely understood before attempting installation. If you are unsure of any part of this installation, please contact a professional installer for assistance.
- The wall or mounting surface must be capable of supporting the combined weight of the mount and the display. If it cannot, the structure must be reinforced.
- Safety gear and proper tools must be used. A minimum of two people are required for this installation. Failure to use safety gear can result in property damage, serious injury, or death.
This product was designed to be installed on wood stud walls and solid concrete walls. Before installing, make sure that the wall will support the combined load of equipment and hardware. Never exceed the maximum load capacity 55 lbs (25 kg), or the result may be product failure or personal injury.
NOTE: This product is intended for indoor use only. Use of this product outdoors could lead to product failure or personal injury.
1. DETERMINING WHAT TYPE BACK YOUR TV HAS
- Carefully place your TV screen face-down on a cushioned, clean surface to protect the screen.
- If a stand is installed, remove it. See the documentation that came with your TV for instructions.
- Lay the TV plate against the back of your TV.
- Align the screw holes in the TV plate with the mounting screw holes on your TV.
- Identify which type of back your TV has:
- Flat back: The TV plate lays flush against the back of your TV and does not block any jacks. You do not need spacers.

- Obstructed back: The TV plate blocks one or more of the jacks on the back of your TV. You need spacers (H).

- Irregularly-shaped back: There is a gap between the TV plate and some part of the back of your TV. You need spacers (H).

6. Remove the wall mount.
2. SELECT SCREWS, WASHERS, AND SPACERS
- Select the hardware for your TV (screws, washers, and spacers).
If your TV came with mounting hardware, the screws are usually in the holes on the back of the TV.
If you don’t know the length of the mounting screws you need, hand-thread different screws to find the correct length. Select one of the following types of screws:

Use M4/M5 washers (I) with A, B, or C screws. Use M6/M8 washers (J) with D, E, F, or G screws. For an irregular or obstructed TV back, also use the spacers (H).

Caution: Make sure that the screws (and spacers, if used) are the correct length. If the screw or screw/spacer combination is too long, it may damage the TV. If the screw or screw/spacer combination is too short, the TV may fall from the mount and damage the TV or injure someone.
If you encounter resistance when testing screws, stop immediately and try another combination. If none of the screws or screw/spacer combinations work, contact customer service.
2. Remove the screws from the holes in the back of your TV.
3. For a flat back TV, use “STEP 3 – Option 1: Attaching the TV plate to TVs with a flat back.”
-OR- For an irregular or obstructed back, use “STEP 3 – Option 2: Attaching the TV plate to TVs with irregular or obstructed backs.”
3. INSTALLING THE TV PLATE
Measure the vertical and horizontal distances between the mounting holes on the back of your TV. This mount supports VESA patterns from (W × H) 75 × 75 mm to 400 × 400 mm with all common sizes in between.
No adapters


Installing your adapters
Depending on the mounting-hole pattern on your TV, you may need to install the TV plate adapters.
- Place the adapter washer over the adapter bolt, then screw on the adapter nut and tighten with a lag bolt wrench.

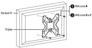
Option 1: Attaching the TV plate to TVs with a flat back
- Align the TV plate with the screw holes on the back of the TV. Make sure that the plate is level.
- Place washers over the holes in the TV plate. Insert screws through the washers and TV plate.
Note: The washer (I or J) size depends on the size of the screws used. Use the I washer with screw B. Use the J washer with screw D or screw F. - Tighten the screws until they are snug against the TV plate. Do not over tighten.

-OR-
Option 2: Attaching the TV plate to TVs with irregular or obstructed backs
- Place spacers (H) over the holes on the back of the TV.
- Align the TV plate with the screw holes on the back of the TV. Make sure that the plate is level.
- Place washers over the holes in the TV plate. Insert screws through the washers, TV plate, and spacers.
Note: The washer (I or J) size depends on the size of the screws used. Use the I washer with screw A or screw C. Use the J washer with screw E or screw G. - Tighten the screws until they are snug against the TV plate. Do not over tighten.

4. DETERMINE THE WALL-MOUNT LOCATION
The center of your TV will be offset .8 in. (2 cm) lower than the center of the wall plate on the wall-mount. Before you drill holes in the wall:
- Measure the distance from the bottom of your TV to the center point halfway between the top and bottom mounting holes on the back of your TV. This is measurement a.
- Measure the distance from the floor to where you want the bottom of the TV to be placed on the wall. Keep in mind that the bottom of the TV should be placed above any furniture (such as entertainment centers or TV stands). The TV should also be above items placed on top of the furniture (like a Blu-ray player or cable box). This measurement is b.
- Add a + b. The total measurement is the height where you want the center of the wall plate to be on the wall.
- Use a pencil to mark this spot on the wall.
Notes:
- For more detailed information on determining where to drill your holes, visit our online height-finder at: https://mf1.bestbuy.selectionassistant.com/index.php/heightfinder
- Your TV should be high enough so your eyes are level with the middle of the screen. This is normally 40 to 60 in. (101.6 x 152.4 cm) from the ground.

5. INSTALLING THE WALL PLATE
Wood installation
- Locate the center of a stud with a stud finder.
- Place the magnetic level on the top of the wall plate, then align the center of the wall plate at the height (a+b) you determined in the previous step. Make sure that the wall plate is on the stud and is level.
Note: It is very important that the wall plate is level. This determines if the TV will be level when extended from the wall. - Mark the three holes through the wall plate with your pencil. Set the wall plate aside.
- Drill three pilot holes on your pencil marks to a depth of 2.8 in. (70 mm) using a 3/16 in. (5 mm) drill bit.

- Align the wall plate with the pilot holes, insert the lag bolts (B1) through the lag bolt washers (B3), then through the holes in the wall plate. Make sure that the wall plate is level.
- Tighten the lag bolts only until they are firm against the wall plate. Remove the magnetic level.

Concrete installation
Caution: To prevent property damage or personal injury, never drill into the mortar between blocks. Mount the wall plate directly onto the concrete surface.
- Place the magnetic level on the top of the wall plate, then align the center of the wall plate at the height (a+b) you determined in the previous step. Make sure that the wall plate is level.
Note: It is very important that the wall plate is level. This determines if the TV will be level when extended from the wall. - Mark the three holes through the wall plate with your pencil. Set the wall plate aside.
- Drill three pilot holes on your pencil marks to a depth of 2.8 in. (70 mm) using a 3/8 in. (10 mm) diameter masonry drill bit.

- Insert the concrete wall anchors (B2) into the pilot holes and use a hammer to make sure that the anchors are flush with the concrete surface.
- Align the wall plate with the anchors, insert the lag bolts (B1) through the lag bolt washers (B3), then through the holes in the wall plate. Make sure that the wall plate is level then tighten the lag bolts only until they are firm against the wall plate. Remove the magnetic level.

* Minimum solid concrete thickness: 8 in. (203mm).
* Minimum concrete block size: 8 × 8 × 16 in. (203 × 203 × 406 mm).
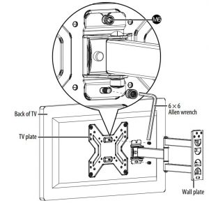
6. MOUNTING THE TV
- With another person, lift the TV and align it with the slots on the wall plate.
- Thread two nuts (M6) onto the TV plate, then tighten the nuts to secure the TV to the wall plate with the 6 × 6 Allen wrench.
NOTE: Tighten the upper nut (M6) first to make sure that the TV does not slide off during installation.

7. MANAGING YOUR CABLES
Thread cables for attached devices along the mounting arm, then snap the cable clip onto the mounting arm.

8. ADJUSTING THE TV MOUNT
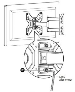
Leveling the TV
- If the TV screen in not level, loosen the upper and lower nuts (M6) with the 6 × 6 Allen wrench and adjust the level, then tighten the nuts.
NOTE: If the TV screen does not tilt down, use a wrench to adjust the left and right two nuts on the TV plate.

Adjusting the tension
To adjust the arm tension (to make the arm easier or harder to move), loosen or tighten the tension screw with the 5 × 5 Allen wrench.

Rotating and tilting your TV
- To rotate the TV left or right, hold the sides of the TV, then push one side while pulling the other side.
- To tilt of the TV up or down, hold the top and bottom of the TV, then tilt the TV forward or backward.

THREE-MONTH LIMITED WARRANTY
Visit www.dynexproducts.com for details.
CONTACT DYNEX:
For customer service, call 800-305-2204
www.dynexproducts.com
DYNEX is a trademark of Best Buy and its affiliated companies. Distributed by
Best Buy Purchasing, LLC, 7601 Penn Ave South, Richfield, MN 55423 U.S.A.
©2019 Best Buy. All rights reserved.
Read More About This Manual & Download PDF:
DYNEX DX-HTMF1620 Full Motion Mount for TVs 19″-50″ Quick Setup Guide –