Danfoss 23M128 Filter Drier
Contents
Refrigerants
CO2 (sub critical and trans critical system)
Media Temperature: -55 to 100 °C / -67 to 212 °F
Maximum working pressure (PS/MWP): 90bar / 1305 psig
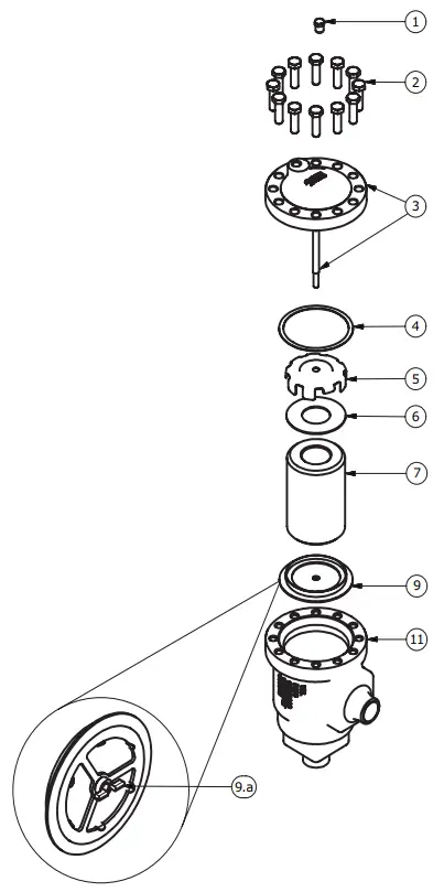
Design
| Pos | Description |
| 1 | Plug for cover |
| 2 | Bolts for cover |
| 3 | Cover plate & core shaft |
| 4 | Cover gasket |
| 5 | Core plate bottom |
| 6 | Core felt gasket |
| 7 | Core |
| 8 | Core plate mid |
| 9 | Core holder assembly |
| 9.a | Wing nut |
| 10 | Housing for 2 core |
| 11 | Housing for 1 core |
Inner taper of core always facing towards filter outlet.


*Remove the rubber bush while making assembly.
Installation

|
Type |
L minimum | |
| [mm] | [in] | |
| DCR 048 | 250 | 9.8 |
| DCR 096 | 400 | 15.8 |
Be careful of liquid refrigerant trap in the system as may result in very high internal pressures while heated up. Ensure proper pump down before removing the DCR cover Also drain out residual refrigerant before removing cover bolts.
Brazing
Keep flames away from body
Welding
| Connector type * | Brazing material |
| Steel | Silver-flo 55 + Easy-flow flux |
Customer best practice will still be needed:
- Remove cover assembly before brazing/welding.
- Do not remove core shaft from the cover.
- Brazing/Welding of the joints to be done by certified welder.
- Let them cool down.
- Clean the brazing /welding area after the installation (remove remaining flux with a brush).
- This is an important operation and needs to be done with great care to remove all remaining flux.
- The external surface has TLP(Zink) coating to protect corrosion, however we recommend painting the DCR after installation for maximum corrosion protection.
- After brazing/welding use suitable coating on the connector surface to avoid any rust in the field.
Gasket
Do not install DCR insert before Brazing / welding
Note: Confirm correct top cover gasket is selected for DCR
Do not reuse the gasket
Do not use Oil/Grease on Gasket
How to tighten the bolts
|
DCR Bolts M12*1.75 |
|
| Step 1 | Finger tight all the bolts |
| Step 2 | 10 N.m/7.4 lbf.ft |
| Step 3 | 20 N.m/15 lbf.ft |
| Step 4 | 40 N.m/30 lbf.ft |
| Step 5 | 80 N.m /59 lbf.ft |
* Repeat until complete tightness has been reached.
| Component | Size | Torque (N.m/ lbf.ft) |
| Cover bolts | M12*1.75 | 80/59 |
| Plug** | 1/4” NPT | 50/37 |
| Plug** | 1/2” G | 50/37 |
| Core Shaft | M10 | 30/22 |
| Wing nut | M8 | 1.5 /1.10 (Hand tight) |
Note:
** Replace the plug for example with schrader/ Needle valve etc..