Contents
DALI S-100 Phantom Iw Sub

Carton Contents
- 1 x DALI PHANTOM IW SUB S-100

- 1 x Grille (magnetic)

- 1 x Cut-out template

- 4 x Rubber pads

Installation – In-wall
- Use a cut-out template to prepare the wall for installation.

- Connect cables from the amplifier to the subwoofer.

- Place subwoofer in wall.

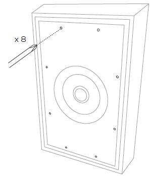
- Use a cross-head screwdriver or drill bit to tighten the eight dogleg clamp screws.

- Place the grille.

Subwoofer connections
- 1 x Subwoofer (LFE .1)

- 2 x Subwoofer (LFE .1)

- 4 x Subwoofer (LFE .1)

Installation – On-wall frame
- Mount the DALI S-80 On-wall frame on the wall in landscape or portrait position.

- Pass the cable from the amplifier unit through the channels of the frame.

- Connect cables from the amplifier to the subwoofer.

- Use a cross-head screwdriver or drill bit to 3 tighten the eight dogleg clamp screws.

- Place the grille.

Unmounted installation
Enable unmounted installation by using the DALI S-80 On-wall frame as an external cabinet for the subwoofer. For example for placement on floor.
- Place the 4 rubber feet to the rear side of the DALI S-80 On-wall frame.

- Pass the cable from the amplifier unit through the channels of the frame.

- Connect cables from the amplifier to the subwoofer

- Use a cross-head screwdriver or drill bit to tighten the eight dogleg clamp screws.

- Place the grille.

Go to the User Manual by scanning the QR code.
