LIGHTING THE WAY FOR SIXTY YEARS
ASSEMBLY INSTRUCTION MODEL # ELS-7103-GA
Contents
ELS-7103-GA Elsa Pendant Ceiling Light


![]()
All electrical components must be installed by a licensed electrician in accordance with the National Electric Code and the appropriate local electrical codes.
![]()
You will need 3 -Medium Bulb 40 Watts Recommended 60 Watts Max.
USE LED BULBS FOR EXTENDED USE THIS FIXTURE IS DAMP RATED
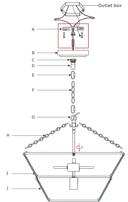
How to Install
- Attach the center stem onto the wiring house.
- Attach the top of the center stem onto the swivel.
- Hook one end of the decorative chain onto the frame and the other end onto the hook kit.
- Insert recommended bulb (not included).
- Dress the fixture with crystal as illustrated.
WARNING: This product can expose you to Lead, which is known to the State of California to cause cancer and/or birth defects or reproductive harm. For more information go to www.P65Warnings.ca.gov.

Part Number
A. (1) – Mounting Hardware
B. (1) – Canopy(W4.92″ H0.9″)#XRE7100GACAN4.92IN
C. (1) – Collaring
D. (1) – Collar Loop #XRE7100GALOOP
E. (2) – Quick Link
F. (1) – Hanging Chain(72″,4mm) #XRE7103GACHA4MM
G. (1) – Fixture Loop
H. (3) – Decorative Chains(each9.57″,3mm) #XRE7103GADECHA9.57IN
L. (3) – Small Chain1(each4.61″) #XRE7103GASMCHA4.61IN
J. (3) – Small Chain2(each4.92″) #XRE7100GASMCHA4.92IN
