Contents
CRYSTORAMA 2249-BF Sylvan Eight Light Chandelier

Product Information
- Product Name: Crystorama Lighting Fixture
- Model Number: 2249-BF
- Manufacturer: Crystorama
- Website: www.crystorama.com
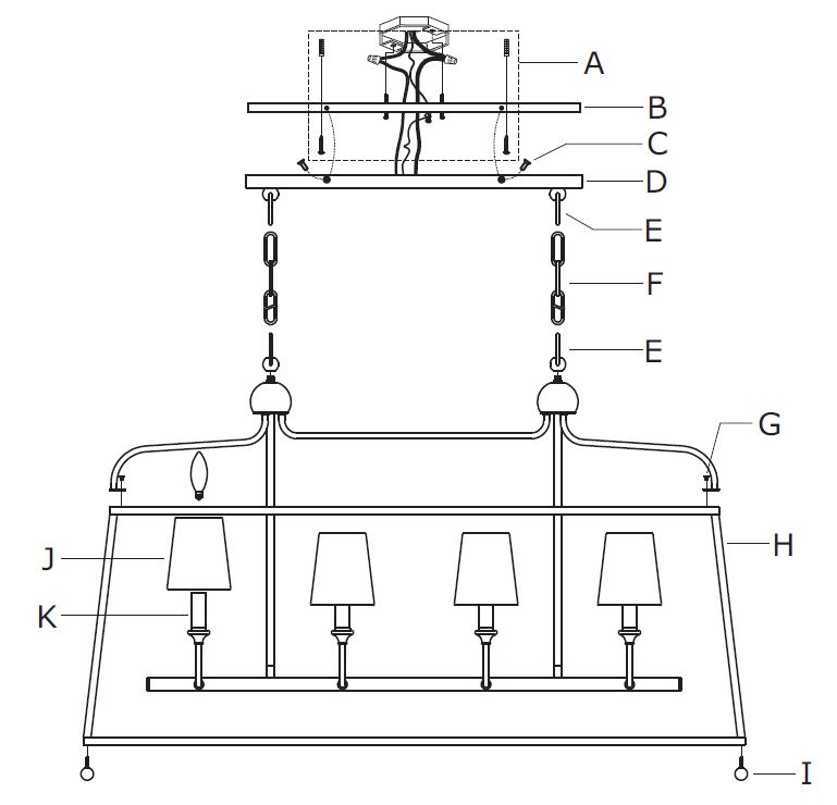
- Part Numbers:
- A. (1)-Mounting hardware
- B. (1)-Mounting plate
- C. (4)-Mounting screw
- D. (1)-Canopy W4-1/2”xL21-1/4”xH3/4”
#XRF2249BFCAN21.25IN - E. (4)-Loop
- F. (2)-Chain -120”, 4mm thick #XRF2248BFCHA4.0MM
- G. (8)-Screw
- H. (1)-Metal frame
- I. (4)-Bottom finial
- J. (8)-Fabric shade W4”xH4-1/2” #XRF2243SHA4.5IN
- K(A). (8)-Candle sleeve-BF W7/8”xL2-3/8”
#XRF2243BFCDL2.375IN - K(B). (8)-Candle sleeve-WH W7/8”xL2-3/8”
#XRF2243WHCDL2.375IN
- Recommended Bulb Type: Candelabra Base Bulb
- Recommended Bulb Wattage: 40 Watts
- Maximum Bulb Wattage: 60 Watts
- LED Bulbs: Can be used for extended use
- Fixture Rating: Dry rated
- Product Dimensions:
- Canopy: Width – 4-1/2”, Length – 21-1/4”, Height – 3/4”
- Chain: Length – 120”, Thickness – 4mm
- Fabric Shade: Width – 4”, Height – 4-1/2”
- Product Warning: This product contains Lead, which is known to the state of California to cause cancer and/or birth defects or reproductive harm. For more information, visit www.P65Warnings.ca.gov
Product Usage Instructions
- Spread the arms of the lighting fixture to a suitable position.
- Ensure electrical power is turned off before proceeding.
- For electrical safety, all electrical components must be installed by a licensed electrician in accordance with the National Electric Code and the appropriate local electrical codes.
- To assemble the fixture:
- Remove the screw from each hole on the metal frame.
- Align the holes on the tabs of the arm assembly with the holes on the metal frame.
- Secure the arm assembly to the metal frame using the screws that were removed.
- Slip the loop along the wire and thread it onto the nipple of the arm assembly.
- Place the mounting plate over the outlet box.
- Mark four points on the ceiling at the center of the keyhole on the mounting plate.
- Drill four holes at the marked points and insert the wall anchors.
- Secure the mounting plate to the outlet box using two outlet box screws.
- Insert the anchor screws into the wall anchors and tighten them.
- Determine the preferred hanging height and adjust the chain accordingly.
- Install the canopy onto the mounting plate and secure it with the mounting screws.
- Install the fabric shade onto the candle sleeve.
- Install the recommended bulbs (not included) into the socket.
ASSEMBLY INSTRUCTION MODEL#2249-BF
WARNING

- All electrical components must be installed by a licensed electrician in accordance with the National Electric Code and the appropriate local electrical codes.

- You will need 8- Candelabra Base Bulb 40 Watts Recommended 60 Watts Max. USE LED BULBS FOR EXTENDED USE This fixture is Dry rated.
How to install
- SPREAD THE ARMS TO A SUITABLE POSITION

- Remove the screw from each of the holes on the metal frame. Align the holes on the tabs of the arm assembly with the holes on the metal frame and secure together using the screws that were removed.
- Slip the loop along wire and thread onto the nipple of arm assembly.
- Place the mounting plate over the outlet box. Mark four points on the ceiling at the center of the keyhole on the mounting plate.
- Drill four holes at the marked points and insert the wall anchors.
- Place the mounting plate over the outlet box and secure it with two outlet box screws. Insert the anchor screws into the wall anchors (Installed in step #5) and tighten.
- Determine the preferred hanging height and adjust to the chain required.
- Install canopy onto the mounting plate, and secure with the mounting screws.
- Install the fabric shade onto the candle sleeve.
- Install the bulbs (not included) into the socket.
DIMENSIONS

Part Number

- A. (1)-Mounting hardware
- B. (1)-Mounting plate
- C. (4)-Mounting screw
- D. (1)-Canopy W4-1/2’’xL21-1/4’’xH3/4’’ #XRF2249BFCAN21.25IN
- E. (4)-Loop
- F. (2)-Chain -120’’, 4mm thick #XRF2248BFCHA4.0MM
- G. (8)-Screw
- H. (1)-Metal frame
- I. (4)-Bottom finial
- J. (8)-Fabric shade W4’’xH4-1/2’’ #XRF2243SHA4.5IN
- K(A). (8)-Candle sleeve-BF W7/8’’xL2-3/8’’ #XRF2243BFCDL2.375IN
- K(B). (8)-Candle sleeve-WH W7/8’’xL2-3/8’’ #XRF2243WHCDL2.375IN
WARNING: This product can expose you to Lead which is known to the state of California to cause cancer and/or birth defects or reproductive harm. For more information go to www.P65Warnings.ca.gov.
