LIGHTING THE WAY FOR SIXTY YEARS
ASSEMBLY INSTRUCTION MODEL #2016-AG
Contents
2016-AG Truax Four Light Mini Chandelier

WARNING
| Electrical Danger | |
| Turn Power off |
All electrical components must be installed by a licensed electrician in accordance with the National Electric Code and the appropriate local electrical codes.
You will need 4-Cand Bulb 40 Watts Recommended 60 Watts Max Bulb not included
USE LED BULBS FOR EXTENDED USE
This fixture is DRY rated
How to Install
Assembly Instructions: Note it is strongly recommended that 2 people complete the assembly of this item.
- Install the metal band onto the acrylic ball (rest the acrylic ball inside the foam block included in the packaging. Hold the metal band straight while another person secures it on the acrylic ball with the screws provided).
- Unscrew the decorative nut.
- Install bulbs into the socket.
- Attach the lower metal cap and socket cluster into the acrylic ball.
- Attach the upper metal cap onto the acrylic ball and secure using the decorative nut.
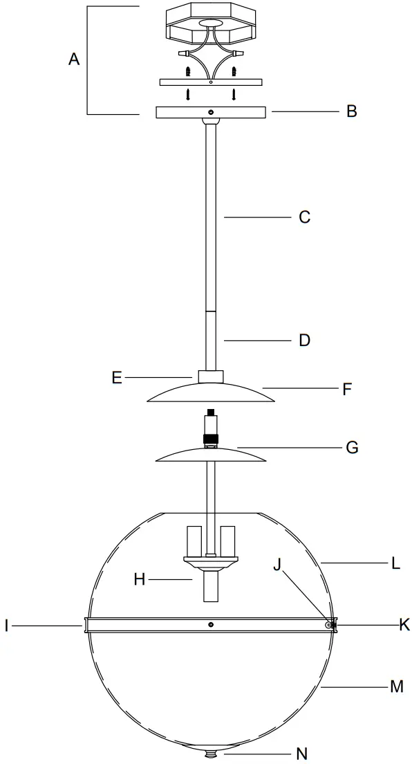
Sketch Map
WARNING: This product can expose you to Lead, which is known to the State of California to cause cancer and/or birth defects or reproductive harm. For more information go to www.P65Warnings.ca.gov
Part Number
Part Numbers
| A. Mounting Hardware (3)Wire Nut (4)Wall anchor (4)Anchor screw (4)Screws (1)Mounting Plate (1)Green Ground Screw B.(1)Canopy;7″x7″x0.55″h;XMO2016AGCAN7IN C.(3)Rod;Ø0.63″x12″h;XMO2016AGROD12IN |
D.(1)Rod;Ø0.63″x3″h;XMO2016AGROD3IN E.(1)Decorative nut F.(1)Upper metal cap;XMO2016AGCAPUP G.(1)Lower metal cap;XMO2016AGCAPLOW H.(1)Light cluster I.(1)Metal band;XMO2016AGRING12IN J.(3)Ball nut K.(3)Screws L.(1)Top Lucite ball;XMO2016TOPLUC16IN M.(1)Bottom Lucite ball;XMO2016BOTLUC16IN N.(1)Finial |
