Contents
CROSSBEATS Shuffl Bluetooth Wireless Earphones with Mic

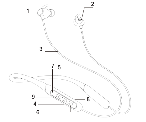
Product description

- Premium metal body
- Silicone Eartips
- Earphone cable
- Multifunction button
- Volume+
- Volume•
- LED indicator
- Microphone
- USB Type-C Charging port
Basic operation
- Power on: Separate the left and right earbuds magnetically, the blue light will be on for 1 s, then red and blue will alternate with a beep.
- Power off: Connect the left and right ear magnetic suction, the red light will be on for 1 sec and go out. and there will a prompt sound.
- Pairing mode: After powering on, the earbuds will automatically enter pairing mode, and the indicator lights red and blue start to blink alternately.
Note: earbuds If the will pair device is automatically already connected, then the - Connect the mobile phone
After the headset enters the pairing mode, open your phone’s BT list, search for CB-Shuffl and connect. Once the device is paired, you will receive a prompt.
Call operation
- Call answering: When receiving a call, short press the multi-function button.
- Reject a call: When receiving a call, double-dick the multifunction button.
- End a call: Ouring a call, short press the multi-function button.
Voice assistant
Long press the multi-function button 2 sec to wake up/close the voice assistant function.
Playing Music operation
- Previous song:Tum on the phone music player, press and hold the volume – button for 2 seconds.
- Next song: Turn on the phone music player, press and hold the volume+ button for 2 seconds.
- Add volume: Short press the volume+ button to increase the volume.
- Decrease the volume: Short press the volume-key to decrease the volume.
- Game mode: Double press on the multifunction button
- Recent calls: Triple press on the multifunction button
Charging indication
- Charging mode: indicator light is steady red.
- Fully charged mode: the indicator light is steady blue.
+91 8050056565
+91 8050056565
[email protected]
