GA271
Cooler Master 27″ Gaming Monitor
User Manual
Contents
Requirements and Safety Notice
FCC Safety Notice
This product has been tested and determined to be meeting the limits for a Class B digital device and in compliance with Part 15 of the FCC Regulations. These requirements are set to reasonably protect the home installation environment from hazardous interference. This product will generate, use and emit radio frequency energy. Failure to install and use it as instructed may cause hazardous interference to radio communication.
However, we cannot guarantee zero interference for certain installation methods. If this product has caused hazardous inteference to radio or TV reception (turn on or turn off this product to for confirmation), the user may try to make adjustment with the following methods:
- Re-adjust the angle and position of the reception antenna.
- Increase the distance between the device and receiver.
- Do not use the power sockets of the device and receiver together.
- If assistance is needed, contact the distributor or a professional radio/TV technician.
CE Compliance Statement
Cooler Master Technology Inc. hereby declares that the monitor conforms to the following key standards and other related provisions:
EMC Directive 2014/30/EU, Low Voltage Directive 2014/35/EU, RoHS Directive 2011/65/EU and Directive 2009/125/EC establishing a framework for the setting of eco-design requirements for energy-related products.
Note:
To prevent damage of the monitor, do not lift the monitor from the support base.
Note: Shielded cable
To comply with the EMC requirements, a shielded cable must be used for connection between this product and any other computer device.
Note:
The monitor is exclusively used in the video and image display of information acquired from electronic devices.
Note: Peripherals
Only a peripheral device (I/O device, terminal, printer, etc.) that has been certified and met the Class B limits can be sold together with this product. If this product is used together with any other uncertified peripheral device, it may cause interference to radio and TV reception.
Warning
Any change or modification not approved by the original manufacturer may lead to the user losing the right to operate this product. Such authorization is given by the Federal Communications Commission.
Requirements for Use
This product meets the limits under Part 15 of the FCC Regulations. When operating this product, please meet the following two requirements: (1) This product may not generate hazardous interference; and (2) This product must accept any interference signal received, including interference that is likely to lead to unexpected operation.
The following local Manufacturer/Importer is responsible for this declaration.
Product Name:LCD Monitor
Model No:GA271
Company Name:North America – CMI USA, Inc.
Address:1 N Indian Hill Blvd Suite 200, Claremont, CA 91711, USA
Contact Person: Cooler Master Representative
Phone No: +1-888-624-5099
Note: Canadian users
This Class B digital device complies with Canadian ICES-003 specifications.
Remarque à I’intention des utilisateurs canadiens Cet appareil numrique de la classe B est conforme à la norme NMB-003 du Canada
Disposal of Waste Equipment by Home Users in EU
If this symbol appears on a product and its package, it indicates that the product cannot be disposed of together with other household waste. You have to deliver the waste equipment to a designated recycling center for recycling of waste electrical and electronic equipment. Proper sorting and recycling of resources during the disposal of waste equipment is helpful for protecting natural resources and ensuring that resource recycling can protect human health and environment. For detailed information about recycling centers where waste equipment is disposed of, contact the local municipal office, cleaning service or the store where the purchased product is found.
Important Safety Instructions
Please read the following instruc ons carefully.
- To clean the LCD monitor screen:
Turn off the LCD monitor and unplug the power cord. Spray a non-solvent cleaning solu on onto a rag and clean the screen gently. - Do not place the LCD monitor near a window. Exposing the monitor to rain, moisture or sunlight can severely damage it.
- Do not apply pressure to the LCD screen. Excessive pressure may cause permanent damage to the display.
- Do not remove the cover or a empt to service this unit yourself.
An authorized technician should perform servicing of any nature 5. Store the LCD monitor in a room with a temperature of -20° to 60° C (- 4° to 140° F). Storing the LCD monitor outside this range may result in permanent damage. - Immediately unplug your monitor and call an authorized technician if any of the following circumstances occur:
• Monitor to PC signal cable is frayed or damaged.
• Liquid spills onto the LCD monitor or the monitor is exposed to rain.
• The LCD monitor or case is damaged.
Package Contents

Installing the Monitor Arm/Base
Adjusting the Monitor
- For the best results, it is recommended to look directly at the front of the monitor and make any adjusts as necessary.
- Ensure that the monitor is mounted upright on the stand base.
- When adjusting the monitor viewing angles, avoid touching the screen and hold the stand in order to prevent it from falling over.

Wall Mount Installation Instructions

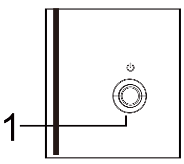
External Control Buttons
① Menu/Navi/OK button
Short press to turn on the monitor and Long press to turn off.
When the OSD menu is activated,pull up/down/left/right the button to adjust the settings you need.When finished, you can pull the Button Back to return to the previous level or use the Button Exit to close the OSD menu.
NOTE: Power light; Blue = ON; Orange = Power Saving.
Main Menu
Picture 
- Enter the Picture menu to configure image setting.
-
- Picture Mode: Enter the Picture Setting menu to adjust different picture modes.
a. Act: Provide the optimized setting for Act(Action) games.
b. FPS: Provide the optimized setting for FPS(First Person Shooting) games to increase the visibility in dark scenes.
c. RTS: Provide the optimized setting for RTS(Real-Time Strategy) games.
d. User: Provide customized option for user experience.
e. Standard: Enable standard picture mode.
f. Web: Provide the optimized setting for website browsing experience.
g. Text: Provide the optimized setting for reading(Native color space: sRGB).
h. HDR: EnableHDR picture mode. - Brightness: Adjust the backlight brightness level between 0 and 100.
- Contrast : Adjust the Contrast level between 0 and 100.
- Black Stabilization: Adjust the backlight brightness level between 0 and 10.
- Blue Light Filter : Adjust the Contrast level between Off,50%, 60%,70% and 80%.
- Advanced DCR: Turn the Advanced DCR function On or Off.
- HDR: Turn the HDR function Off or Auto.
- Picture Mode: Enter the Picture Setting menu to adjust different picture modes.
-
Color

- Enter the Color menu to adjust the ideal color mode.
-
- Gamma: Adjust gamma curve between 1.8, 2.2 and 2.4.
- Color Space: Convert the clolor space between sRGB, Rec.709, HDR, EBU,SMPTE-C and Standard.
- Color Temperature: Adjust between Bluish, Cool, Native, Warm and User Color settings which can adjust Red, Green and Blue value from 0 to 100.
-
Audio
- Enter the Audio menu to adjust functions including Mute and Volume functions etc.
-
- Volume: Adjust the volume value between 0 and 100.
- Mute: Enable or disable the mute function.
*Adjust volume value level properly to avoid damaging hearing.
-
Gaming
- Go to the Gaming menu to adjust the desired Gaming mode.
-
- Over Drive: Off, Normal, Advanced modes are available options for speeding up the response time.
- Adaptive-Sync: Turn the Adaptive-Sync function On or Off.
*Enabling Adaptive-Sync may cause side effects like flicker due to the fluctuation of the output frequency from graphics cards. - Motion Clearness: MPRT setting with: Off or On as available options.
- FPS Counter: Turn the FPS Counter function On or Off.
- Crosshair: Off, Icon1, Icon2, Icon3 are available options turn the Crosshair position off or adjust it.
-
OSD
-
-
- Language: English, Russian, German,French, Spanish, Italian, Finnish,Traditional Chinese,
Simplified Chinese Japanese, Korean are available options. - OSD Timeout: Adjust the OSD Timeout setting value between 10 and 120.
- OSD Background: Turn the OSD Background setting value between Off, 20%, 40%, 60% and 80%.
- Language: English, Russian, German,French, Spanish, Italian, Finnish,Traditional Chinese,
-
System
-
-
- Input Select: Select the source from an available input sourc,including HDMI 1,HDMI 2 and DP.
- Auto Source: Automatically searches for available input sources.
- Aspect Ratio: Full Screen and Aspect Screen mode can be selected.
- DDC/CI: Turn the DDC/CI function On or Off.
- Quick Start Mode: Turn the Quick Start Mode function On or Off.
-
Information
-
-
- Information: View the basic information of the model including Main Source, Resolution, H/V Frequency, Mode and Series Number setting.
- Memory Recall: Restore the Settings back to default values.
-
Specifications
| LCD panel | Size | 27” |
| Pixel pitch | 0.2331(H) x 0.2331(V)mm | |
| Brightness | 250nits(Typ.) | |
| Contrast | 4000:1(Typ.) | |
| Viewing angle | 178°(Horizontal)178°(Vertical) | |
| Response time | 1ms MPRT ( motion clearness on ) | |
| Display colors | 16.7 million colors | |
| Max. display frequency (Resolution H*V/Fv) | 2560*1440 @ 100 Hz(DP) 2560*1440 @ 100 Hz(HDMI) |
|
| Power consumption | Power On | 18W (Typ.)** |
| Standby | ≤0.5W | |
| Power off | ≤0.3W | |
| Input/output connector | DP x1 HDMI x2 Earphone jack x1 |
|
| Input video signal | DP signal (DP models only); HDMI signal (HDMI models only); |
|
| Speakers | NA | |
| Audio effect | Audio output (only for audio output model) | |
| Adapter | DC12V 4.0A | |
| Environmental conditions | Operating temperature:0ºC~40ºC; Storage temperature:-20ºC~60ºC; Operating humidity:10~85%RH |
|
| Machine size(L x Wx H) | 613.0X224.5X456.0mm(with arm/base) 613.0X43.5X360.6mm(without arm/base) | |
| Box dimension(L x Wx H) | 689X141X443mm | |
| Weight (Net) | 3.50 kg/Unit (with arm/base) 3.10 kg/Unit (without arm/base) |
|
| Machine specifications | Tilt: -5° to 20° | |
| ComplianceThe terms HDMI and HDMI High-Defini on Mul media Interface, and the HDMI Logo are trademarks or registered trademarks of HDMI Licensing Administrator, Inc. in the United States and other countries. | ||
*Specifications are subject to change without notice.
**Measure a screen brightness of 200 nits without audio/USB/Card reader connection.
If you have any question regardin g use of the monitor, please visit: https://www.coolermaster.com/warranty
Supported Timing
PC Timing
|
Mode |
Resolution |
Horizonta l Frequenc y (KHz) |
Vertical Frequenc y (Hz) |
Pixel Clock (MHz) |
Port |
|
| HDMI IN |
DP IN |
|||||
| VGA | 640×480@60Hz | 31.469 | 59.940 | 25.175 | o | o |
| 640×480@72Hz | 37.861 | 72.809 | 31.500 | o | o | |
| 640×480@75Hz | 37.500 | 75.000 | 31.500 | o | o | |
| MAC | 640×480@6666Hz | 35.000 | 66.667 | 30.240 | o | o |
| VESA | 720×400@70Hz | 31.469 | 70.087 | 28.322 | o | o |
| SVGA | 800×600@56Hz | 35.156 | 56.250 | 36.000 | o | o |
| 800×600@60Hz | 37.879 | 60.317 | 40.000 | o | o | |
| 800×600@72Hz | 48.077 | 72.188 | 50.000 | o | o | |
| 800×600@75Hz | 46.875 | 75.000 | 49.500 | o | o | |
| MAC | 832×624@7455Hz | 49.722 | 74.550 | 57.280 | o | o |
| XGA | 1024×768@60Hz | 48.363 | 60.004 | 65.000 | o | o |
| 1024×768@70Hz | 56.476 | 70.069 | 75.000 | o | o | |
| 1024×768@75Hz | 60.023 | 75.029 | 78.750 | o | o | |
| VESA | 1152×864@75Hz | 67.500 | 75.000 | 108.000 | o | o |
| 1280×960@60Hz | 60.000 | 60.000 | 108.000 | o | o | |
| SXGA | 1280×1024@60Hz | 63.981 | 60.020 | 108.000 | o | o |
| 1280×1024@75Hz | 79.976 | 75.025 | 135.000 | o | o | |
| VESA | 1280×720@60Hz | 45.000 | 60.000 | 74.250 | o | o |
| WXGA | 1280×800@60Hz | 49.702 | 59.810 | 83.500 | o | o |
| WXGA+ | 1440×900@60Hz | 55.935 | 59.887 | 106.500 | o | o |
| WSXGA+ | 1680×1050@60Hz | 65.290 | 59.954 | 146.250 | o | o |
| FHD | 1920×1080@60Hz | 67.500 | 60.000 | 148.500 | o | o |
| QHD | 2560×1440@60Hz | 88.786 | 59.951 | 241.500 | o | o |
| 2560×1440@75Hz | 111.900 | 75.000 | 317.796 | o | o | |
| 2560×1440@100Hz | 150.919 | 99.946 | 410.500 | o | o | |
Video Timing
| Video ID code | Formats | Aspect Ratio | Field Rate (Hz) | Horizontal (kHz) | Vertical (Hz) | Pixel Clock
(MHz) |
H-Total |
V-Total |
| 1 | 640x480p | 4:3 | 59.94 | 31.469 | 59.94 | 25.175 | 800 | 525 |
| 60 | 31.5 | 60 | 25.2 | 800 | 525 | |||
| 3 | 720x480p | 16:9 | 59.94 | 31.469 | 59.94 | 27 | 858 | 525 |
| 60 | 31.5 | 60 | 27.027 | 858 | 525 | |||
| 4 | 1280x720p | 16:9 | 59.94 | 44.955 | 59.94 | 74.176 | 1650 | 750 |
| 60 | 45 | 60 | 74.25 | 1650 | 750 | |||
| 16 | 1920x1080p | 16:9 | 59.94 | 67.433 | 59.94 | 148.352 | 2200 | 1125 |
| 60 | 67.5 | 60 | 148.5 | 2200 | 1125 | |||
| 18 | 720x576p | 16:9 | 50 | 31.25 | 50 | 27 | 864.000 | 625 |
| 19 | 1280x720p | 16:9 | 50 | 37.5 | 50 | 74.25 | 1980.000 | 750 |
| 31 | 1920x1080p | 16:9 | 50 | 56.25 | 50 | 148.5 | 2640.000 | 1125 |

