Contents
Contour Design B50207011510030-502WL Wireless Pro Roller Mouse

What’s in the Box
- RollerMouse Pro Wireless
- Wrist rest (if included)
- Two Keyboard risers
- Dongle *
- USB extender *
- USB charging cable *
* Attached together in the box.
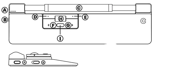
Functions
- A. Cursor speed
- B. Power switch
- C. Rollerbar
- D. Copy
- E. Paste
- F. Left-click
- G. Right-click
- H. Scroll wheel
- I. “One Touch” double-click
Quick Start
- To connect via Bluetooth:
Power on RollerMouse (button B. On your computer, navigate to the area of settings regarding Bluetooth connections.
Select the option to add or discover a Bluetooth device. Your RollerMouse ill automatically be recognized, select it for the computer to start Bluetooth connection. - To connect via USB dongle:
Insert USB dongle into available USB port and power on your RollerMouse.
Your computer will recognize your new device and connect automatically. - To connect via a wired USB connection:
Connect USB cable to your RollerMouse and into an available USB port on your computer. Your computer will recognize your new device and connect automatically.
Cursor Speed (DPI)
Press the Cursor speed button A to cycle through cursor speeds.
There are speed selections which range from slow (600 DPI) to fast (2800 DPI). Speed can be identified by the LED lights as shown.
Hold Cursor speed button A for 8 seconds to default settings.
Battery 
- Battery level is shown when the device is powered on or plugged in.
- If battery is below 20%, a single light will blink to indicate the need to charge the device.
Click force adjustment
Click force refers to the level of resistance when clicking the Rollerbar. To adjustclick force, press and hold button A (Cursor speed button), then press and release button C (Rollerbar). Move button H (Scroll wheel) up and down to adjust the click force settings, the LED light will show current click force setting.
Note: The Rollerbar click function can be turned off using the above adjustment method, by moving the scroll wheel until all LEDs are lit.
Click volume adjustment
The Rollerbar has 6 different click volume settings. To change the click volume, press and hold button A (Cursor speed), while continuing to hold A, press and release button H (Scroll wheel), the LED light will show current click volume setting.
Move button H up/down to adjust volume setting. Release button A to confirm adjusted click volume.
Note: The Rollerbar click volume can be turned off using the above adjustment method, by moving the scroll wheel until all LEDs are lit.
Pairing and Secondary Options
- Restart Bluetooth pairing:
Press button A. While continuing to hold A, press and release button F two times, then release button A. - Select Bluetooth-only connectivity:
Press button A. While continuing to hold A, press and release button F three times ,then release button A. - Select dongle-only connectivity:
Press button A, while continuing to hold A, press and release button G three times then release button A. - Restore pairing with dongle:
Unplug then re-plug the dongle to the unit to enable pairing. Hold the device close to dongle and press button A. While continuing to hold A, press and release button G two times, then release button A. - Reset wireless function to automatic pairing mode:
Press button A. While continuing to hold A, Press and release button F, then release button A.
- When the device is plugged in through the USB cable, this connection overrides wireless connectivity.
- Please visit contourdesign.com/BT for further information regarding your Bluetooth connection.
- If Bluetooth- or dongle-only connectivity is activated, the RollerMouse will retain connection when the device is powered off then powered back on again.
Charging / Extension Wireless Connection
To charge your RollerMouse remove the USB extender and dongle from the charging cable. Plug the USB-C end into the RollerMouse. Your RollerMouse will charge in 5 hours. You may continue to use your RollerMouse as it charges.
Once powered on, the device is in automatic mode which will pair to the first available connection. The device will attempt to connect to the dongle first. If noconnection is made, the device will attempt to connect via Bluetooth using the pairing information that is already in the unit. If no pairing information is available, it will start Bluetooth pairing mode and remain in that pairing mode for about two minutes. If device is left in automatic pairing mode, RollerMouse will cycle through the above steps each time it’s powered off then powered back on again.
Battery Disposal
Keyboard Risers
Before using your RollerMouse Pro, take a moment and adjust the keyboard risers to achieve the desired keyboard height and angle. For a proper ergonomic position, the front edge of the keyboard should be as close to the Rollerbar as possible.
Warranty
2-year Warranty
All Contour Design products come with a 2-ye
Product Support
For information on software drivers, product manuals ,and advanced product settings suchas thin client mode, please visit contourdesign.com/support
Sales Support
If you have questions about your recent purchase email us:
United States: [email protected]
All other countries: [email protected]
