CHRISTOPEIT WP 1000 Home Sport Training Equipment Rowing Machine Instruction Manual

Home » CHRISTOPEIT » CHRISTOPEIT WP 1000 Home Sport Training Equipment Rowing Machine Instruction Manual

CHRISTOPEIT-logo

CHRISTOPEIT WP 1000 Home Sport Training Equipment Rowing Machine

CHRISTOPEIT-WP-1000-Home-Sport-Training-Equipment-Rowing-Machine-product

Dear customer,
we congratulate you on your purchase of this home training sports unit and hope that we will have a great deal of pleasure with it. Please take heed of the enclosed notes and instructions and follow them closely concerning assembly and use.
Please do not hesitate to contact us at any time if you should have any questions.

IMPORTANT RECOMMENDATIONS AND SAFETY INSTRUCTIONS

Our products are all TÜV-GS tested and therefore represent the highest current safety standards. However, this fact does not make it unneces-sary to observe the following principles strictly.

  1. Assembly the machine exactly as described in the installation in-structions and use only the enclosed, specific parts of the machine. Before assembling, verify the completeness of the delivery against the delivery notice and the completeness of the carton against the assem-bly steps in the installation and operating instructions.
  2. Check the firm seating off all screws, nuts and other connections before using the machine for the first time and at regular intervals to ensure that the trainer is in a safe condition. Carry out a visual inspec-tion of the water tank after training in order to detect any leaks in the tank at an early stage and to avoid further damage.
  3. Set up the machine in a dry, level place and protect it from mois-ture and water. Uneven parts of the floor must be compensated by suitable measures and by the provided adjustable parts of the machine if such are installed. Ensure that no contact occurs with moisture or water.
  4. Place a suitable base (e.g. rubber mat, floor mat, wooden board etc.) beneath the machine if the area of the machine must be specially protected against pressure marks, wetness and dirt or etc.
  5. Before beginning training, remove all objects within a radius of 2 metres from the machine.
  6. Do not use aggressive cleaning agents to clean the machine and employ only the supplied tools or suitable tools of your own to assem-ble the machine and for any necessary repairs. Remove drops of sweat from the machine immediately after finishing training.
  7. WARNING! Systems of the heart frequency supervision can be inexact. Excessive training can lead to serious health damage or to the death. Consult a doctor before beginning a planned training pro-gramme. He can define the maximum exertion (pulse, Watts, duration of training etc.) to which you may expose yourself and can give you precise information on the correct posture during training, the targets of your training and your diet. Never train after eating large meals.
  8. Only train on the machine when it is in correct working order. Use original spare parts only for any necessary repairs. WARNING! Replace the worm parts immediately and keep this equipment out of use until repaired.
  9. When setting the adjustable parts, observe the correct position and the marked, maximum setting positions and ensure that the newly adjusted position is correctly secured.
  10. Unless otherwise described in the instructions, the machine must only be used for training by one person at a time. The exercise time should not overtake 60 min./daily.
  11. Wear training clothes and shoes which are suitable for fitness training with the machine. Your clothes must be such that they can-not catch during training due to their shape (e.g. length). Your training shoes should be appropriate for the trainer, must support your feet firmly and must have non-slip soles.
  12. WARNING! If you notice a feeling of dizziness, sickness, chest pain or other abnormal symptoms, stop training and consult a doctor.
  13. Never forget that sports machines are not toys. They must there-fore only be used according to their purpose and by suitably informed and instructed persons.
  14. People such as children, invalids and handicapped persons should only use the machine in the presence of another person who can give aid and advice. Take suitable measures to ensure that children never use the machine without supervision.
  15. Ensure that the person conducting training and other people never move or hold any parts of their body into the vicinity of moving parts.
  16. At the end of its life span this product is not allowed to dispose over the normal household waste, but it must be given to an assembly point for the recycling of electric and electronic components. You may find the symbol on the product, on the instructions or on the packing. The materials are reusable in accordance with their marking. With the re-use, the material utilization or the protection of our environment. Please ask the local administration for the responsible disposal place.
  17. To protect the environment, do not dispose of the packaging ma-terials, used batteries or parts of the machine as household waste. Put these in the appropriate collection bins or bring them to a suitable col-lection point.
  18. This machine has been tested and certified in compliance with EN ISO 20957-1:2013 + EN 957-7:1998 H/C. The maximum permissible load (=body weight) is specified as 120 kg. This item’s computer cor-responds to the basic demands of the EMV Directive of 2014/30EU .
  19. Do not overfill the water tank and pay attention to the max. mark-ing of water level. If the tank is overfilled, water can escape during training or when the device is transported and cause damage. Use nor-mal tap water as this already has additives that do inhibit algae growth. After about 6-12 months (depending on usage), it makes sense to re-place the water, as the additives have been used up. Alternatively, you can use 1 chlorine tablet to treat the water and protect the tank from sedimentations. A cleaning process of the inner tank with all parts lo-cated there is then done automatically by the training.
  20. The assembly and operating instructions is part of the product. If selling or passing to another person the documentation must be pro-vided with the product.

ASSEMBLY INSTRUCTIONS

Remove all the separate parts from the packaging, lay them on the floor and check roughly that all are there on the base of the assembly steps. Please note that a number of parts are connected directly to the main frame preassembled. In addition, there are sev-eral other individual parts that have been attached to separate units. This will makes assembly easier and quicker for you. Assembly time: 15 min.

STEP 1:
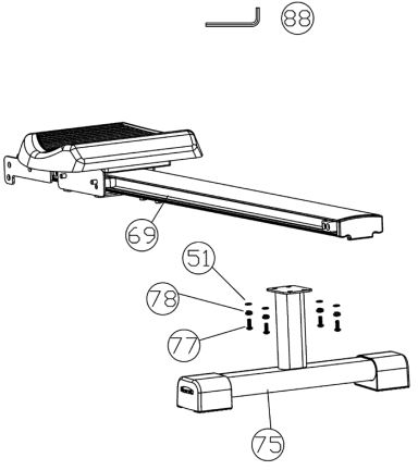
Attach the rear foot (75) at slide rail (69).

  1. Put the rear foot (75) under the seat rail (69) and screw it tightly by using screw M8x16 (77), washers 8//19 (51) and spring washers for M8 (78).CHRISTOPEIT-WP-1000-Home-Sport-Training-Equipment-Rowing-Machine-fig 2

STEP 2:
Attach the seat rail (69) at frame (52).CHRISTOPEIT-WP-1000-Home-Sport-Training-Equipment-Rowing-Machine-fig 3

  1. Put the seat rail (69) onto the holder at frame (52) sothat the side holes are align and tighten the side rail (69) at frame (52) by using screw M10x125 (65), washer 10//20 (66) and nylon nut M10 (67). Don’t tighten the screw (65) too much, sothat the fold up system works easy.
  2. Secure the seat rail (69) before training by screw in the hand grip screw (68), washer (103) and lock up with locking pin (70).

STEP 3:
Attach the computer (1) at computer support (2).CHRISTOPEIT-WP-1000-Home-Sport-Training-Equipment-Rowing-Machine-fig 4

  1. Take the computer (1) and insert the batteries (Type “AA”-1.5V pencells) by watching for the right polarity on the back of the computer (1). (Batteries for the computer are not included in this item. Please buy them at your located market.)
  2. Lead the computer (1) to computer holder (2) and push the plug of the sensor cables (3) into the associated socket of the computer (1).
  3. Storage the cable connection and put the com-puter (1) on the computer holder (2) until it clicks into place.

STEP 4:
Refill the water tank (16)CHRISTOPEIT-WP-1000-Home-Sport-Training-Equipment-Rowing-Machine-fig 5

  1. Use tap water from a bucket to refill water tanks (16). Remove the filling plug (17) from the water tank, insert the flexible pipe end of the water pump (89) approx. 10 cm into the water tank (16) and the rigid pipe end into the bucket with water.
  2. Turn on the screw cap and press the hand bel-lows to pump the water into the tank (16). (If the bucket position is higher than the tank the water will flow automatically into the tank after pressing some hand bellows. Turn off the screw cap to interrupt the waterflow.) The tank has a mark for the max. wa-ter level. This maximum limit may not be exceeded.
    Caution: If the tank (16) is overfilled, water will spill out during transport and during training and may cause damage.
  3. We recommend refill the water level slightly be-low max. level, as this is the optimal rowing resist-ance given. The desired intensity during training is freely selectable by the speed of the rowing. For less water resistance you can remove water from the tank by means of the hand pump (89) by swapping the pipe ends of the hand pump.

STEP 5:
Fold up and storage the rowing machine.CHRISTOPEIT-WP-1000-Home-Sport-Training-Equipment-Rowing-Machine-fig 6

  1. To storage the rowing machine, screw out the hand grip screw (68) totally and pull the locking pin (70) to unlock the seat rail (69). Fold up the seat rail (69) into vertically position and secure this position with push in the locking pin (70) in the holes which align. The hand grip screw (68) and washer (103) you can storage into the thread at bottom area of frame (52).

STEP 6:
Checks

  1. Check the correct installation and function of all screwed and plug connections. Installation is thereby complete.
  2. When everything is in order, familiarize yourself with the machine at a low exercise.

Note:
Please keep the tool set and the instructions in a safe place as these may be required for repairs or spare parts orders becoming necessary later.

COMPUTER MANUALCHRISTOPEIT-WP-1000-Home-Sport-Training-Equipment-Rowing-Machine-fig 7

The supplied computer allows the most convenient training. Every val-ue relevant to training is displayed in a corresponding window of low-er display. In the upper area, the large display can be set with chang-ing functions (Scan) or a permanent function. From the beginning of the training session, the required time, the rowing strokes, strokes to-tal, strokes per minute, the approximate calorie consumption and the travelled distance displayed. All values counts from zero upwards. The computer switch on by briefly pressing one key or simply by begin-ning training. The computer begins to register and display all values. A rowing icon in upper display area shows the data transfer. To stop the computer, just stop training. The computer stops all measurements and retains the last attained values for 4 min. (except rowing strokes per Minute) It is possible to continue training from these values within 4min. The computer switches of automatically approx. 4 minutes after training is stopped. All values attained until that time reset to zero. (ex-cept Strokes Total)

DISPLAYS

  1. TIME“- display:
    The currently required time are displayed in minutes and seconds. It is possible to specify a particular value using the “+” or “-” -key. If a par-ticular time has been specified, the remaining time is displayed. When the specified value is attained, this is indicated by an acoustic signal.(Limit of the display: 99.00 minutes.)
  2. Strokes“ – display:
    The current status of strokes are displayed. It is possible to specify a particular value using the “+” or “-” -key. If particular strokes has been specified, the remaining strokes are displayed. When the specified val-ue is attained, this is indicated by an acoustic signal. (Limit of strokes display: 9999) This display window changes automatically every 5 sec-onds and shows also strokes Total.
  3. Strokes Total“ – display:
    The strokes of all exercise sessions are displayed. It is not possible to specify a particular value using the “+” or “-” -key. (Limit of strokes dis-play: 9990) This display window changes automatically every 5 seconds and shows also strokes.
  4. Strokes per minute“ (SPM) – display:
    The strokes per minute are displayed. It is not possible to specify a par-ticular value using the “+” or “-” -key. (Limit of strokes display: 99)
  5. Distance“ – display:
    The current status of the travelled distance in Km is displayed. It is pos-sible to specify a particular value using the “+” or “-” -key. If a particu-lar distance has been specified, the remaining kilometer is displayed. When the specified value is attained, this is indicated by an acoustic signal. (Limit of the display: 99,00 Km.)
  6. CALORIES“ – display:
    The current status of the consumed calories is displayed. It is possible to specify a particular value using the “+” or “-” -key. If a particular con-sumption has been specified, the remaining number of calories to be consumed is displayed. When the specified value is attained, this is in-dicated by an acoustic signal. (Limit of the display: 9990 calories.)
  7. SCAN“ function:
    After turning on the computer, the scan function is automatically pre-set. SCAN lights up in the display and indicates the activation. In the continuous change of approx. 6 seconds, the current values of all func-tions are displayed successively in the upper, large display window. For the permanent display of a function in this display window, select the desired function with the „E“ key.

KEYS:

  1. “E” -key:
    Pressing this key once briefly makes it possible to change from one function to another, i.e. the respective functions can be selected for which entries can be made using the “+” or “-” -key. The currently se-lected function is indicated by an icon in the respective window.
  2. “+” or “-” -key:
    By pressing this key once, it is possible to specify values step by step in the respective functions. For this, the desired function must firstly be selected using the „E“ -key. Holding the key pressed activates faster running. When training begins, the specified values are then counted down to zero.
  3. L” –key:
    Make pressing this key to delete a given value in a function.
  4. Total Reset” –key:
    By pressing this key, the total erasure of all last reached values can be made. All values of all displays are set to zero, except for the Strokes To-tal function. This function can delete, when battery is changed or reach target value 9999.

OPERATING AND EXERCISING INSTRUCTIONS

Exercise 1

  • a) Begin this exercise with your legs straight, knees together and the upper part of your body upright.
  • b) Bend forward without bending your knees, grip the handle bar and pull back until the upper part of your body is upright again. Important: The oar levers should be pulled back with the arms (and not with the body) until your hands have reached your body.
  • c) Bring the handle bar back to the starting position again.
  • d) Rest for a moment and then carry out the exercise again, repeating it quietly and continuously.

Exercise 2

  • a) Begin this exercise sitting upright with the seat as far forward as pos-sible and your knees bent.
  • b) Push back with the legs keeping your knees together and at the same time pulling the handle bar towards you.
  • c) Continue pulling until your legs are straight and your hands have rea-ched your body.
  • d) Relax your arms and legs and let the seat slide forward until you have reached the start position (a) again and then repeat the exercise again.CHRISTOPEIT-WP-1000-Home-Sport-Training-Equipment-Rowing-Machine-fig 8

CLEANING, CHECKS AND STORAGE

  1. Cleaning
    Use only a less wet cloth for cleaning. Caution: Never use benzene, thinner or other aggressive cleaning agents for surface cleaning as this dam-age caused. The device is only for private home use and for use suitable indoors. Keep the unit clean and moisture from the device.
  2. Storage
    Remove the batteries from the computer while intending the unit for more than 4 weeks not to use. Fold up the seat frame and secure with lock-ing pin. Choose a dry storage in-house and spray some oil to the thread of the handlebar bolt for fold up function. Cover the bike to protect it from being discolor by any sunlight and dirty through dust.
  3. Checks
    We recommend every 50 hours to review the screw connections for tightness, which were prepared in the assembly. Every 100 operating hours, you should spray some oil at the thread of the handlebar bolts for fold up function.

TROUBLESHOOTING

Problem Mögliche Ursache Lösung
Computer has no value at Dis- play if you press any key. No Batteries insert or batteries empty Check the position of batteries at battery compartment or re- place batteries.
Computer is not counting data and do not switch on after start

cycling.

Sensor impulse missing base on not well plugged connection Check the plug connections at computer.
Computer is not counting data and do not switch on after start cycling. Sensor impulse missing base on not cor- rect position of sensor. Check the distance between magnet and sensor. The magnet which is positioned in front at pulley unit should have only less than < 5mm distance against the sensor position.

If you cannot solve the problem with the following information, please contact the authorized service center.CHRISTOPEIT-WP-1000-Home-Sport-Training-Equipment-Rowing-Machine-fig 9

GENERAL TRAINING INSTRUCTIONS

You must consider the following factors in determining the amount of training effort required in order to attain tangible physical and health benefits.

INTENSITY:
The level of physical exertion during training must exceed the point of normal exertion, without going beyond the point of breathlessness and/or exhaustion. A suitable reference value can be the pulse. With each training session, the condition increases and therefore the trai-ning requirements should be adjusted. This is possible by extending the duration of the training, increasing the level of difficulty or changing the type of training.

TRAINING HEART RATE
To determine the training heart rate, you can proceed as follows. Please note that these are guide values. If you have health problems or are unsure, consult a doctor or fitness trainer.

Maximum heart rate calculation
The maximum pulse value can be determined in many different ways, since the maximum pulse depends on many factors. You can use the main-formula for the calculation (maximum heart rate = 220 – age). This formula is very general. It is used in many home sport products to determine the maximum heart rate. We recommend the Sally-Edwards-formula. This formula calculates the maximum heart rate more precisely and takes gender, age and body weight into account.

Sally-Edwards-formula:

Men:
Maximum heart rate = 214 – (0.5 x age) – (0.11 x body weight)

Women:
Maximum heart rate = 210 – (0.5 x age) – (0.11 x body weight)

Training heart rate calculation
The optimal training heart rate is determined by the goal of the trai-ning. Training zones were defined for this.

Health – Zone: Regeneration and Compensation
Suitable for: Beginners / type of training: very light cardio training / goal: recovery and health promotion. Building the basic condition.

Training heart rate = 50 to 60% of the maximum heart rate
Fat-Metabolism – Zone: Basics endurance training 1
Suitable for beginners and advanced users / type of training: light cardio training / goal: activation of fat metabolism
(calorie burning). improvement in endurance performance.

Training heart rate = 60 to 70% of the maximum heart rate
Aerobic – Zone: Basics endurance training 1 to 2
Suitable for beginners and advanced / type of training: moderate cardio training. / Aim: Activation of the fat metabolism
(calorie burning), improving aerobic performance,
Increase in endurance performance.
Training heart rate = 70 to 80% of the maximum heart rate
Anaerobic – Zone: Basics endurance training 2 Suitable for advanced and competitive athletes / type of training: moderate endurance training or interval training / goal: improve-ment of lactate tolerance, maximum increase in performance.

Training heart rate = 80 to 90% of the maximum heart rate
Competition – Zone: Performance / Competition Training Suitable for athletes and high-performance athletes / type of trai-ning: intensive interval training and competition training / goal: improvement of maximum speed and power. ATTENTION! Training in this area can lead to overloading of the cardiovascular system and damage to health.

Training heart rate = 90 to 100% of the maximum heart rate

Sample calculation:
Male, 30 years old and weighs 80 kg. I am a beginner and would like to lose some weight and increase my endurance.

  1. Maximum pulse – calculation
    Maximum heart rate = 214 – (0.5 x age) – (0.11 x body weight)
    Maximum heart rate = 214 – (0.5 x 30) – (0.11 x 80)
    Maximum pulse = approx. 190 beats/min
  2. Training heart rate calculation
    Due to my goals and training level, the fat metabolism zone suits me best.
    Training heart rate = 60 to 70% of the maximum heart rate
    Training heart rate = 190 x 0.6 [60%] Training heart rate = approx. 114 beats/min
    After you have set your training heart rate for your training condition or Once you have identified goals, you can start training. Most of our pro-ducts have heart rate sensors or are heart rate belt compatible. So you can check your heart rate on the monitor during the workouts. If the pulse rate is not shown on the computer display or you want to be on the safe side and want to check your pulse rate, which could be incor-rectly displayed due to possible application errors or similar, you can use the following tools:

    • a. Pulse measurement in the conventional way (sensing the pulse beat, e.g. on the wrist and counting the beats within a minute).
    • b. Heart rate measurement with suitable and calibrated heart rate measuring devices (available from medical supply stores).
    • c. Heart rate measurement with other products such as heart rate monitors, smartphones….
  3. FREQUENCY:
    Most experts recommend the combination of a health-conscious diet, which must be adjusted according to the training goal, and physical exercise three to five times a week. A normal adult needs twice a week exercise to maintain its current condition. To improve his condition and change his body weight, he needs at least three training sessions per week. Ideal of course is a frequency of five training sessions per week.
  4. TRAINING PLAN
    Each training session should consist of three training phases: „warm-up phase“, „training phase“ and „cool-down phase“. In the „warm-up phase“ the body temperature and the oxygen supply should be increa-sed slowly. This is possible through gymnastic exercises over a period of five to ten minutes. After that you start with actual training “training phase”. The training load should be adapted according to the training heart rate. In order to support the circulation after the training phase and to preventaching or strained muscles later, it is necessary to follow the training phase with a cool-down phase. This should be consist of stretching exercises and/ or light gymnastic exercises for a period of five to ten minutes.

Example – stretching exercises for the warm-up and cool-down phases
Start your warm up by walking on the spot for at least 3 minutes and then perform the following gymnastic exercises to the body for the training phase to prepare accordingly. The exercises do not overdo it and only as far run until a slight drag felt. This position will hold a while.

CHRISTOPEIT-WP-1000-Home-Sport-Training-Equipment-Rowing-Machine-fig 10Reach with your left hand behind your head to the right shoulder and pull with the right hand slightly to the left elbow. Af-ter 20sec. switch arm.

Bend forward as far forward as possible and let your legs almost stretched. Show it with your fingers in the direction of toe. 2 x 20sec.

Sit down with one leg stretched out on the floor and bend forward and try to reach the foot with your hands. 2 x 20sec.

Kneel in a wide lunge forward and support yourself with your hands on the floor. Press the pelvis down. Change after 20 sec leg.

5. MOTIVATION
The key to a successful program is regular training. You should set a fixed time and place for each day of training and prepare yourself men-tally for the training. Only train when you are in the mood for it and al-ways have your goalin view. With continuous training you will be able to see how you are progressing day by day and are approaching your personal training goal bit by bit.

PARTS LISTCHRISTOPEIT-WP-1000-Home-Sport-Training-Equipment-Rowing-Machine-fig 1

SPARE PARTS LIST

Rowing machine with water resistance for efficient stimulating most of users muscles.

  • Resistance adjustable through water volume and pull power
  • Big water tank approx. 53cm Ø
  • High seat position with 31cm for an easy entrance and exit
  • Comfortable seat with ball bearings supported roller for silent movement
  • High quality aluminum rail with a length of approx. 111cm (up to 200cm body height)
  • Big foot plates with secure straps
  • Ergonomic shaped pull rod with soft grip foam
  • Seat rail foldable for saving space
  • Floor level compensation
  • Transport rollers at front foot
  • LCD Display with time, Rowing beats, Rowing beats total, distance, time for 500m, approx. calories and Scan
  • Input of limits for time, distance and approx. calories Announce-ment of higher limits
  • Load max. 120 kg (Body weight)

Space requirement approx. [cm]: L 208 x W 53 x H 53
Fold up space requirement approx. [cm]: L 90 x W 53 x H 144
Items weight [kg]: 34
Exercise space approx. [m2]: 2,5

No. Designation Dimensions [mm] Quantity Attached to ET number
1 Computer   1 2 36-1965-03-BT
2 Computer holder   1 52 33-1965-05-SW
3 Sensor with cable   2 1 36-1965-07-BT
4 Square cap 30×20 1 2 36-1241-14-BT
5 Cross screw M6x12 5 2+13+47 36-9805-44-BT
6 Curved washer 6//16 2 5 39-1007-CR
7 Wheel cover   1 52 36-1965-08-BT
8 Drawstring wheel with bearing   3 52 36-1965-09-BT
9 Fixed plate   1 28 33-1965-12-SI
10 Nylon nut M8 3 12+50 39-9918-CR
11 Sleeve   12 12+50+59 36-1965-44-BT
12 Inner hex screw M8x50 1 8+52 39-10056
13 Sensor shaft fixed part   1 3+52 36-1965-11-BT
14 Bearing 6302 1 33 36-1965-18-BT
15 Wave washer   1 14 36-1965-47-BT
16 Upper water tank   1 31 36-1965-04-BT
17 Water tank input plug   1 16 36-1965-13-BT
18 O-ring   2 22 36-1965-48-BT
19 Inner hex screw M4x15 12 16 39-10188
20 Washer 4//12 12 19 39-10510
21 C-clip C20 1 24 36-9925520-BT
22 Inner hex screw M6x15 8 9+16 39-10120-SW
23 Metal sleeve   1 24 33-1965-06-SW
24 Fan blades axle   1 33 33-1965-07-SW
25 Seal ring 90x50x5,3 1 28+33 36-1965-50-BT
26 Fixed pin 6x30L 1 24+28 36-1965-16-BT
27 Fixed pin 6x60L 2 24+29 36-1965-17-BT
28 Bearing holder   1 24 36-1965-49-BT
29 Water rotary blades   1 24 36-1965-20-BT
30 Rubber ring   1 16+31 36-1965-06-BT
31 Lower water tank   1 16 36-1965-05-BT
32 Nylon nut M6 12 19 39-9816-VC
33 Drawstring pulley   1 24 36-1965-19-BT
34 Magnet   1 33 36-1965-21-BT
35 Webbing   1 33+36 36-1965-22-BT
36 Pull rod   1 35 33-1965-09-SW
37 Pull rod end cap   2 36 36-1965-23-BT
38 Pull rod foam   2 36 36-1965-24-BT
39 Cover right   1 48+52 36-1965-02-BT
40 Cross screw 5×20 4 39+48 39-10190
41 Self-drilling screw 4×20 6 39+52 39-10187
42 Pedal strap   2 43+49 36-1965-25-BT
No. Designation Dimensions [mm] Quantity Attached to ET number
43 Pedal right   1 52 36-1965-26-BT
44 Washer 6//16 6 5+45 39-10013-VC
45 Cross screw M6x30 4 43+49 36-1965-42-BT
46 Square cap 40×30 2 52 36-1965-43-BT
47 Pull rod holder   1 52 33-1965-08-SW
48 Cover left   1 39+52 36-1965-02-BT
49 Pedal left   1 52 36-1965-27-BT
50 Inner hex screw M8x60 2 8+52 39-10436
51 Washer 8//19 5 50+77 39-9966-CR
52 Frame   1 54 33-1965-01-SW
53 Inner hex screw M10x60 4 52+54 39-9994
54 Base frame   1 52 33-1965-02-SW
55 Transportation roller end cap left   1 54 36-1965-28-BT
56 Square cap 38×28 4 54 36-1965-29-BT
57 Transportation roller end cap right   1 54 36-1965-30-BT
58 Cross tapping screw   4 55+57+76 39-10188
59 Inner hex screw M8x35 3 52,54+60 39-10133
60 Elastic string wheel   3 59 36-1965-31-BT
61 Nut M6 2 91 39-9861-SW
62 Elastic rope   1 33+54 36-1965-32-BT
63 Foot pad   2 54 36-1965-33-BT
64 End cap   2 54 36-1965-34-BT
65 Inner hex screw M10x125 1 52+69 39-9978
66 Washer 10//20 5 53+65 39-9989-CR
67 Nylon nut M10 5 53+65 39-9981
68 Handgrip knob   1 69 36-1965-35-BT
69 Slide support tube   1 52+75 33-1965-03-SW
70 Locking pin   1 52+69 36-1965-36-BT
71 Crash pad   4 73 36-1965-37-BT
72 Cross screw M6x20 8 71 39-9958
73 Slide rail   1 69 33-1965-11-SI
74 Slide rail end cap   1 73 36-1965-38-BT
75 Rear stabilizer   2 69 33-1965-04-SW
76 Rear stabilizer foot cap   2 75 36-1965-39-BT
77 Inner hex screw M8x16 4 69+75 39-9823-SW
78 Spring washer for M8 4 77 39-9864-VC
79 Seat   1 86 36-1965-10-BT
80 Nylon nut M6 4 87 39-9816-VC
81 Washer 6//16 8 87 39-10013-VC
82 Wheel sleeve   4 87 36-1965-41-BT
83 Wheel with bearing   4 87 36-1965-40-BT
84 Screw M6x35 4 83+86 39-9979-CR
85 Cross screw M6x16 4 79+86 39-10120-SW
86 Seat slide   1 73+79 33-1965-10-SW
87 Multi wrench 13-15-19 1 36-9107-27-BT
88 Hex wrench 6 1 36-9107-28-BT
89 Water pump   1 36-9107-46-BT
90 Ball bearing 6004 1 24 36-9217-32-BT
91 Eyebolt M6x55 1 54 39-10172
92 Drawstring pulley insert part   1 33 36-1965-51-BT
93 Locking plate 12x15x4 1 33 36-1965-52-BT
94 Press plate   1 33 36-1965-53-BT
95 Screw M5x10 1 33,93+94 39-9907-SW
96 Safety clip C40 1 33 36-1827-18-BT
97 Front foot pad mat left   1 55 36-1965-54-BT
98 Front foot pad mat right   1 56 36-1965-55-BT
99 Height adjustment   2 76 36-1965-56-BT
100 Foot square part     99 36-1965-57-BT
101 Rear foot cap pad mat   2 76 36-1965-58-BT
102 Crosshead screw M5x16 4 63 39-9903
103 Washer 13//24 1 68 39-10062-CR
104 Elastic rope fixed sleeve   2 62 36-1965-59-BT
105 Oil seal   1 28 36-1965-60-BT
106 Assembly and exercise instructions   1   36-1965-61-BT

Tel.: +49 (0)2051/6067-0
Fax: +49 (0)2051/6067-44
[email protected]
https://www.christopeit-sport.com
© by Top-Sports Gilles GmbH D-42551 Velbert (Germany)

Leave a Comment