
SDF104H
Siren Amplifier
Installation & Operation Manual

NOTICE TO INSTALLER
Before installation and operation ― read all instructions and warnings.
Deliver this manual to the end user of this product.
Contents
WARNING
- Proper installation of the product requires the installer to have a good understanding of automotive electronics, systems and procedures. It is essential to install the unit properly to ensure safe and reliable operation.
- Please read through all instructions thoroughly and carefully before installing the unit.
- Failure to follow these instructions could result in serious damage to the unit or vehicle and may void warranties.
- The correct mounting and wiring is the key to the effectiveness of SDF104H.
- Installers must read and follow instructions and warnings in the manual from the original manufacturer.
- The operator should verify the siren system is fastened to the vehicle securely and is functioning properly. Failure to follow all safety precautions and instructions may cause property damage, injury, or death.
- Ensure that any switch control panel is located in an area that allows both the vehicle and the control panel to be operated safely in any driving condition.
WARNING Sound Hazard – Sound level from a siren speaker (109dB at 2M) may cause hearing damage.
Do not operate the siren without adequate hearing protection for you and anyone in immediate vicinity.
(Ref. OSHA 1910.95 for occupational noise exposure guidelines)
CONTENTS
| 1 | Siren amplifier | x 1 pc |
| 2 | Control wire harness (30cm) | x 1 pc |
| 3 | Terminal block | x 1 pc |
| 4 | Sheet metal screws (ø3/16″ x 3/4″) | x 4 pcs |
| 5 | Tooth lock washers | x 4 pcs |
| 6 | Controller | x 1 pc |
| 7 | Controller clip | x 1 pc |
| 8 | Sheet metal screws (ø4 x 16mm) | x 2 pcs |
| 9 | Decal | x 1 set |
| 10 | Manual | x 1 pc |
Accessories
| 1 | Extension cable (4m) | x 1 pc |
| 2 | RJ45 coupler | x 1 pc |


SPECIFICATIONS
Input Voltage: 12~24VDC
Siren Output Power: 100 Watts
Siren Output Load: 100W-ACR 11Ω
Siren Frequency: 758Hz – 1587Hz; 447Hz – 596Hz (HI/LO)
Max. Current:
10A @ 12VDC / 5A @ 24VDC (w/o light control outputs)
30A @ 12VDC / 25A @ 24VDC (w/ 4x light control ouputs)
Standby Current: 0 mA (w/o IGN wire) / <0.35 A (w/ IGN wire)
Operating Temperature Range: -30~65�
Light Controls: 4x 5A light control outputs
Fuse Ratings: Built-in 5A blade fuse on each of the 4 outputs (under chassis); 15A blade fuse for the amplifier
Dimensions(amplifier): 126mm x 130.7mm x 41.6mm
Dimensions(controller): 63.9mm x 132mm x 26.9mm
WIRING
● Wiring diagram:


Power Wire Terminal Block (Connector A)
● Power +VDC & -GND
- Connect to the positive (+) battery terminal. Fuse each wire independently @35 Amps (user-supplied).
DO NOT install these fuses until the wiring for the entire system has been completed. - Connect to the vehicle’s chassis ground (typically adjacent to the battery).
- Plug the Connector A into the siren amplifier.
Control Wire Harness (Connector B)
- Ignition Activation (IGN) input
Apply +VDC continuously to RED wire to enable the siren system. Connect this wire to a positive circuit controlled by the vehicle ignition switch to allow the siren amplifier to be turned on & off together. The system does not operate without this Ignition Activation. DO NOT directly connect this wire to the battery as this may drain battery. - SW1 Output
Connect to auxiliary device power up to 5 Amps max. or use as Lightbar function activation switch. - SW2 Output
Connect to auxiliary device power up to 5 Amps max. or use as Lightbar function activation switch. - SW3 Output
Connect to auxiliary device power up to 5 Amps max. or use as Lightbar function activation switch. - SW4 Output
Connect to auxiliary device power up to 5 Amps max. or use as Lightbar function activation switch. - Speaker Out
Connect the BLUE (SPK+) and BROWN (SPK-) wires to one 100W 11-ohm impedance speaker. - Radio Re-broadcast
Connect WHITE and GREY wire to the speaker output of a radio console. - Horn Ring Transfer (HRT) input
Apply +VDC continuously to PINK wire for Air Horn tone.
CONTROLLER FUNCTION
Before any operation, apply positive voltage to the IGN (Ignition) wire at the rear to power-up the unit.
PTT: Activate Microphone for PA Broadcast through the siren speaker. This Button overrides all other acoustic function (i.e. Air Horn, Siren Tone and Radio Rebroadcast) while it is activated.
Code 1, 2, 3: Each Code button (Code 1, Code 2, Code 3) may be programmed to turn on and off switch button controls (SW1~SW4) and/or SIREN button together. These buttons may still be operated independently. (See “PROGRAMMING” section for more details) By default, Code 1~3 will operate with SW1~3 respectively with an additional SIREN on Code 3.
MAN: When the Siren Tone is not activated, this button generates Manual WAIL Tone that will ramp up to sustain a specific pitch until released (stopped immediately). When the Siren Tone is activated, press this button to cycle through all the tones in the tonecycle. (For available Siren Tone Cycles, see “PROGRAMMING” section for more details)
HORN: Momentarily activate the Air Horn Tone when it is pressed. This tone will override all other Siren Tones and Radio Rebroadcast while it is activated. This function can also be activated through the HRT input wire at the rear.
SIREN: Activate Siren Tone. (To set Siren Tone, See “PROG-
RAMMING” section for more details) This Button will de-activate the Radio Rebroadcast upon activation. It may be interlocked by SW1. (See “Siren Interlock / Horn Disable Setting” section for more details)
RADIO: Activate Radio Rebroadcast through the siren speaker.
This button will de-activate the Siren Tone upon activation.
SW1: Activate SW1 Output; It may be used for the primary warning light and interlocking SIREN, SW2, SW3 and/or SW4. (See “Siren Interlock / Horn Disable Setting” section for more details)
SW2: Activate SW2 Output.
SW3: Activate SW3 Output.
SW4: Activate SW4 Output.
NOTE: SW1~SW4 buttons can be programmed for three operating modes such as ON/OFF, Momentary or Timer (10 seconds) Switch. (See “PROGRAMMING” section for more details)

NOTE: The controller is shipped without any button decals installed. Place the proper decal onto each button.

PROGRAMMING
<IMPORTANT> When entering a setting mode, if any of the button type is not in its default setting (ON/OFF), an auto-clearing will be performed with a full blinking of the controller. Re-do each step 1 to re-enter that setting mode again.
Tone Cycle Setting
The Siren may be set to different tone setting according to your usage and application needs.
- Press and hold PTT, MAN and Code 2 for 5 seconds to enter Tone Cycle Setting. Code 2 will blink to indicate that you are in Tone Cycle Setting.
- While in Tone Cycle Setting, press MAN (-) or HORN (+) buttons to switch between different tone cycles. (See Siren Tone Cycle Chart) The setting is indicated with RADIO, SW1, SW2, SW3 and SW4 buttons. (See Indication Chart: Tone Cycle)
- Once set, press PTT and HORN buttons for 5 seconds to save and exit Tone Cycle Setting. Code 2 will stop blinking to indicate that you have exited.
| INDICATION CHART: TONE CYCLE | |||||||||
| # | COUNTRY | TONE | FREQUENCY(Hz) | CYCLE/MINUTE | SW1 | SW2 | RADIO | SW3 | SW4 |
| 1 (SAE default) | INTERNATIONAL | STANDARD | 761-1592 | WAIL 12 C/M | |||||
| 761-1592 | YELP 158 C/M | ||||||||
| 2 | INTERNATIONAL | STANDARD | 761-1592 | YELP 158 C/M | |||||
| 761-1592 | PHASER 886 C/M | ||||||||
| 3 | INTERNATIONAL | STANDARD | 761-1592 | PHASER 886 C/M | |||||
| 450-598 | HILO 40 C/M | ||||||||
| 4 | INTERNATIONAL | STANDARD | 450-598 | HILO 40 C/M | |||||
| 761-1592 | PHASER 886 C/M | ||||||||
| 5 | INTERNATIONAL | STANDARD | 761-1592 | WAIL 12 C/M | |||||
| 761-1592 | YELP 158 C/M | ||||||||
| 761-1592 | PHASER 886 C/M | ||||||||
| 6 (ECE default) | INTERNATIONAL | STANDARD | 761-1592 | WAIL 12 C/M | |||||
| 761-1592 | YELP 158 C/M | ||||||||
| 450-598 | HILO 40 C/M | ||||||||
| 7 | INTERNATIONAL | STANDARD | 761-1592 | WAIL 12 C/M | |||||
| 761-1592 | YELP 158 C/M | ||||||||
| 450-598 | HILO 40 C/M | ||||||||
| 761-1592 | PHASER 886 C/M | ||||||||
| 8 | FRANCE | GENDARMERIE | 435-733 | HILO 55 C/M | |||||
| 9 | FRANCE | POLICE | 435-580 | HILO 55 C/M | |||||
| 10 | FRANCE | AMBULANCE | 421-516-421 | HILO 30 C/M | |||||
| 11 | FRANCE | POMPIERS | 435-488 | HILO 27 C/M | |||||
| 12 | FRANCE | UMH | 435-649 | HILO 55 C/M | |||||
| 13 | GERMANY | STADT LAND |
432-575 | HILO 40 C/M | |||||
| 362-484 | HILO 40 C/M | ||||||||
| 14 | AUSTRIA | POLICE | 432-575-432-575- 432-575-432-575 |
HILO 25 C/M | |||||
| 15 | AUSTRIA | AMBULANCE | 524-393-524-393 | HILO 17 C/M | |||||
| 16 | AUSTRIA | FIREBRIGADE | 393-524-393-524 | HILO 17 C/M | |||||
| 17 | AUSTRIA | MAGISTRATE | 524-393-524 | HILO 18 C/M | |||||
| 18 | ITALY | POLICE | 466-620 | HILO 40 C/M | |||||
| 19 | ITALY | AMBULANCE | 392-659-392-659 | HILO 40 C/M | |||||
| 20 | ITALY | AMBULANCE 2 | 761-1592 | WAIL 12 C/M | |||||
| 761-1592 | YELP 158 C/M | ||||||||
| 392-659-392-659 | HILO 40 C/M | ||||||||
| 21 | NETHERLANDS | POLICE | 373-500 | HILO 33 C/M | |||||
| 22 | NETHERLANDS | POLICE 2 | 373-500 | HILO 33 C/M | |||||
: Green
: Red
Volume Adjustment
PA, Siren and Radio Re-broadcasting may be set to different Volume Level (total of 8 levels, default at 8).
- Press and hold PTT, MAN and Code 1 for 5 seconds to enter Volume Adjustment Setting.
- Code 1 will blink to indicate that you are in Volume Adjust ment Setting; press SW1, SIREN, or RADIO buttons for PA, Siren or Radio Re-broadcasting respectively.
- Once a subject is selected, press MAN (volume -) or HORN (volume +) to adjust its volume level. Volume level setting is indicated with SW2, SW3 and SW4 buttons. (See Indication Chart)
- Once set, press PTT and HORN buttons for 5 seconds to save and exit Volume Adjustment Setting. Code 1 will stop blinking to indicate that you have exited.
| INDICATION CHART | |||
| # | SW2 | SW3 | SW4 |
| 1 | |||
| 2 | |||
| 3 | |||
| 4 | |||
| 5 | |||
| 6 | |||
| 7 | |||
| 8 | |||
: Green
: Red
Siren Interlock / Horn Disable Setting
- Press and hold PTT, MAN and SIREN for 5 seconds to enter Siren Interlock / Horn Disable Setting.
SIREN will blink to indicate that you are in Siren Interlock / Horn Disable Setting. - While in Siren Interlock / Horn Disable Setting, press RADIO or SW1 or SW2 or SW3 or SW4 buttons to switch between different settings. (See Indication Chart: Siren Interlock / Horn Disable)
INDICATION CHART: SIREN INTERLOCK / HORN DISABLE BUTTON
(SAE default)
(ECE default)
RADIO NO INTERLOCK SIREN INTERLOCK BY SW1 SIREN INTERLOCK BY SW1 (w/ Auto ON) SW1 ENABLE HORN/MAN DISABLE HORN/MAN SW2 NO INTERLOCK SW2 INTERLOCK BY SW1 SW3 NO INTERLOCK SW3 INTERLOCK BY SW1 SW4 NO INTERLOCK SW4 INTERLOCK BY SW1
: Green
: Red
: Green & Red - Once set, press PTT and HORN buttons for 5 seconds to save and exit Siren Interlock / Horn Disable Setting. SIREN will stop blinking to indicate that you have exited.
Code Button Combo Setting
Code 1, Code 2 and Code 3 buttons may be programmed to turn on and off switch button controls (SW1~SW4) and/or SIREN button together.
- Press and hold PTT, MAN and RADIO for 5 seconds to enter Code Button Combo Setting. RADIO will blink to indicate that you are in Code Button Combo Setting.
- While in Code Button Combo Setting, press and select one of Code 1/Code 2/Code 3 buttons, and then press SW1~SW4 and SIREN to add it into combination (indicated in Red); press these buttons again to remove from combination (indicated in Green).
- Repeat step 2 untill all Code 1~Code 3 buttons are set.
- Once set, press PTT and HORN buttons for 5 seconds to save and exit Code Button Combo Setting.
RADIO will stop blinking to indicate that you have exited.
NOTE: Momentatry switch will not be applied when it is activated by Code 1~ Code 3 buttons.
SW Button Type Setting
<IMPORTANT> Only alter the SW Button Type AFTER you have done setting other settings (i.e. Volume, Tone and Code1/2/3 Combo). SW Button Type will always revert to default (ON/OFF) whenever entering/re-entering a setting mode.
SW1~4 each may be set as a ON/OFF switch, a Momentary switch or a Timer switch.
- Press and hold PTT, MAN and Code 3 for 5 seconds to enter SW Button Type Setting.
- If any of the button type is not in its default setting (ON/OFF), an auto-clearing will be performed with a full blinking of the controller.
- Code 3 will blink to indicate that you are in SW Button Type Setting; the button type of each SW1~4 button is indicated with its LED colour. (See the table below for
SW button types)LED Status SW Button Type Red ON/OFF (default) Green & Red TIMER (10 seconds) Green MOMENTARY - Momentarily press each button to change its type.
- Once set, press PTT and HORN buttons for 5 seconds to save and exit SW Button Type Setting.
Code 3 will stop blinking to indicate that you have exited. - Disconnect all power and power up again to apply the change.
INSTALLATION
Mounting
● Siren amplifier
- Select a location that is not exposed directly to weather elements, such as the driver compartment firewall, below the seat, or in the trunk; avoid any interference of air bag deployment.
- Using the siren amplifier as a template, mark four mounting holes to be drilled.
- Drill four mounting holes for sheet metal screw.
- Install the siren amplifier with provided sheet metal screws and tooth lock washers.

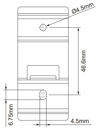
● Controller clip
- Select a location where is convenient to the operator; avoid any interference of air bag deployment.
- Using the mounting clip as a template, mark the two holes to be drilled.
- Drill two mounting holes for sheet metal screws.
- Install the microphone clip with provided sheet metal screws.

WARNING
PINCH HAZARD – Steel, iron and/or other ferrous objects may be attracted suddenly and forcefully to the magnets, creating the risk of pinch-type injuries. Keep all mild steel and iron tools and equipment well away from the magnets at all times.
IMPORTANT! – Be certain to keep the controller away from the mounting location until you’ve cleaned up any metal shavings or other debris.