CASANOOV VEYMONT 2 Leaf Gate 300x140cm Aluminum Instruction Manual

Home » Casanoov » CASANOOV VEYMONT 2 Leaf Gate 300x140cm Aluminum Instruction Manual

CASANOOV VEYMONT 2 Leaf Gate 300x140cm Aluminum

Specifications

  • Model: VEYMONT 400B140
  • Components: COM-000834 [x1], COM-000835 [x1]
  • Operating Time: 5-7 hours
  • Languages: EN, FR, DE, ES, PT, IT, NL, PL, FI, SE, DK, RO, SI, SK, HU, CZ, HR, GR, LT, LV

Product Usage Instructions

1. Assembly:

Follow the provided assembly instructions to put together all components.

2. Power On/Off:

To power on the VEYMONT 400B140, press and hold the power button for 3 seconds. To power off, repeat the same step.

3. Language Selection:

Use the language selection menu to choose your preferred language from the available options.

4. Operating Time:

The device can operate continuously for 5-7 hours on a full charge. Make sure to charge it before extended use.

5. Maintenance:

Regularly clean the device using a soft cloth and avoid exposure to liquids or extreme temperatures.

Frequently Asked Questions

  • Q: How do I charge the VEYMONT 400B140?
    • A: Use the provided charger and connect it to the device’s charging port. Make sure to charge fully before first use.
  • Q: Can I change the language after initial setup?
    • A: Yes, you can change the language settings at any time through the device’s menu options.
  • Q: What should I do if the operating time is less than specified?
    • A: Ensure proper charging and consider replacing the battery if the issue persists.

More Info

CASANOOV-VEYMONT-2-Leaf-Gate-300x140cm-Aluminum-fig (1)

DimensionCASANOOV-VEYMONT-2-Leaf-Gate-300x140cm-Aluminum-fig (2)

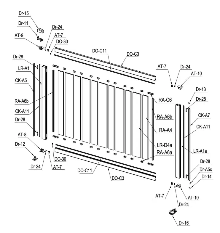
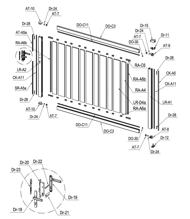
Parts

CASANOOV-VEYMONT-2-Leaf-Gate-300x140cm-Aluminum-fig (3) CASANOOV-VEYMONT-2-Leaf-Gate-300x140cm-Aluminum-fig (4) CASANOOV-VEYMONT-2-Leaf-Gate-300x140cm-Aluminum-fig (5)

Installation Instruction

CASANOOV-VEYMONT-2-Leaf-Gate-300x140cm-Aluminum-fig (6) CASANOOV-VEYMONT-2-Leaf-Gate-300x140cm-Aluminum-fig (7) CASANOOV-VEYMONT-2-Leaf-Gate-300x140cm-Aluminum-fig (8) CASANOOV-VEYMONT-2-Leaf-Gate-300x140cm-Aluminum-fig (9) CASANOOV-VEYMONT-2-Leaf-Gate-300x140cm-Aluminum-fig (10) CASANOOV-VEYMONT-2-Leaf-Gate-300x140cm-Aluminum-fig (11) CASANOOV-VEYMONT-2-Leaf-Gate-300x140cm-Aluminum-fig (12) CASANOOV-VEYMONT-2-Leaf-Gate-300x140cm-Aluminum-fig (13) CASANOOV-VEYMONT-2-Leaf-Gate-300x140cm-Aluminum-fig (14) CASANOOV-VEYMONT-2-Leaf-Gate-300x140cm-Aluminum-fig (15) CASANOOV-VEYMONT-2-Leaf-Gate-300x140cm-Aluminum-fig (16) CASANOOV-VEYMONT-2-Leaf-Gate-300x140cm-Aluminum-fig (17) CASANOOV-VEYMONT-2-Leaf-Gate-300x140cm-Aluminum-fig (18) CASANOOV-VEYMONT-2-Leaf-Gate-300x140cm-Aluminum-fig (19) CASANOOV-VEYMONT-2-Leaf-Gate-300x140cm-Aluminum-fig (20) CASANOOV-VEYMONT-2-Leaf-Gate-300x140cm-Aluminum-fig (21) CASANOOV-VEYMONT-2-Leaf-Gate-300x140cm-Aluminum-fig (22) CASANOOV-VEYMONT-2-Leaf-Gate-300x140cm-Aluminum-fig (23) CASANOOV-VEYMONT-2-Leaf-Gate-300x140cm-Aluminum-fig (24) CASANOOV-VEYMONT-2-Leaf-Gate-300x140cm-Aluminum-fig (25) CASANOOV-VEYMONT-2-Leaf-Gate-300x140cm-Aluminum-fig (26) CASANOOV-VEYMONT-2-Leaf-Gate-300x140cm-Aluminum-fig (27) CASANOOV-VEYMONT-2-Leaf-Gate-300x140cm-Aluminum-fig (28) CASANOOV-VEYMONT-2-Leaf-Gate-300x140cm-Aluminum-fig (29)

Leave a Comment