Contents
Camden Wells FL0722 Floor Lamp

IMPORTANT SAFETY INSTRUCTIONS
- These instructions are provided for your safety.
Please read carefully and completely before beginning the assembly and installation of this lighting fixture. - This lighting fixture is intended for indoor use only.
- Always place lighting fixture on a solid, level surface.
- For use with E26 (medium) base light bulbs only.
- To avoid the risk of fire, do not exceed the maximum wattage of 100W incandescent bulb , or 9W LED bulb , or 23W fluorescent (CFL) bulb , or 9W self-ballasted LED bulb .(Bulbs not included)
- This lighting fixture has a polarized plug (one prong is wider than the other) as a safety feature to reduce the risk of electric shock. This plug will fit in a polarized outlet only one way. If the plug does not fit fully into the outlet, reverse the plug. If it still does not fit, contact a qualified electrician. Never use with an extension cord unless plug can be fully inserted.
- Do not alter the plug. Do not attempt to bypass this safety feature.
WARNINGS:
- To reduce the risk of fire, electrical shock, or personal injury: always turn off and unplug this lighting fixture and allow it to cool before attempting to replace the light bulb.
- Do not touch light bulb while fixture is turned on.
- Keep flammable materials away from this lighting fixture.
- Never look directly at a lit bulb.
CARE INSTRUCTIONS
- Unplug lamp before cleaning.
- Wipe clean with a soft, dry cloth or static duster.
- Always avoid the use of harsh chemicals or abrasive cleaners as they may cause damage to the fixture’s finish
PRE-ASSEMBLY
Carefully remove all parts and hardware from carton, along with any protective plastic packaging.
Do not discard any contents until after assembly is complete to avoid accidentally discarding small parts or hardware.
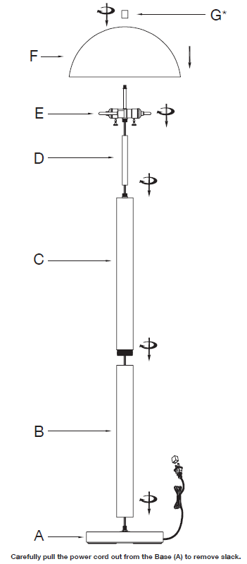
Part G (Finial) may come pre-installed to Part E (Sockets & On/Off Switches). Unscrew Part G before installing Part F (Lampshade), then reinstall Part G to secure.
PARTS INCLUDED
- (A) Base
- (B) Bottom Post
- (C) Middle Post
- (D) Top Post
- (E) Sockets & On/Off Switches
- (F) Shade
- (G*) Finial
For use with light bulbs with a E26 (medium) base.
DO NOT EXCEED THE SPECIFIED WATTAGE.
BEGIN ASSEMBLY AT THE BASE ON A SOLID, FLAT SURFACE.
BE CAREFUL NOT TO STRIP THREADS.
INSTALL LAMPSHADE LAST.

