BYBLIGHT BB-SF0006GX Chattan 65.12 Inch Dimmable Tree Floor Lamp

Contents
IMPORTANT SAFETY INSTRUCTIONS
WARNING! TO REDUCE THE RISK OF FIRE, ELECTRIC SHOCK OR PERSONAL INJURY.
- Turn off/unplug and allow to cool before replacing bulb, cleaning or other maintenance.
- Bulb gets HOT quickly! Touch only switch/plug when turning on.
- Do not remain in light if skin feels warm.
- Do not look directly at lighted bulb.
- Keep lamp away from materials that may burn.
- Use only with 40W or smaller Type C bulb or a 13W self-ballasted bulb or a 9W LED bulb.
- Do not touch bulb at any time.

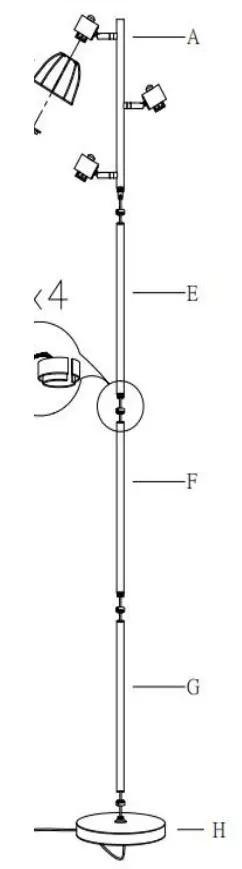
ASSEMBLY INSTRUCTIONS
- Lay out all parts on smooth surface as shown in illustration.
- Put the base (H) on the ground and tighten the pole (G) and base (H).
- Connect other three poles (AEF) one by one along the wire extending from the base, and pull the cord gently as you build. Then screw the adjustable arm with the pole.
- Unscrew the fixing ring (3xC) from the lamp holder.
- Fix the lampshade (3xB) on the lamp holder.
- Screw the ring (3xC) back to steady the lampshade.
- Screw in a 4 Watt LED bulb (D) (bulb included) onto socket.
- Turn on the Foot dimmer switch and enjoy


MAINTENANCE
Light bulb recommended:
- To clean use soft cloth only.
- Do not use any chemical or abrasive cleaners.
- Indoor Use only.

CUSTOMER SUPPORT
If you have any question, please feel free to contact us: [email protected] We are happy to provide you assistance.
“SAVE THESE INSTRUCTIONS”