Contents
BOOMERING Boomer 72 Inch Basketball Ring

WARNING
- FAILURE TO COMPLY WITH ANY OF THE WARNINGS IN THESE INSTRUCTIONS MAY RESULT IN SERIOUS PERSONAL INJURY.
- FAILURE TO COMPLY MAY ALSO RESULT IN PROPERTY DAMAGE. PLEASE HEED ALL WARNINGS AND CAUTIONS TO ENSURE YOUR SAFETY
- DO NOTE ATTEMPT TO ASSEMBLE WITH SYSTEM WITHOUT CAREFUL READING AND UNDERSTANDING THE INSTRUCTION MANUAL FIRST
SAFETY INSTRUCTIONS
Failure to follow these safety instructions may result in serious injury or death and/or property damage.
- Do not install or use this product unless the instructions within this manual have been carefully read and understood.
- Consult Boomering if you do not understand the instructions in this manual or need additional information
- Know what’s below ground. “Call before you dig” the hole for the ground anchor. Please call at our customer service department.
- If using a ladder during assembly, use extreme caution. Two or three people are recommended for safe installation and assembly.
- Installation and assembly of this product will require lifting and bending that may result in injury to anyone not accustomed to this type of activity.
- Ensure there are no overhead power lines within a 20 ft. (7m) radius of the hoop location.
- Climate, corrosion or misuse could result in system failure.
- The Safety Rod stops the Main Extension Arm at a rim height of 7.5 ft. Attempting to
adjust further down will damage the Arm. If the Safety Rod is removed, adjustment of the rim below a height of 7 ft. - DO NOT HANG on the rim or any part of the goal system. This includes the backboard, support braces and net.
- During play, especially when performing dunking activities, players should keep their faces away from the backboard, rim and net. Serious injury could result if teeth or face come in contact with the backboard, rim or net. Do not wear jewelry or other loose objects that could become entangled with the net.
- Twice yearly, check the hoop system for loose hardware, excessive wear and signs of corrosion. Repair the system before use.
- Never play on damaged equipment.
HOOP ASSEMBLY
IMPORTANT: Concrete must cure a minimum of 72 hours before installing. IMPORTANT: Safe assembly of system requires two to three people in good physical condition and capable of lifting 80-100 lbs (36-45 kg) each.
IMPORTANT: Locate and familiarize yourself with all the parts of the hoop before beginning assembly.
REQUIRED TOOLS AND MATERIALS:
Level Sockets or wrenches
- Rubber Mallet: 15mm (9/16″)
- 12′ Tape Measure: 19mm (3/4″)
- Phillips Screwdriver: 24mm (15/16″)
- Ratchet: 27mm (1-1/16″)
PARTS LIST

NOTE: Before digging, call to locate any buried utility lines.
NOTE: At rim height 10′, distance from the face of backboard to the front of Main Post(A) is 48″ , Choose the proper location to dig for the concrete footing:
( STEP A)
- a. Dig a hole 48″ deep and 21″x 21″square . The edge of the hole should be flush with the edge of the playing surface. If you live in an area where heavy frost can occur, it may pose a problem, consult your local building inspector to determine the appropriate hole depth.
NOTE: The hole must be at least 48″ deep. - b. Build a form before pouring the concrete pad, to ensure that the top of the concrete remains straight and square. The form should
be placed about 1/2″ above the playing surface to allow for water drainage. - c. Bell out the bottom of the hole.
NOTE: A square hole prevents the rotation of the concrete.
NOTE: The area behind the playing surface must be cleared off by at least 3 feet to enable the user to stand behind the pole to adjust the Rim height.
( STEP B)
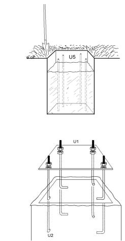
- A. Thread a 16mm Hex Nut (U4) onto each of the 16mm J- Bolts (U2).Securely tighten the Nuts all the way down to the end of the threads.
- B. Slide the threaded end of the J-Bolts through the holes in the Anchor Template (U1) and secure each J-Bolt with a 16mm J-Bolt Hex Nuts(U4) as shown. Securely tighten all Nuts at this time.

NOTE: Make sure the curved “J” ends of the J-Bolts are oriented in a rectangular pattern, as shown.
( STEP C)
- a. Mix the concrete according to the instructions on the bags. Note that a thicker mix of concrete will dry stronger than a thin mix. Pour the concrete into the hole, stopping approximately 18 inches from the top of the hole. Insert the four pieces of Ancho
- b. sert the four pieces of Anchor Rebar (US) into the hole, pushing piece firmly to the bottom of the hole. The four pieces should be arranged in a square approximately 8 inches wide so that each pie ? ?
rebar will be positioned next to the J-Bolts when the J-Bolt Templat - c. Finish filling the hole to the top with concrete. The top of the concrete should reach just above the level of the top of the form.
( STEP D)
- a. Position the J-Bolt Template (U1) over the hole so that it is centered, with the sides of the plate square with the sides of the hole.
- b. Push the J-Bolts (U2) into the concrete until the J-Bolt Template is resting flat against the surface of the concrete.
- c. Grasp the tops of the J-Bolts and agitate the Template assembly back and forth repeatedly to eliminate any air bubbles in the concrete. Lift the Template slightly above the concrete when agitating . Make sure the Template is resting on the concrete after agitating. Form the concrete into a downward slope away from the Pole to allow water runoff.
- d. Clean off any concrete that may be on the J-Bolt Template or the exposed portions of the J-Bolts.
- e. Using a carpenter’ s level, make sure the Template is square to and level with the playing surface.
- f. Allow the concrete to cure for a minimum of 5-7 days before installing the rest of your basketball system. In cold , wet weather or humid climates, allow additional time for the concrete to cure.

YOU ARE NOW FINISHED WITH THE INITIAL ASSEMBLY STEPS. DO NOT PROCEED WITH THE ASSEMBLY UNTIL THE CONCRETE HAS FULLY CURED . CURING WILL TAKE A MINIMUM OF 72 HOURS. IN HUMID CLIMATES OR WET WEATHER, ALLOW ADDITIONAL TIME FOR THE CONCRETE TO CURE.
WARNING
NEVER USE THE SYSTEM WITHOUT FOLLOWING THE CEMENTING INSTRUCTIONS . FAILURE TO FOLLOW ALL OF THESE INSTRUCTIONS AND WARNINGS COULD LEAD TO SERIOUS PERSONAL INJURY OR PROPERTY DAMAGE AS LISTED ON PAGE ONE.
WARNING
BECAUSE OF THE SIZE AND WEIGHT OF THIS SYSTEM, A MINIMUM OF THREE ADULTS ARE REQUIRED FOR THE FOLLOWING STEPS
(STEP 1)
- A. Slide a 16mm Thick Washer (U3) over each of the J-Bolts (U2) as shown in FIGURE 1 A.
- B. Remove the Padding from Main Post (A). Place the Main Post (A) over the J-Bolts. Slide a 16mm Thick Washer (U3), a Lock washer 16mm (U6) and thread a 16mm Hex Nut (U4) to each
- J- bolt. Tighten the Nuts only a few turns onto the J-Bolts as shown in FIGURE 1 B.
- C. If the Main Post (A) is not exactly vertical, adjust the 16mm J-Bolt Hex Nuts (U4) located under the Post base. Tighten all of the Hex Nuts (U4) Above Post base when Main Post (A) is vertical.
NOTE: Face the Main Post (A) with Actuator Bracket facing away from playing court (as shown in FIGURE 1 C).
(STEP 2)
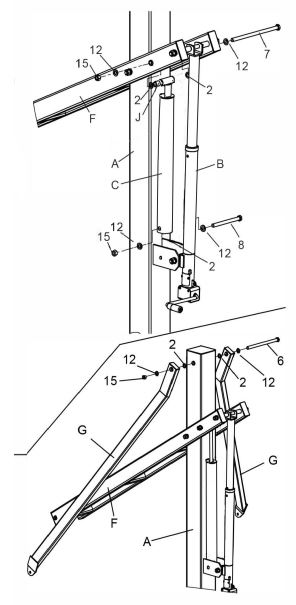
Slide the Main Extension Arm (F) over the top of the Main Post (A) and attach to the lower pivot tube welded on front side of Pole (A) with one Hex bolt M16x330mm (#5), two Flat washer M16 (#11 ), two Nylon washers M 16 (#1 ), and one Lock nut M 18 (#14). Note: Nylon Washer #1 may be factory installed. Do not over tighten this bolt and nut.
Note: make sure the Nylon washers locate between Main Extension Arm (F) and Main Post (A).
(STEP 3)
- A. Connect Actuator to Main Extension arm (F). Place the upper bracket of Actuator (B) between the last set of welded tubes on the Main Extension Arm (F), attach the two parts using Hex bolt M16X330mm (#5), two Flat Washers M 16(#11 ), one Lock nut (#14 ).
- B. Connect Actuator (B) to the mounting bracket welded in the middle of Post (A), using one Hex Bolt M14x120mm (#9), two flat Washers for M 14 Bolt (#12), two Nylon Washers (#2), and one Lock Nut for M14 bolt (#15). Note: make sure Nylon washers go between Actuator and Mounting Bracket.
- C. Attached Crank handle to the actuator. Slide Removable Crank handle onto the shaft sticking out of Gear Box (Actuator) l□ck it io place with attached pic

(STEP 4)
- A. Place the top of Spring-Assist cylinder(cartriages) as show between Main Extension Arm (F), align the Steel Sleeve (J) with the second set of welded tubes on the Main Extension Arm (F), place the Stainless steel Rim Height Indicator (K) beside the Spring-Assist Cartridge (C). Slide one Washer M 16 (#12) over one Hex Bolt M16x330mm (#7), and slide this Bolt all the way thru Main Extension Arm (F), one Nylon washer M16(#2), Steel Sleeve (J), another Nylon washer (#2) , and the other side of Main Extension Arm (F). Secure it with one Flat Washer M 16 (#12), one Lock nut M 16 (#15). Do not over tighten this bolt because this is the pivot point. Nylon washer locates between Steel sleeves (J) and Main Extension Arm (F). They may be factory-assembled already.
- B. Attach the bottom of Spring-assist Cartridges (C) to the pole Bracket by using a Hex Bolt M14x120mm (#8), two Flat Washers M14 (#12), one Nylon WasherM16 (#2) and one Hex Nut M14 (#15). Note: Nylon washer goes between two Cartridges (C).
- C. Remove and discard the Steel spreader bracket from the Spring-Assist Cartridges (C).
(STEP 5)
- A. Attach the Two Upper Extension Arms (G) to Main Post (A) with one Hex Bolt M 16x220mm (#6), two Flat Washers M 16 (#12), two Nylon washers M 16 (#2) and one Lock nut M 16 (#15) Note: the Nylon washers go between Upper extension arm and Main Post. Do not tighten at this time.

(STEP 6)
- A. Crank the Main extension arm as low as possible.
- B. Attach the Backboard to Main Extension Arm
- F by using a Hex Bolt m16x330mm (#7), two M16 Flat Washers(#12), two Nylon washers (#2) and one Lock Nut M16 (#15).
- C. Note: Nylon washers (#2) go between Main extension arm Bracket (F) and Backboard mounting bracket.
- D. Connect Upper Extension Arms (G) to Backboard (H), using 2 Hex bolts M14x40mm (#10), 4 Flat Washers M14(#13), 2 Nylon washers M14 (#3) and 2 Lock nuts M14 (#16).

Note: Put Nylon washers between backboard plate and Upper extension connecting plate.
(STEP 7)
- A. Remove the screws on Rim spring box cover, open the Spring box. (Rim Spring Box cover may not be factoryassembled.)
- B. Mount the rim to the Mounting bracket on Backboard (H) using the hardware supplied in rim box.
- C. Re-attach Spring box cover to the Rim with removed screws.
NOTE: Use a level to make sure rim is level side to side before tightening nuts.
( STEP 8)
- A. After everything is square, make sure all nuts on the system have been tightened. NOTE: Do not over tighten the Nuts, make sure the unit can be adjusted up and down.
- B. To apply the Rim Height Sticker (In the manual pack), first use a tape measure to crank rim up to exactly 1 O’ from the playing surface. Use a pencil to make a mark on the Actuator(B) where the bottom of the black cover sleeve(B). Then, peel and apply Rim Height Sticker to outside of Actuator(B) lining up the pencil mark with the 1 O’ mark on the Rim Height Sticker. See detail A.
- C. Attach Post Pad and Gusset Pad to Main Post (A) as shown.
- D. Slide Safety Rod (I) thru the tube welded on the backside of Main Post (A), align the holes each other and secure it with one Lock Pin 6mm (#4 ). See detail B.

Contact
- Add: 50 Boom st, Gnangara,WA, 6077
- Phone: 1300 499 311
- Web: www.boomering.com.au
