BAFC 6872 Basketball Hoop
Owner’s Manual
Contents
BAFC 6872 Basketball Hoop

WARNING
FAILURE TO COMPLY WITH ANY OF THE WARNINGS IN THESE INSTRUCTIONS MAY RESULT IN SERIOUS PERSONAL INJURY.
FAILURE TO COMPLY MAY ALSO RESULT IN PROPERTY DAMAGE. PLEASE HEED ALL WARNINGS AND CAUTIONS TO ENSURE YOUR SAFETY
DO NOTE ATTEMPT TO ASSEMBLE WITH SYSTEM WITHOUT CAREFULL READING AND UNDERSTANDING THE INSTRUCTION MANUAL FIRST
Keep this instruction manual in case you have to contact the manufacturer for replacement parts.
WARNING
FAILURE TO DO THESE WARNINGS MAY RESULT IN SERIOUS INJURY AND/OR PROPERTY DAMAGE.
Owner must ensure that all players know and follow these rules for safe operation of the system.
- Only hang from the rim briefly to regain balance or avoid injuring others. Release the rim as soon as possible safely.
- During play, especially when performing dunk type activities, keep player’s face away from the backboard, and net. Serious injury could occur if teeth/face come in contact with backboard, rim, or net.
- Do not slide, climb, or play on pole.
- When adjusting height, keep hands and fingers away from moving parts.
- Do not allow children to adjust system.
- During play, do not wear jewelry (rings, watches, necklaces, eats.) Objects may entangle in net.
- Keep water and organic material away from pole. Pole can rust and fail.
- Check pole and all metal parts regularly for rust. completely remove rust and repaint with exterior enamel. if rust has penetrated any steel parts, replace that part immediately.
- Check system before each use for loose hardware, signs of rust and instability. Repair before each use. Never play on damaged equipment.
- Wear a mouth guard when playing to avoid dental injuries.
SAFETY INSTRUCTIONS
FAILURE TO FOLLOW THESE WARNINGS MAY RESULT IN SERIOUS INJURY AND/OR PROPERTY DAMAGE.
FAILURE TO DO THESE SAFETY INSTRUCTIONS MAY RESULT IN SERIOUS INJURY, PROPERTY DAMAGE AND WILL VOID WARRANTY.
Owner must ensure that all players know and follow these rules for safe operation of the system.
To ensure safety, do not attempt to assemble this system without following the instructions carefully. Proper and complete assembly, use and supervision is essential for proper operation and to reduce the risk of accident or injury. Ahigh probability of serious injury exists if this system is not installed, maintained, and operated properly.
- If use a ladder during assembly, use extreme caution.
- 4 people are recommended for this operation.
- Seat the pole sections properly (if applicable). Failure to do so could allow the pole sections to separate during play.
- Before digging, contact utility company to locate underground power cables, gas and water lines. Ensure there are no overhead power lines within 20 ft. (7m) radius of pole location.
- Climate, corrosion or misuse could result in system failure.
- If technical assistance is required, contact us:
EXPLODED VIEW

| PARTS LIST | ||
| ITEM | QTY | DESCRIPTION |
| A | 1 | Main Post |
| B | 1 | Actuator |
| C | 1 | Spring-Assist Cartridge |
| D | 1 | Pole&Gusset padding |
| E | 1 | Main Extension Arm |
| F | 2 | Upper Extension Arm |
| G | 1 | Backboard |
| H | 1 | Rim Height Sticker |
| UNDERGROUND PARTS | ||
| U1 | 1 | Anchor Template |
| U2 | 4 | 16mm Anchor J-bolts |
| U3 | 8 | Thick washer for J-bolt |
| U4 | 12 | Hex nut M16 |
| U5 | 4 | Anchor Rebar 36″L |
| U6 | 4 | Lock Washer M18 |
| RIM HARDWARE | ||
| R1 | 4 | Hex bolt M10x60 |
| R2 | 8 | Flat Washer M10 |
| R3 | 4 | Lock Washer M10 |
| R4 | 4 | Hex nut M10 |
| HARDWARE LIST | ||
| ITEM | QTY | DESCRIPTION |
| 1 | 6 | Nylon Washer M18 |
| 2 | 2 | Nylon Washer M14 |
| 3 | 4 | Hex Bolt M18x335mm |
| 4 | 2 | Hex Bolt M18x280mm |
| 5 | 2 | Hex Bolt M18x140mm |
| 6 | 2 | Hex Bolt M14x4Omm |
| 7 | 14 | Washer for M18 Bolt |
| 8 | 4 | Washer for M14 Bolt |
| 9 | 8 | Lock Nut M18 |
| 10 | 4 | Lock Nut M14 |

INSTALLATION (Day 1 to Day 4)
Prior to anchor system and goal assembly, call utility services for location of underground utility lines before you dig
This assembly needs 5 days totally.
- Day1·Anchor system installation
- Day2-4Allow concrete to cure
- Day5Complete basketball system installation.
SIX PEOPLE IS NEEDED TO LIFT UNIT INTO PLACE
Tools and materials required for assembly
- Two Adjustable Wrenches
- 1.-1/8Wrench
- 9/16 Wrench
- 3/4″ Wrench
- 11/16 wrench
- 1Wrench
- Hammer or Mallet
- Tape measure
- Shovel
- Concrete 16 Bags (801bslbag).
- Electric Drill
- Carpenter’s Level
- Aminimum of two Ladders
- Water Supply
Day 1:Anchor system installation.
One adult is needed for this step.
- Locate your system close to or on the court, referring to your goal specifications in Figure 1
WARNING
Before digging hole for anchor system, check for buried power go’s, water, and telecommunication lines! failure to do so could result in serious or fatal injury! Contact your local utility company if unsure.
Regulation Court Lengths High school 84
College & Professional: 94 - Assemble anchor system as shown in Figure 2.
Thread nut M16(U4) all the way to bottom of threads on J-bolt (U2)insert threads of J-bolt through hole on anchor plate (U1) and secure with nut (U4)
Note: Please follow the leg direction of bolts shown figure 2 - Dig hole52″ deep and 21in diameter using a spade, shovel, or post hole digger
warning
Never continue to assemble your system without following cementing instructions.
Failure to do so may cause serious personal injury or property damage.
Day 2-4: Allow concrete to cure
Allow 72 hours for concrete to cure before continue to installation.
Check to see that no Concrete or Debris obstructs threads on threads of J bolts.
To be continued
- Mix and pour concrete into hole Follow instructions on concrete bag. Stop about 18 below playing surface
- Insert6Rebars (U5)into concrete 8″ apart making a square in center on hole
- Continue to pour concrete into hole. Use aconcrete form or wooden form for top 4until concrete flush with playing surface (can be 2-4inch higher than play court if needed)
- Push anchor system into concrete and agitate to eliminate voids in concrete.
level and square anchor plate (U1)to playing surface. This is very important !
Clean off any concrete on anchor plate and exposed threads
You are finished with anchor system. Allow concrete cure a minimum of 72hrs
INSTALLATION (Day5)
A hammer or mallet may be needed during assembly
SIEP1 )
A Slide a 16mm Thick Washer (U3)over each of the J-Bolts (U2)as shown in FIGURE 1A
B Remove the Padding from Main Post (A). Place the Main Post (A) over the J-Bolts Slide a 16mm Thick Washer (U3), a Lock washer 16mm (U6) and thread a 16mm Hex Nut (U4) to each J-bolt Tighten the Nuts only a few turns onto the J-Bolts as shown in FIGURE 1
C If the Main Post (A)is not exactly vertical, adjust the 16mm J-Bolt Hex Nuts (U4)located under the Post base. Tighten al of the Hex Nuts (U4)Above Post base when Main Post (A)is vertical.
NOTE: Face the Main Post(A) with Actuator Bracket facing playing court (as shown in FIGURE 1). 
STEP 2
Attach Lower Extension arm (E)to Pole (A),
Slide the Main Extension Arm(E) over the top of the Main Post (A), attach Main extension arm (E)to the lower pivot tube in Pole (A) with one Hex bolt M18x335mm (#3), two Flat
Washers M18(#7),four Nylon
Washers M18 (#1), and one Nylon nut M184+9)
Note Nylon washer has been pre installed in the factory.
STEP 3
Attach the Spring-Assist (C) to Main Post (A) with one Hex Bolt 18x 140mm (#5), two Flat Washers M18(#7) and one Lock nut M18 (#9)
STEP 4
Raise Main extension arm (E) to align the second set pivot tubes in pole (A) with holes at the bottom of Spring assist Cartridge(C). Slide one Flat washer M18(#7)over Hex bolt M16x320mm (#3), and slide the bolt all the way thru Main extension arm (E), Spring-assist Cartridges, secure it with one Flat Washer M18 (#7) and one Lock Nut M16 (#14) from the other side.
STEP 5
Attach the Spring-Assist (C) to Main Post (A) with one Hex Bolt M18x140mm (#5), two Flat Washers M18(#7) and one Lock nut M18 (#9)
STEP 6
Crank the Actuator (B) to align the bottom pivot tube with the third set of welded tubes on the Main Extension Arm (E), attach Actuator to Main extension arm Using one Hex bolt M18X335MM (3), two Flat WashersM18 (#7), one Lock nutM180#9)
STEP 7
Attach the 2 Upper Extension Arms(F)to Main Post (A)with one Hex Bolt M18x280mm (#4), two Flat Washers M180#7), 2Nylon washers (#1), and one Lock nut M18 (#9)
Do not tighten at this time
STEP 8
A Hook Crank Handle to the hole in the bottom of actuator, crank to release Spreader bracket on Spring Assist Cartridge (C) and get them removed. See Figure STEP 3 on page7.
Attach the Backboard to Main Extension Arm(E)by using a Hex Bolt m18x335mm (#3), two Flat Washers M18 (#7), two Nylon washers (#1), and one Lock nut M18 (+9) Note: Nylon washers go between Main extension arm
Bracket (E)and Backboard mounting bracket.
B. Connect Upper Extension Arms (F) to the side of Backboard(G), using 2 Hex bolts M14y40mm (#6),4 Flat Washers M14 (#8), 2 Nylon washers M14 (#2), and 2 Lock nuts M14(#10)
Note: Put Nylon washers between backboard plate and Upper extension connecting plate.
STEP9
A. Remove the screws on Rim spring box cover, open the Spring box.
B. Crank lower backboard as much as possible Mount the rim to the Mounting bracket on Backboard(G), using the hardware supplied in rim box
C. Re-attach Spring box cover to the Rim with removed screws.
NOTE: Use a level to adjust and make sure rim is level side to side before tightening nuts.
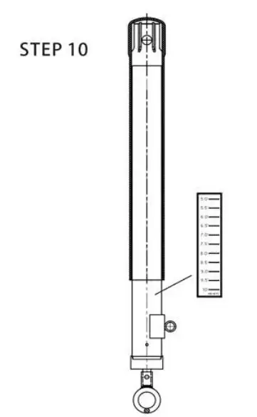
STEP10
A. Apply Rim Height Sticker After everything is square, make sure all nuts on the system have been tightened
NOTE: Do not over tighten the Nuts, make sure the unit can be adjusted up and down.
B. To apply the Rim Height Sticker(In the manual pack), first use a tape measure to crank nm up to exactly 10′ from the playing surface. Use a pencil to make a mark on the Actuator(B) where the black plastic sleeve stops
Then, peel and apply Rim Height Sticker to outside of Actuator(B) lining up the pencil mark with the 10′ mark on the Rim Height Sticker See detail A
C. Attach Post Pad and Gusset Pad to Main Post (A)(not shown). 
Phone: 1300 499 311
Web: www.boomering.com.au