INSTRUCTION MANUAL
8 INCH VARIABLE SPEED GRINDER
Thank you for ordering our product. If you have any issue, please email it and your order ID to [email protected] or call 888-680-2849.
Contents
PRODUCT SPECIFICATIONS
| Motor | 5A |
| Speed (no load) | 2000 ∼ 3400 RPM |
| Wheel Size | 8x1x5/8 |
| Power Source | 120 V AC, 60 Hz |
WARNING
To avoid electrical hazards, fire hazards or damage to the tool, use proper circuit protection. Use a separate electrical circuit for your tools. The grinder is wired at the factory for 110-120 Volt operation. It must be connected to a 120 V, 5 AMP branch circuit and use a 5 AMP time delay fuse or circuit breaker. To avoid shock or fire, replace power cord immediately if it is worn, cut or damaged in any way.
PROPOSITION 65 WARNING
WARNING
Drilling, sawing, sanding or machining wood products can expose you to wood dust, a substance known to the State of California to cause cancer. Avoid inhaling wood dust or use a dust mask or other safeguards for personal protection. For more information go to www.P65Warnings.ca.gov/wood
Some examples of these chemicals are:
- Lead from lead-based paints,
- Crystalline silica from bricks and cement and other masonry products, and
- Arsenic and chromium from chemically-treated lumber.
Your risk from these exposures varies depending on how often you do this type of work. To reduce your exposure to these chemicals: work in a well ventilated area and work with approved safety equipment, such as dust masks that are specially designed to filter out microscopic particles.
Handling the power cord on this product may expose you to chemicals known to the state of California to cause cancer and birth defects or other reproductive harm. Wash hands after handling. For more information go to: www.P65Warnings.ca.gov
SAVE THESE INSTRUCTIONS
SAFETY GUIDELINES – DEFINITIONS
WARNING ICONS
Your power tool and its Instruction Manual may contain “WARNING ICONS” (a picture symbol intended to alert you to, and/or instruct you how to avoid, a potentially hazardous condition). Understanding and heeding these symbols will help you operate your tool better and safer. Shown below are some of the symbols you may see.
SAFETY ALERT: Precautions that involve your safety.
PROHIBITION
WEAR EYE PROTECTION: Always wear safety goggles or safety glasses with side shields.
WEAR RESPIRATORY AND HEARING PROTECTION: Always wear respiratory and hearing protection.
READ AND UNDERSTAND INSTRUCTION MANUAL: To reduce the risk of injury, user and all bystanders must read and understand instruction manual before using this product.
KEEP HANDS AWAY FROM BLADE: Failure to keep your hands away from the blade will result in serious personal injury.
SUPPORT AND CLAMP WORK
DANGER
DANGER: Indicates an imminently hazardous situation which, if not avoided, will result in death or serious injury.
WARNING
WARNING: Indicates a potentially hazardous situation which, if not avoided, could result in death or serious injury.
CAUTION
CAUTION: Indicates a potentially hazardous situation which, if not avoided, may result in minor or moderate injury.
CAUTION
CAUTION: Used without the safety alert symbol indicates a potentially hazardous situation which, if not avoided, may result in property damage.
POWER TOOL SAFETY
GENERAL SAFETY INSTRUCTIONS
BEFORE USING THIS POWER TOOL
Safety is a combination of common sense, staying alert and knowing how to use your power tool.
WARNING
- To avoid mistakes that could cause serious injury, do not plug the tool in until you have read and understood the following.
- Read all instructions before operating product. Failure to follow all instructions listed below may result in electric shock, fire and/or serious injury.
- READ and become familiar with the entire Instruction Manual. LEARN the tool’s application, limitations and possible hazards.
- KEEP GUARDS IN PLACE and in working order.
- REMOVE ADJUSTING KEYS AND WRENCHES.
Form the habit of checking to see that keys and adjusting wrenches are removed from the tool before turning ON. - KEEP WORK AREA CLEAN. Cluttered areas and benches invite accidents.
- DO NOT USE IN DANGEROUS ENVIRONMENTS. Do not use power tools in damp locations, or expose them to rain or snow. Keep work area well lit.
- KEEP CHILDREN AWAY. All visitors and bystanders should be kept a safe distance from work area.
- MAKE WORKSHOP CHILD PROOF with padlocks, master switches or by removing starter keys.
- DO NOT FORCE THE TOOL. It will do the job better and safer at the rate for which it was designed.
- USE THE RIGHT TOOL. Do not force the tool or an attachment to do a job for which it was not designed.
- USE PROPER EXTENSION CORDS. Make sure your extension cord is in good condition. When using an extension cord, be sure to use one heavy enough to carry the current your product will draw. An undersized cord will result in a drop in line voltage and in loss of power which will cause the tool to overheat. The table on page 7 shows the correct size to use depending on cord length and nameplate ampere rating. If in doubt, use the next heavier gauge. The smaller the gauge number, the heavier the cord.
- WEAR PROPER APPAREL. Do not wear loose clothing, gloves, neckties, rings, bracelets or other jewelry which may get caught in moving parts. Nonslip footwear is recommended. Wear protective hair covering to contain long hair.
- ALWAYS WEAR EYE PROTECTION. Any power tool can throw foreign objects into the eyes and could cause permanent eye damage. ALWAYS wear Safety Goggles (not glasses) that comply with ANSI Safety standard Z87.1. Everyday eyeglasses have only impact-resistant lenses. They ARE NOT safety glasses. NOTE: Glasses or goggles not in compliance with ANSI Z87.1 could seriously injure you when they break.
- WEAR A FACE MASK OR DUST MASK.
Sawing operation produces dust. - SECURE WORK. Use clamps or a vise to hold work when practical. It is safer than using your hand and it frees both hands to operate the tool.
- DISCONNECT TOOLS FROM POWER SOURCE before servicing, and when changing accessories such as blades, bits and cutters.
- REDUCE THE RISK OF UNINTENTIONAL STARTING. Make sure switch is in the OFF position before plugging the tool in.
- USE RECOMMENDED ACCESSORIES. Consult this Instruction Manual for recommended accessories. The use of improper accessories may cause risk of injury to yourself or others.
- NEVER STAND ON THE TOOL. Serious injury could occur if the tool is tipped or if the cutting tool is unintentionally contacted.
- CHECK FOR DAMAGED PARTS. Before further use of the tool, a guard or other part that is damaged should be carefully checked to determine that it will operate properly and perform its intended function — check for alignment of moving parts, binding of moving parts, breakage of parts, mounting and any other conditions that may affect its operation. A guard or other part that is damaged should be properly repaired or replaced.
- NEVER LEAVE THE TOOL RUNNING UNATTENDED.
TURN THE POWER “OFF”. Do not walk away from a running tool until the grinding wheels come to a complete stop and the tool is unplugged from the power source. - DO NOT OVERREACH. Keep proper footing and balance at all times.
- MAINTAIN TOOLS WITH CARE. Keep tools sharp and clean for best and safest performance. Follow instructions for lubricating and changing accessories.
- DO NOT use power tool in presence of flammable liquids or gases.
- DO NOT operate the tool if you are under the influence of any drugs, alcohol or medication that could affect your ability to use the tool properly.
- Dust generated from certain materials can be hazardous to your health. Always operate tool in well-ventilated area and provide for proper dust removal.
- WARNING
People with electronic devices, such as pacemakers, should consult their physician(s) before using this product. Operation of electrical equipment in close proximity to a heart pacemaker could cause interference or failure of the pacemaker. - WEAR HEARING PROTECTION to reduce the risk of induced hearing loss.
BENCH GRINDER SAFETY
- Wear eye protection that complies with ANSI Z87.1 specifications.
- Use grinding wheels suitable for the speeds of the grinder.
- Stand beside the bench grinder during start-up, not facing directly in front.
- Do not remove the wheel guard.
- Do not use the grinding wheel to cut anything.
- Do not use anything to stress the grinding wheel.
- Use a grinding wheel dressing tool to shape or remove glaze from grinding wheels.
- Adjust distance between wheel and tool rest to maintain 1/8 inch (3.2 mm) or less separation as the diameter of the wheel decreases with use.
- Connect to a supply circuit protected by a circuit breaker or time-delay fuse.
- Secure the bench grinder to its supporting surface to prevent the grinder from tipping over, sliding, or walking on its supporting surface.
A. Replace a cracked wheel immediately.
B. Always use the guards and eye shields.
C. Do not overtighten the wheel nut.
D. Use only flanges furnished with this grinder. - Always inspect grinding wheels prior to use for cracks, missing pieces, etc. Replace wheel immediately before use.
- USE ONLY GRINDING WHEELS that comply with ANSI B7.1 and rated greater than 3450 RPM.
- GUARD AGAINST ELECTRICAL SHOCK by preventing body contact with grounded surfaces.
For example: pipes, radiators, ranges, refrigerator enclosures. - DO NOT use wheels with incorrect size holes.
NEVER use wheel washers or wheel screws that are defective or incorrect, and NEVER touch a grinding wheel or other moving parts. - NEVER reach to pick up a workpiece, a piece of scrap, or anything else that is in or near the grinding path of the wheel.
- AVOID AWKWARD OPERATIONS AND HAND POSITIONS where a sudden slip could cause your hand to move into the wheel. ALWAYS make sure you have good balance.
- NEVER stand or have any part of your body in line with the path of the wheel.
- DO NOT USE TOOL IF SWITCH DOES NOT TURN IT ON AND OFF. Have defective switches replaced by an authorized service center.
- DO NOT TURN THE MOTOR SWITCH ON AND OFF RAPIDLY. This could cause the wheel to loosen and create a hazard. Should this ever occur, stand clear and allow the wheel to come to a complete stop. Disconnect your grinder from the power supply and retighten the wheel nut securely.
- RISK OF INJURY DUE TO ACCIDENTAL STARTING. Do not use in an area where children may be present.
- NEVER START THE GRINDER when the wheel is in contact with the work piece.
- SECURE WORK. Always hold the work piece firmly against the work rest.
- DO NOT USE THE BENCH GRINDER if the flange nut or clamp nut is missing or if the spindle shaft is bent.
- FREQUENTLY clean grinding dust from beneath the grinder.
- DO NOT OPERATE THIS TOOL WHILE UNDER THE INFLUENCE OF DRUGS, ALCOHOL OR ANY MEDICATION.
- ALWAYS STAY ALERT. Do not allow familiarity (gained from frequent use of your grinder) to cause a careless mistake. ALWAYS REMEMBER that a careless fraction of a second is sufficient to inflict severe injury.
- STAY ALERT AND EXERCISE CONTROL. Watch what you are doing and use common sense. Do not operate the tool when you are tired. Do not rush.
- SAVE THESE INSTRUCTIONS. Refer to them frequently and use them to instruct other users. If you loan someone this tool, loan them these instructions also.
- ALWAYS EASE THE WORKPIECE AGAINST THE ABRASIVE WHEEL when starting to grind. A harsh impact can break the wheel. Use light pressure when starting to grind. Too much pressure on a cold wheel can cause the wheel to crack.
- USE ONLY FLANGES furnished with this bench grinder.
- IF ANY PART OF THIS GRINDER IS MISSING or should break, bend, fail in any way, or should any electrical component fail to perform properly, shut off the power switch, remove the machine plug from the power surce and have damaged, missing, or failed parts replaced before resuming operation.
- SAFETY SHIELD AND SPARK DEFLECTOR. The safety shields and spark deflectors are adjustable for operator convenience. Operating the grinder without these features attached could result in serious injury. Do not grind with the safety shield raised. Always wear safety glasses for personal protection.
- WORK REST. The work rests are independently adjustable to compensate for wheel wear. Before grinding, make certain the work rests are adjusted properly. Generally, the object being ground is done slightly above the center of the grinding wheel.
- Lawn mower blades are usually sharpened on only one edge and dressed up slightly on the other. Perform this sharpening process on both cutting ends of the blade. After sharpening, balance the blade by removing additional material.
ELECTRICAL REQUIREMENTS AND SAFETY
POWER SUPPLY AND MOTOR SPECIFICATIONS
WARNING
To avoid electrical hazards, fire hazards, or damage to the tool, use proper circuit protection. Use a separate electrical circuit for your tool. Your grinder is wired at the factory for 120 V operation. Connect to a 120 V, 5 Amp circuit and use a 5 Amp time delay fuse or circuit breaker. To avoid shock or fire, if power cord is worn, cut, or damaged in any way, have it replaced immediately.
GROUNDING INSTRUCTIONS
WARNING
This tool must be grounded while in use to protect the operator from electrical shock.
IN THE EVENT OF A MALFUNCTION OR BREAKDOWN, grounding provides a path of least resistance for electric currents and reduces the risk of electric shock. This tool is equipped with an electrical cord that has an equipment-grounding conductor and a grounding plug. The plug must be plugged into a matching receptacle that is properly installed and grounded in accordance with all local codes and ordinances.
DO NOT MODIFY THE PLUG PROVIDED. If it will not fit the receptacle, have the proper receptacle installed by a qualified electrician.
IMPROPER CONNECTION of the equipment grounding conductor can result in risk of electric shock. The conductor with the green insulation (with or without yellow stripes) is the equipment grounding conductor. If repair or replacement of the electrical cord or plug is necessary, do not connect the equipment grounding conductor to a live terminal.
CHECK with a qualified electrician or service person if you do not completely understand the grounding instructions, or if you are not certain the tool is properly grounded.
USE only 3-wire extension cords that have three-pronged grounding plugs with three-pole receptacles that accept the tool’s plug. Repair or replace damaged or worn cords immediately.
Use a separate electrical circuit for your tool. This circuit must not be less than #18 wire and should be protected with a 5 Amp time lag fuse. Before connecting the motor to the power line, make sure the switch is in the off position and the electric current is rated the same as the current stamped on the motor nameplate. Running at a lower voltage will damage the motor.
GUIDELINES FOR EXTENSION CORDS
USE THE PROPER EXTENSION CORD. Make sure your extension cord is in good condition. Use an extension cord heavy enough to carry the current your product will draw. An undersized cord will cause a drop in line voltage resulting in loss of power, overheating and burning out of the motor. The table below shows the correct size to use depending on cord length and nameplate ampere rating. If in doubt, use the next heavier gauge. The smaller the gauge number, the heavier the cord.
Make sure your extension cord is properly wired and in good condition. Always replace a damaged extension cord or have it repaired by a qualified technician before using it. Protect your extension cords from sharp objects, excessive heat and damp or wet areas.
| MINIMUM GAUGE FOR EXTENSION CORDS (AWG) | |||||
| (When using 120 volts only) | |||||
| Ampere Rating | Total length of Cord | ||||
| More Than | Not More Than | 25 50 100 150 ft. (7.62 15.24 30.48 45.72 m) |
|||
| AWG- American Wire Gauge | |||||
| 0 | 6 | 18 | 16 | 16 | 14 |
| 6 | 10 | 18 | 16 | 14 | 12 |
| 10 | 12 | 16 | 16 | 14 | 12 |
| 12 | 16 | 14 | 12 | Not Recommended | |
WARNING
This tool is for indoor use only. Do not expose to rain or use in damp locations.
This tool is intended for use on a circuit that has a receptacle like the one illustrated in Fig. 1. Fig. 1 shows a three-pronged electrical plug and receptacle that has a grounding conductor. If a properly grounded receptacle is not available, an adapter (Fig. 2) can be used to temporarily connect this plug to a two-contact grounded receptacle. The adapter (Fig. 2) has a rigid lug extending from it that MUST be connected to a permanent earth ground, such as a properly grounded receptacle box.
CAUTION
In all cases, make certain the receptacle is properly grounded. If you are not sure, have a qualified electrician check the receptacle.
TOOLS NEEDED FOR ASSEMBLY
Not supplied
CARTON CONTENTS
UNPACKING AND CHECKING CONTENTS
Carefully unpack the grinder and all its parts, and compare against the list below and the illustration to the right. With the help of an assistant place the grinder on a secure surface and examine it carefully.
WARNING
- To avoid injury from unexpected starting or electrical shock, do not plug the power cord into a source of power during unpacking and assembly. This cord must remain unplugged whenever you are adjusting/assembling the grinder.
- The grinder is heavy and should be lifted with care. If needed, get the assistance of someone to lift and move the grinder.
- If any part is missing or damaged, do not attempt to assemble the grinder, or plug in the power cord until the missing or damaged part is correctly replaced.
UNPACKING YOUR BENCH GRINDER
TABLE OF LOOSE PARTS
| ITEM | DESCRIPTION | QUANTITY |
| A. | Bench grinder (Not show) | 1 |
| B. | Tool rest mounting bracket | 2 |
| C. | Tool rest | 2 |
| D. | Tool rest & eye shield hardware bag | |
| Locking knob / flat washer | 2 | |
| Locking nut knob / flat washer / carriage bolt | 2 | |
| E. | Spark guards | 2 |
| F. | Phillips screw assy | 4 |
| G. | Right / left eye shields | 1 |
KNOW YOUR BENCH GRINDER
ASSEMBLY AND ADJUSTMENTS
Estimated Assembly Time: 10 – 20 minutes.
CAUTION
To avoid injury, make sure all parts are assembled and adjusted properly before plugging the grinder into a power outlet and turning it ON.
INSTALLING TOOL RESTS (FIG.A, B, C)
- Bag “D” – Insert the lock knob (1) through the flat washer (2) and the right side tool rest (3) to the right side tool rest mounting bracket (4) as shown.
NOTE: The grooved tool rest mounts on the left side of grinder. - Remove the knob (5), lock washer (6) and flat washer (7) from the carriage bolt (8) on the lower portion of the wheel guard.
- Attach the tool rest assembly (9) to the grinder as shown.
- Replace the washers and the lock knob (5).
- Repeat the procedure for the left side tool rest.
NOTE: When in use, the tool rests should be adjusted to within 1/8 in. (3.2 mm) of the grinding wheel or other accessory being used.
INSTALLING THE SPARK GUARDS (FIG. D)
- Bag “F” – Attach the right spark guard (1) to the extended pad (2) of guard by using the screw assy (3).
- Repeat for the left side spark guard.
NOTE: As the wheel wears down, the spark guards must be re-adjusted to maintain a 1/16 in. (1.6 mm) distance.
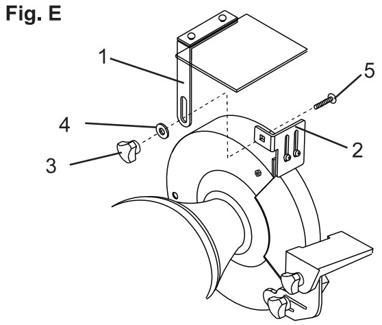
INSTALLING THE EYE SHIELDS (FIG. E)
- Bag “D” – Attach the right eye shield (1) to the spark guard (2) by using the locking nut knob (3), lock washer (4) and the carriage bolt (5).
- Repeat for left side eye shield.
NOTE: Adjust eye shields to appropriate distance from tool rests avoiding interference when operation.

CHANGING GRINDING WHEELS (FIG. F, G, G-1, H)
CAUTION
Turn off and unplug the bench grinder. Use only grinding wheels that measure 8 inches (200 mm) in diameter. This tool has 5/8 inch (15.88 mm) arbors on both sides.
- Raise the eye shield (1) out of the way and place the spark guard (6) in its highest setting.
- Loosen the knob (2) and remove the tool rest assembly (3) and carriage bolt (4).
- Remove the two screws (5) from the left side wheel cover and then remove the outer cover.

- To prevent wheel rotating, place a wood wedge (7) (not supplied) between the wheel and the wheel cover as shown in Fig. G.
NOTE: Using a metal object, like a screwdriver, is not recommended as it may damage the grinding wheel. - Remove the hex nut (8) (as shown in Fig. G), the wheel flange (9) and the wheel (10). (Fig. H)


NOTE: The nut on the right side of the grinder has a standard right-hand thread (turn counterclockwise to loosen). The one on the left side has a left-hand thread (turn clockwise to loosen). Both wheel nuts tighten when turning toward the rear of the grinder and loosen when turning toward the front of the grinder.
- Inspect the wheel (10) for cracks, chips or any other visible damage (other than normal wear) and discard if such damage is found. Inspect the blotter/cardboard disc for damage. If the blotter is missing or severely damaged, replace it with a piece of thin cardboard or blotter paper cut in the same shape. NEVER USE A GRINDING WHEEL WITHOUT A BLOTTER.
- Install the new wheel or other accessory. Make sure both wheel flanges (9) are in place with the concave sides toward wheels. (Fig. H)
- Place a wood wedge (7) (not supplied) between the wheel and the wheel cover as shown in Fig. G-1.
NOTE: Do not overtighten the nut as this can crack the grinding wheel (10). - Replace the wheel cover and screws.
- Adjust the tool rest to 1/8 in. (3.2 mm) away from the wheel and tighten securely.
- Reattach and adjust the eye shield to a point between your eyes and the wheel.
- Set the spark guard 1/16 in. (1.6 mm) away from the wheel.

OPERATION
STARTING AND STOPPING THE GRINDER (FIG. M)
The “ON / OFF” switch has a removable, black plastic key. With the key removed from the switch, unauthorized and hazardous use by children and others is minimized.
- To turn the grinder “ON”, insert key (1) into the slot of the switch (2), and move the switch to the “ON” position.
- To turn the grinder “OFF”, move the switch to the “OFF” position.
- To lock the switch in the “OFF” position, grasp the end, of the switch key, and pull it out.
- With the switch key removed, the switch will not operate.
- If the switch key is removed while the grinder is running, it can be turned “OFF” but cannot be restarted without inserting the switch key.
CAUTION
Always lock the switch “OFF” when the grinder is not in use. Remove the key and keep it in a safe place. In the event of a power failure, blown fuse, or tripped circuit breaker, turn the switch “OFF” and remove the key, preventing an accidental startup when the power comes on. 
ADJUSTING THE SPEED OF GRINDER (FIG. N)
Your grinder is equipped with a variable speed control knob. The speed of the grinder may be adjusted by simply rotating the variable speed control knob (1).
- To increase speed, rotate the variable speed control knob (1) clockwise.
- To reduce speed, rotate the variable speed control knob (1) counterclockwise.

GENERAL OPERATION
CAUTION
Keep all bystanders a safe distance away from the tool and not in direct line, front or back of the grinder.
- Your bench grinder has a medium wheel (60 grit) for medium material removal and general purpose grinding, and a coarse wheel (36 grit) for fast material removal.
- To operate the bench grinder, always wear safety glasses and turn the tool on while standing at the side and not in front of the grinder. Allow it to reach full speed before grinding.
- Hold the work piece firmly against the tool rest. Hold very small pieces with pliers or other suitable clamps.
- Feed the work piece smoothly and evenly into the grinding wheel.
- Move the work piece slowly and avoid jamming the work piece against the wheel. If the wheel tends to slow down from excessive force, you should occasionally release the pressure to let the wheel return to full speed.
- Grind only on the face of the grinding wheel and never the side of it. (Some wheels are designed for side grinding and will say so on their blotters/ cardboard disc.)
CAUTION
Prolonged grinding will cause most materials to become hot. Use care when handling such materials.
SCISSORS
If possible, take the scissors apart to make the sharpening operation easier and safer. Remove material only from the outside surface and work from the heavy end of the blade toward the tip.
KNIVES
Remove metal from both faces of most knives, working from the heavy end of the blade toward the tip.
SCREWDRIVERS
The end of a properly sharpened screwdriver will be a perfect rectangle, absolutely flat and perpendicular to the center line of the shank. The two sides and two faces will taper outward from the edge of the shoulder or shank. They should be flat with intersecting faces perpendicular. Hold each face of the screwdriver against the wheel to true it up, then ease the end straight into the stone to grind it true.
TWIST DRILL BITS (FIG. Q)
Drill bits are best sharpened on a sharpening jig, available at most hardware stores, but can be “dressed up” on your grinder. Begin on one side of the point at the existing angle, then twist the bit while maintaining a constant angle with grinding surface. Sharpen only the tip. This technique requires considerable practice, so take your time and make a few “dry runs” first with the grinder off. Be sure to maintain the original cutting edge angle as this is important to the efficiency of your bits. One tool rest has a V-groove that is correctly angled for most drill bits. 
LAWN MOWER BLADES
Lawn mower blades are usually sharpened on only one side and dressed up slightly on the other. After sharpening, be sure to balance the blade by removing additional material from the heavy end. There are a number of inexpensive cone balancers on the market
for this purpose. Unbalanced blades can cause serious crank shaft damage to your lawn mower. Always remove spark plug wires from the mower before servicing the blades to prevent accidental starting.
CAUTION
For your own safety, turn switch “OFF” and remove plug from power source outlet before adjusting and maintaining your bench grinder. If power cord is worn, cut or damaged in any way, have it replaced immediately.
GENERAL
- Regularly check the tool and use a soft brush to remove accumulated dust. Wear safety goggles to protect your eyes while cleaning.
- If the body of the grinder needs cleaning, wipe it down with a soft, damp cloth. A mild detergent can be used. Do not use alcohol, petrol or other similar cleaning agents. Do not make contact with the grinding wheels with any damp cloth.
- Always make sure the eyeshields are transparent and not blocking the view of the grinding wheel.
- In normal use, grinding wheels may become cracked, grooved, rounded at the edges, chipped, out of true or loaded with foreign material. Cracked wheels should be replaced IMMEDIATELY. While any of the other conditions can be remedied with a dressing tool (included), new wheels sometimes require dressing to make them round.
MAINTENANCE - If you must replace a wheel be sure to obtain one with a safe rated speed at least as high as the “NO LOAD” RPM marked on your grinder’s nameplate.
Replacement wheels must have a 5/8 in. (15.88 mm) center hole, 8 in. (200 mm) diameter and should be a maximum of 1 in. (25 mm) wide.
CAUTION
- Never use caustic agents to clean the plastic parts of the tool.
- Water must never come into contact with the grinder.
- The use of any other accessories is not recommended and may result in serious injury.
PLEASE READ THE FOLLOWING:
The manufacturer and/or distributor is providing the buyer with a parts list and assembly diagram in this manual as a reference tool only. Neither the manufacturer nor distributor make any representation or warranty of any kind to the buyer regarding the accuracy of the list or diagram or that buyer isqualified and able to make any repairs or replace any parts of the product.
The manufacturer and/or distributorexpressly recommend: that all repairs and/or part replacements only be undertaken by a certified and licensed technician, and not by the buyer. The buyer assumes all risk and liability, including injuries to persons and damagto property, associated with and arising out of any attempt of the buyer at repairs or replacement of parts to the product.
TROUBLESHOOTING GUIDE
WARNING
To avoid injury from an accidental start, turn the switch OFF and always remove the plug from the power source before making any adjustments.
| PROBLEM | PROBLEM CAUSE | SUGGESTED CORRECTIVE ACTION |
| Motor will not run. | 1. Not plugged into power outlet. | 1. Plug it into the power outlet. |
| 2. Switch and key not in ON position. | 2. Insert key and turn the switch ON. | |
| 3. Motor cord cut or abraded. | 3. Contact Authorized Service Station for repair or replacement. | |
| 4. Plug on cord is faulty. | 4. Contact Authorized Service Station for repair or replacement. | |
| 5. Faulty motor. | 5. Contact Authorized Service Station for repair or replacement. | |
| 6. Fuse on circuit breaks open. | 6. Re-set; may be too many machines on line. | |
| Grinding wheel vibrates or | 1. Grinding wheel is not fixed properly. 2. Other. |
1. Adjust grinding wheel properly. See ADJUSTMENT section. 2. Contact Authorized Service Station for repair or replacement. |
PARTS LIST
8 IN. (200 MM) VARIABLE SPEED GRINDER
PARTS LIST
| No. | DESCRIPTION | SIZE | Q’TY | No. | DESCRIPTION | SIZE | Q’TY |
| 1 | Rubber foot | 4 | 36 | Hex nut | M5 | 8 | |
| 2 | Philips screw+flat washer assy | M4 x 8 | 2 | 37 | Capacitor | 45uf/450V | 1 |
| 3 | Base cover | 1 | 38 | Cord clip | 1 | ||
| 4 | Circuit board | 1 | 39 | Cord plate | 6P4 | 1 | |
| 5 | Philips screw | ST2.9 x 5 | 2 | 40 | Plug and cord | 1 | |
| 6 | Circuit board box | 1 | 41 | Work rest knob | M6 x 17 | 2 | |
| 7 | Philips screw | M3 x 10 | 2 | 42 | Flat washer | D6 | 4 |
| 8 | Switch | HY7-4P | 1 | 43 | Left work rest | 1 | |
| 9 | Knob | 1 | 44 | Nut | M5 | 2 | |
| 10 | Switch protect plate | 1 | 45 | Spring washer | D5 | 2 | |
| 11 | Philips screw | M5 x 8 | 4 | 46 | Big flat washer | D5 | 2 |
| 12 | Knob mat | 1 | 47 | Left fixed work rest | 1 | ||
| 13 | Switch plate | 1 | 48 | Philips screw | M5 x 48 | 4 | |
| 14 | Potentiometer | 1 | 49 | Bolt | M5 x 51 | 2 | |
| 15 | Base | 1 | 50 | left protect guard cover | 1 | ||
| 16 | Cord sleeve | 3 | 51 | Hex nut | M16 left | 1 | |
| 17 | Hex bolt+spring washer assy | M8 x 22 | 2 | 52 | flange | 4 | |
| 18 | Teeth washer | D4 | 2 | 53 | Wheel stone | 2 | |
| 19 | Philips screw+spring washer+ flat washer assy | M4 x 7 | 3 | 54 | Philips screw+ spring washer assy | M5 x 10 | 6 |
| 20 | Hex nut | M4 | 5 | 55 | Philips screw+ spring washer+ flat washer assy | M5 x 10 | 4 |
| 21 | Fix knob | 1 | 56 | Left inner guard | 1 | ||
| 22 | Philips screw | M4 x 16 | 1 | 57 | Bolt | M6 x 12 | 2 |
| 23 | Philips screw+ flat washer assy | M5 x 160 | 4 | 58 | Spark deflector | 1 | |
| 24 | Left end cap | 1 | 59 | Philips screw | M4 x 12 | 4 | |
| 25 | Wave washer | D40 | 1 | 60 | Eyeshield pressing plate | 2 | |
| 26 | Bearing | 6203-2RZ | 2 | 61 | Eyeshield | 2 | |
| 27 | Stator | 1 | 62 | Eyeshield support | 2 | ||
| 28 | Rotor | 1 | 63 | Lock nut | M6 | 2 | |
| 29 | Right end cap | 1 | 64 | Spark deflector | 1 | ||
| 30 | Hex nut | M5 | 4 | 65 | Right inner guard | 1 | |
| 31 | Sensor | 1 | 66 | Hex nut | M16 right | 1 | |
| 32 | Philips screw | M2.5 x 6 | 2 | 67 | Right guard cover | 1 | |
| 33 | Screw | M5 x 6 | 1 | 68 | Right work rest | 1 | |
| 34 | Feedback board | 1 | 69 | Right fixed work rest | 1 | ||
| 35 | Right end cap | 1 |
8 IN. (200 MM) VARIABLE SPEED GRINDER
SCHEMATIC 