Contents
better bathrooms AQUA900 Touch Control LED Mirror

Thank you for choosing Better Bathrooms. Please read this manual before installing your product and keep it for future reference.
CONGRATULATIONS ON YOUR PURCHASE
- Our aim at Better Bathrooms is to bring you extraordinary bathroom products, for less.
- If you’re after a modern, traditional, or totally unique style bathroom, we have the fittings and fixtures to bring your ideas to life, so you can fall in love with your space every day.
We hope your new product goes above and beyond your expectations. However, should any problems occur, please:
- Log in to your account and contact our customer services team via your self-service portal – betterbathrooms.com/CustomerAccount/Login.
- Contact us via betterbathrooms.com/contact/contact-us.
SAFETY
- This mirror should be installed by a qualified electrician.
- This fitting is only suitable for connection to a 220-240V earthed supply in accordance with current IEE wiring regulations and should be installed in accordance with local Building Regulations.
- This is for domestic, indoor use only.
- The fitting should be connected to a dedicated lighting circuit which must be protected by a 5-amp fuse (or a 6-amp miniature circuit breaker).
- Before installing the fitting ensure the mains supply is switched off, and that the appropriate fuse is removed (or the appropriate circuit breaker is switched off) before commencing installation. Ensure that measures are taken to prevent the supply from being inadvertently reconnected.
- If there is a “Minimum Distance” Label, please do not allow Flammable Materials to rest within that distance from the unit.
- This product may contain delicate parts – be careful during handling and maintenance to avoid breakage.
- If any modification is made to the fitting it will invalidate the warranty and may render the product unsafe.
- A defective appliance may cause electric shock. Never switch on a defective or damaged appliance. Disconnect the appliance from the mains before seeking assistance.
- This product is IP44 rated, and no part of the installation is allowed to be within bathroom Zones O or 1. Installation is permitted within Zone 2.
- This product must be earthed. Before commencing installation, ensure that there are no pipes or wires located behind the wall that may be damaged during drilling.
- Ensure that the hanging location has been decided upon and marked clearly to avoid unwanted damage in the wall due to incorrect positioning.
- Check that the mirror is not damaged prior to installation.
- Take care unpacking, do not use a sharp blade to open as this may damage the mirror and void your warranty.
- Installation must only be carried out by a qualified professional or electrician.
BATHROOM ZONES

| Zone 0: | The interior of the bathtub or shower basin. |
| Zone 1: | The area around the bathtub or shower basin up to a height of 2.25m above the floor |
| Zone 2: | The area stretching to 0.6m outside the bath or shower and above the bath or shower if over 2.25m |
PARTS SUPPLIED

PLEASE NOTE:
It is the responsibility of the installer to ensure that the fittings are suitable for the type of wall. Alternative fittings may be required (Not Supplied). If unsure professional advice should be sought.
TOOLS REQUIRED

INSTALLATION
The mirror is supplied with a hanging bar to mount the mirror onto the wall. At the back of the mirror, there is a corresponding bar which is designed to slot onto the hanging bar. And there is one hanging hook on the back as well. To hang the mirror, 4 holes are required in the wall.
Before drilling, ensure that no wires or pipes are behind the wall. If unsure, seek professional advice.
- Choose the desired position of the mirror and from that determine the required position of the hanging bar.
- Hold the hanging bar in position using a spirit level to ensure it is level.
- Use a pencil to mark the position of the 3 holes on the wall.

- Place the hanging bar to one side and drill the holes with a suitable drill bit.
- Insert wall plugs into the holes ensuring they are flush to the wall.
- Place the hanging bar onto the wall lining up the 3 holes with the wall plugs.
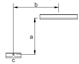
- On the back of the mirror, measure the distance a and b from the center of the bar to the hanging hook.
- Make a note of the distance and mark the c position on the wall.

- Drill the hole into the wall at the position c using a suitable drill bit.
- Insert the wall plug into the hole.
- Insert the screw into the wall plugs, ensuring its head is protruding by approximately 3mm.
- You will now be able to hang the mirror. Carefully lower the mirror onto the hanging bar and the screw, ensuring that it is secure and will not slide.
- The mirror should now be connected to a suitable fused spur following current regulations and guidance. We would advise for this to be situated directly behind the mirror below the hanging bar When connecting ensure that enough cable is left to allow the mirror to be safely removed from the hanging bar.

PRODUCT OVERVIEW

OPERATION
- When the mirror is connected and hung securely onto the wall, turn the mains power back on and the mirror will be ready to use.
- To operate, use the touch button on the front of the mirror, which is located at the bottom. Press the button once to turn on the lights and to begin de-misting.
- Hold the button to change the color temperature from Warm White to Cool White.
- Press again to turn the lights and demister off.

CLEANING AND MAINTENANCE
- Never use products containing bleach or abrasive cleaners, as this will have a detrimental effect on the appearance and lifespan of the product.
- Use a clean microfibre cloth to clean the mirror.
TECHNICAL SPECIFICATION
| Model | AQUA900 |
| LxHxW (cm) | 70x90x3.9 |
| Net Weight (Kg) | 7.5KG |
| Power Cord length (cm) | 75 |
| Rated Power | 51W |
| IP Rating | IP 44 |
| Input | 220 V – 240 V 50 Hz |
This product contains a light source of energy efficiency class<F>.
DISPOSAL
- Recycling facilities are now available for all customers at which you can deposit your old electrical products. Customers will be able to take any old electrical equipment to participating sites run by their local councils.
- Please remember that this equipment will be further handled during the recycling process, so please be considerate when depositing your equipment. Please contact the local council for details of your local household waste recycling centers.

At the time of printing the product contains no substances listed within Annex XIV of the Reach Regulations (EC) 1907 /2006. In accordance with Article 59 of the same regulation the following substances are contained within the product at permitted levels: Cadmium. As a responsible manufacturer, the regulations are monitored to ensure continued compliance. Further information can be provided upon request.
For more information
- Visit betterbathrooms.com
- Email [email protected].
- Call 0330 390 3062
- Add: write to Trident Business Park, Neptune Way, Huddersfield, HD21UA.
Part of the BuyltDirect Group.
