Contents
BESTTEN DS01 Dimmer Switch LED Compact Fluorescent Incandescent

Dimmer Switch for LED/Compact Fluorescent/Incandescent Single Pole (One Location) or 3-Way (Two Locations) LED/CFL 150W,lncandescent 600W 120VAC,60HZ
Model Number: USP3-DS01
USER MANUAL
WARNINGS AND CAUTIONS
- Use with compatible dimmable LED, CFL bulbs, Incandescent or 120V halogen fixtures only. To avoid overheating and possible damage to this device and other equipment, DO NOT install to control a receptacle, a motor-operated or transformer-supplied appliance, or any other lighting sources than those specified.
- To be installed and/or used by appropriate electrical codes and regulations.
- Use only one (1) dimmer in a 3-way circuit.
- When multiple bulbs are used with one dimmer, do not mix bulb types. All bulbs should be either LED, CFL or incandescent. Using the same make/model of each bulb will enhance dimmer performance.
- Use this device with copper or copper-clad wire only.
- Clean dimmer with a soft damp cloth only. Do not use any chemical cleaners.
- If you are unsure about any part of these instructions, consult an electrician.
SPECIFICATIONS
- Voltage……………………………………………………………..120V, 60Hz
- Dimmable LED/CFL………………………………………….Max. 150W
- Incandescent/Halogen……………………………………….Max. 600W
- Switch Type………………………………………………………Single Pole/3-Way
- Operation Temperature……………………………………..32°F (0°C)–104°F (40°C)
- Certifications…………………………………………………….UL/cUL Listed
INSTALLATION
Multi-Gang Installations
- When installing more than one control in the same wall box, it may be necessary to remove all the inner side sections before wiring.
- Using pliers, bend each needed side section up and down until it breaks off.
Dimmer Capacity
- 600W unmodified
- S00W if one side is removed
- 400W if both sides are removed

Installation Instructions
STEP 1
- Turn OFF Power

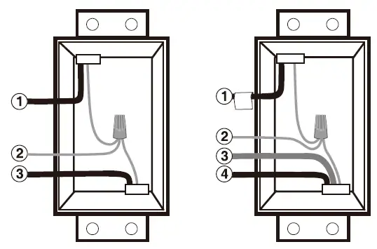
STEP2: Identify Your Wiring Application
(most common):
NOTE: If the wiring in the wall box does not resemble any of these configurations, consult an electrician.

Single-Pole
- Line (Hot)
- Ground
- Load
3-Way
- Line or Load Common (See important instructions below)
- Ground
- First Traveler
- Second Traveler
MPORTANT: For 3-way applications, note that one of the screw terminals from the old switch being removed will usually be a different colour (Black) or labelled Common. Tag that wire with electrical tape and identify it as the common (Line or Load) in both the dimmer wall box and the standard 3-way switch wall box. The remaining two wires on the brass or lighter screw terminals of the old switch are the travellers.
STEP3: Prepare Wires:
- Pull off the pre-cut insulation from the Dimmer wires.
- Make sure that the ends of the wires from the wall box are straight (cut if necessary).
STEP4A: Single-Pole Wiring Application:

Connect wires as follows
Screw wire nuts on clockwise making sure no bare conductors show below the wire connectors. Secure each connector with electrical tape.
- Green dimmer wire connects to Ground or bare copper wire.
- Black dimmer wire connects to Line Hotwire.
- Red dimmer wire without an insulating label connects to the Load wire.
- Remaining red dimmer wire should have an insulation label affixed. DO NOT REMOVE it in a single pole application.

STEP 4B: 3-Way Wiring Application:

Connect wires as follows
Screw wire nuts on clockwise making sure no bare conductors show below the wire connectors. Secure each connector with electrical tape.
- Green dimmer wire connects to Ground or bare copper wire.
- Black dimmer wire connects to Line Hot or Load (Common) wire.
- Two Red dimmer wires connect to the two travellers.

STEP5: Dimmer Mounting:
- Installation may now be completed by carefully positioning all the wires to provide room in the wall box for the dimmer.
- Mount the dimmer into the box with supplied mounting screws.

STEP6: Turn ON Power:

STEP 7: Test Dimmer:
ON/OFF
Press the rocker switch to the ON/OFF position Lights will turn ON/OFF
BRIGHTEN & DIM
- Move the slider control lever
- Lights will BRIGHTEN or DIM
- If the LEDs flicker, go to step 8 to adjust the dimmer range.
- If the LEDs work properly, install the wallplate and complete the installation.

STEP 8: Adjust Dimmer Range (optional):
Adjust circuit dimming as follows:
- Turn on the Switch and move the Slider to the lowest (bottom) setting.
- Rotate (Counter-Clockwise) the Sensitivity Dial up. NOTE: If the dial stops in either direction, do not continue to turn it.
- Rotate (Clockwise) the Sensitivity Dial down slowly until the preferred lowest light level is acheived and the light is not flickering.

TROUBLESHOOTING
Symptom
- Bulbs turn off while being dimmed.
- Bulbs turn on at a high light level but do not turn on at a low light level, or take too long to turn on at the low end.
- Bulbs flicker or flash when dimmed do a low light level.
- Bulbs or dimmers are buzzing.
Solution
- Verify all bulbs are marked dimmable.
- Remove the wallplate and locate the sensitivity dial.
- Turn up the (counter-clockwise) sensitivity dial slowly until the symptom is no longer present.
WARRANTY
- BESTTEN warrants to the original customer that this product is free of defects in materials and workmanship for one year from the purchase date.
- Within this period, simply contact BESTTEN CARE with proof of purchase and reason of claim. We will replace the product for free.
- Any product which is subject to misuse or accidental damage is excluded from this warranty.
CONTACT
- BESTTEN CARE [email protected]
- 1-800-358-6160 (Mon-Fri 9AM-5PM PST)
- For more products from BESTTEN, please visit our website www.ibestten.com.