Cooker Hood
User Manual
HNU51630SH
Contents
HNU51630SH Cooker Hood
Please read this user manual first!
Dear Valued Customer,
Thank you for preferring this Beko appliance. We hope that you get the best results from your appliance which has been manufactured with high quality and state-of- the-art technology. For this reason, please read this entire user manual and all other accompanying documents carefully before using the appliance and keep it as a reference for future use. If you handover the appliance to someone else, give the user manual as well. Follow the instructions by paying attention to all the information and warnings in the user manual.
Remember that this user manual may also apply to other models. Differences between models are explicitly described in the manual.
Meanings of the Symbols
Following symbols are used in various sections of this user manual:
Important information and useful hints about usage.
WARNING: Warnings against dangerous situations concerning the security of life and property.
WARNING: Warning for danger of fire.
WARNING: Warning for electric shock.
RECYCLED & RECYCLABLE PAPER
Important safety and environmental instructions
1.1 General Safety
Important Safety Instructions Read Carefully And Keep For Future Reference This section contains safety instructions that will help protect from risk of fire, electric shock, exposure to leak microwave energy, personal injury or property damage. Failure to follow these instructions shall void any warranty.
- Beko products comply with the applicable safety standards; therefore, in case of any damage on the appliance or power cable, it should be repaired or replaced by the dealer, service center or a specialist and authorized service alike to avoid any danger. Faulty or unqualified repair work may be dangerous and cause risk to the user.
- This appliance is intended to be used in household and similar applications such as:
– Staff kitchen areas in shops, offices and other working en- vironments;
– Farm houses
– By clients in hotels, and other residential type environments;
– Bed and Breakfast type environments. - Operate the appliance for its intended purpose only as described in this manual.
- The manufacturer cannot be held liable for damages resulting from improper installation or misuse of the product.
- This appliance can be used by children aged from 8 years and above and persons with reduced physical, sensory or mental ca- pabilities or lack of experience and knowledge if they have been given supervision or instruction concerning use of the appliance in a safe way and understand the hazards involved.
- Children shall not be allowed play with the appliance. Cle- aning and user maintenance shall not be made by children without supervision.
- The minimum distance between the supporting surface for the cooking vessels on the hob and the lowest part of your product must be at least 65 cm.
- If the instructions for installation for the gas hob specify a greater distance, this has to be taken into account.
- Make sure that your mains power supply complies with the information supplied on the rating plate of the appliance.
- Never use the appliance if the power cable or the appliance itself is damaged.
- Prevent damage to the power cable by not squeezing, bending, or rubbing it on sharp edges. Keep the power cable away from hot surfaces and naked flame.
- Use the appliance with a groun- ded outlet only.
WARNING: Do not connect the appliance to the mains until the installation is fully complete. - Place the appliance in a way so that the plug is always accessible.
- Do not touch the lamps if they have operated for a long time. They can burn your hands since they will be hot.
- Follow the regulations set out by competent authorities on discharge of the exhaust air (this warning is not applicable for use without flue).
- Operate your appliance after putting a pot, pan etc. on the hob. Otherwise, high heat may cause deformation in some parts of your product.
- Turn off the hob before taking the pot, pan etc. from it.
- Do not leave hot oil on the hob. Pans with hot oil may cause self combustion.
- Pay attention to your curtains and covers since oil may catch fire while cooking food such as fries.
- Grease filter must be cleaned at least monthly. Carbon filter must be replaced at least every 3 months.
- Product shall be cleaned ac- cordance with user manual. Ifcleaning was not carried out inaccordance with user manual,there may be fire risk.
- Do not use non-fire-resistantfiltering materials instead of the current filter.
- Only use the original parts orparts recommended by the manufacturer.
- Do not operate the product without the filter and do not removethe filters while the product isrunning.
- In the event of be started any flame, de-energize your product and cooking appliances.
- In the event of be started anyflame, cover the flame andnever use water to extinguish.
- Unplug the appliance beforeeach cleaning and when the appliance is not in use.
- The negative pressure in the en- vironment should not exceed 4 Pa (4×10 bar) while the hood for electric hob and appliances running on another type of energy but electricity operate simultaneously.
- In the environment where the appliance is being used, the exhaust of devices running on fuel oil or gas, such as room heater must be absolutely isolated or device must be hermetical type.
- When connecting the flue, use pipes with a diameter of 120 or 150 mm. Pipe connection must be as short as possible and have as few elbows as possible.
- Danger of choking! Keep all the packaging materials away from children.
CAUTION: Accessible parts may become hot when used with coo- king appliances. - The product outlet must not be connected to air channels that include other smoke.
- The ventilation in the room may be insufficient when the hood for electric hob is used simultaneously with the devices operating on gas or other fuels (this may not apply to appliances that only discharge the air back into the room).
- Objects placed on the product may fall. Do not place any objects on the product.
- Do not flambe under the your product.
WARNING: Before installing the Hood, remove the protective films. - Never leave high naked flames under the hood when it is in operation
- Deep fat fryers must be continuously monitored during use: overheated oil can burst into flames.
1.2 Compliance with the WEEE Directive and Disposing of the Waste Product:
This product complies with EU WEEE Directive (2012/19/EU). This product bears a classification symbol for waste electrical and electronic equip- ment (WEEE).
This symbol indicates that this product shall not be disposed with other household wastes at the end of its service life. Used device must be returned to offical collection point for recycling of electrical and electronic devices. To find these collection systems please contact to your local authorities or retailer where the product was puchased. Each household performs important role in recovering and recycling of old appliance. Appropriate disposal of used appliance helps prevent potential negative consequences for the environment and human health.
1.3 Compliance with RoHS Directive
The product you have purchased complies with EU RoHS Directive (2011/65/EU). It does not contain harmful and prohibited materials specified in the Directive.
1.4 Package Information
Packaging materials of the product are manufactured from recyclable materials in accordance with our National Environment Regulations. Do not dis- pose of the packaging materials together with the domestic or other wastes. Take them to the packaging material collection points designated by the local authorities.
General appearance
2.1 Overview
Control and parts
- Air exhaust flue
- Body
- Lighting
- Control panel
- Grease filter
2.2 Technical data
| Model | HNU51630SH |
| Supply voltage & frequency | 220-240V — 50 Hz |
| Lamp power | 2×3 W |
| Motor power | 210 W |
| Flow rate – 3. Level | 381 m3/h |
| Insulation class of motor | Class F |
| Insulation class | Class I |
Using the appliance
3.1 Use of the appliance
| A:1. Stage Button | Operates the appliance on 1st spe- ed. When you press this button again to turn off the appliance, the screen speed stage turns off. |
| B:2. Stage Button | Operates the appliance on 2nd spe- ed. When you press this button again to turn off the appliance, the screen speed stage turns off. |
| C:Digital Display | Shows the selected speed and war- ning symbols. |
| D:3. Stage Button | Operates the appliance on 3rd spe- ed. When you press this button again to turn off the appliance, the screen speed stage turns off. |
| E:Light On / Off | You may illuminate the cooking area by pressing this button. Re-press the button to turn off the lamp. |
Cleaning Periods of Metal Filters:
Filters must be cleaned when the “C” signal is seen on the display (once every 60 hours) or every 4 weeks (depending on usage). After the filters are cleaned and mounted, press the A button for more than 3 seconds to clear the “C” signal (when the product is off). The letter E will appear on the display and normal operation will commence. If you want to continue operating without deleting the C signal, when you press any of the step buttons, the active speed will appear for 1 second and the motor will continue to operate at the selected step with the C signal appearing again.
Automatic Stop 15 minutes:
Your appliance has an automatic stop feature in order to remove unwanted odour and steam remaining in the environment after the cooking pro- cess has finished and for the appliance to turn it- self off after conducting a ventilating process for a period of time. To activate the automatic stop fea- ture; press the same button for the current speed (A,B,D) for 3 seconds. After 15 minutes of opera- tion, all functions of your appliance will stop. If you press the same speed button while the automatic stop feature is active, the automatic stop function will be disabled and the motor of the appliance will stop. This feature will be disabled when you switch to different speed levels. It is necessary to activate the automatic stop feature of the device.
3.2 Energy efficient usage
- When using your appliance, adjust the speed settings according to vapour and odour intensity, in order to save energy.
- Use low speeds (1-2) under normal conditions, and high speed (3) and boost mode for intense odour and vapour.
- The hood is equipped with lamps in order to illuminate the cooking area.
- Using them for environmental lighting shall cause unnecessary energy expenditure and insufficient lighting.
- For your device to consume less energy, run it at a low speed level. signal is
- Your device will reduce energy consumption as it will run more efficiently when you provide sufficient air intake to it.
- Set your device to the intense suction power level before the formation of steam, in cases where you know that the dense steam will occur. So, you reduce energy consumption by using your device for a shorter time as it will have a sufficient air intake.
- Keep the lids of the cookware closed to reduce the steam evolving.
3.3 Operating the hood
- Your appliance contains a motor that has various speeds.
- For better performance, we recommend using low speeds under normal conditions and high speeds in cases of strong odours and intense vapour.
- You can start your appliance by pressing on the desired speed setting button. (A, B, D).
- You may illuminate the cooking area by pressing the lamp (E).
3.4 Lamp replacement
| Lamp | |
| Power | 3 W |
| Socket | GZ 10 |
| Voltage | 220 – 240 W |
| Dimension | 53 x 50 mm |
| ILCOS Code | DR/F3-220-240-GZ10-50-53 |
| Luminous flux | 260 lm |
| Correlated colour temperature | 3000 K |
This product contains a light source of energy efficiency class “F”.
- A halogen LED lamp is used in this product
- A lamp with a maximum of 3W must be used when changing the lamp.
- Remove the aluminum cartridge filter. Remove the faulty lamp and replace it with the one having the same value.
You may procure lamps from Authorised Service Agents.
WARNING: Cut the power supply of the hood. Lamps may burn your hands while hot, so wait for them to cool down.
- If the appliance breaks down or gets damaged, shut down the fuse or unplug the appliance and call the authorised service agent.
- If the supply cable is damaged, it must be replaced by the manufacturer, its service agent or similarly qualified personnel to avoid any danger.
- Shut down the fuse or unplug the appliance in case of breakdown of the lamps of the appliance. Replace immediately the faulty lamps in order to prevent other lamps from being overloaded (wait for the lamps to cool down first).
3.5 Operation with chimney connection
Vapour is extracted through the flue duct, which is fastened to the connection head on the hood.- The diameter of the flue duct must be the same as the connection ring. In horizontal settings, the pipe has to have a slight upward slope (around 10º) so that the air can exit the room easily.
3.6 Operation without chimney connection
Air is filtered through the carbon filter and recirculated in the room. Carbon filter is used when it is impossible to use a flue in the house.- In flueless use, remove the flaps inside the flue adapter.
- Remove the aluminum grease filter. To install the carbon filter, fit the filter to the tabs by centring it on the plastic piece on both sides of the fan body. tighten it by turning right or left.
- Replace aluminum grease filter.
Cleaning and maintenance
The device should be cleaned and maintained regularly. Failure to keep the device clean will adversely affect the service life of the device. For cleaning and maintenance, follow the instructions stated in the manual.
Before cleaning and maintenance, unplug the product or turn off the switch.
Non-compliance with the provisions associated with the cleaning of the device and replacement of the filters may result in a risk of fire. Therefore, it is recommended to follow the guidelines stated here. The manufacturer is not responsible for the engine damages or fires originating from the improper use.
Clean using only a cloth dampened with a neutral liquid detergent. Do not use abrasive products or alcohol.
4.1 Cleaning of the grease filter
This filter retains the oil particles in the air. Grease filter may change colour as they are washed; this is normal and does not require replacing your grease filter.
- Push the grease filter lock forward.
- Then pull it slightly down and pull it out. Oth- erwise, you can bend the filter. Wash and rinse Grease filter with liquid detergent and replace grease filter to their sockets by carrying out the steps specified above in reverse order. This filter retains the oil particles in the air.
You may wash your grease filter in the dishwasher.
CAUTION: In case of normal use, clean your filter once in a month.
4.2 Replacement of Carbon Filters
Odour removing filters contain charcoal (Active carbon). Grease filter must be installed in the product, regardless of whether or not carbon filters are used.
- Remove the grease filter.
- To remove the carbon filter, remove the carbon filter from its housing by rotating it counter-clockwise from the tab.
- Install the new carbon filter.
- Install the grease filter.
CAUTION
- Carbon filter shall never be washed.
- Replace carbon filters once every 3 months.
- You can obtain the carbon filter from the authorized services.
Setting up the device
WARNING: Before starting the installation, read the safety information on user manual.
WARNING: Failure to install with screws and stabilizers in accordance with these instructions may result in electric shock.
For the installation of the hood, please contact the nearest Authorized Service.
It is the customer’s responsibility to prepare the location and electrical installation of the hood.
5.1 Position of the appliance
- Distance between the cooker and the cooker hood must be considered prior to assembly. This distance should be 65 cm.
- Distance must be measured from the surface of grate for gas cookers,
- from surface of glass for electric cookers.
5.2 Installation accessories
- Hood
- Ø 120/150 mm plastic flue
- User manual
- Installation draft
- 3.9 X 22 Rysb mounting screw
- NR-V Flue valve
The information required to make the location suitable for the installation of the hood is given below.
5.3 Installation of the appliance
Use protective gloves and glasses while performing drilling and cutting operations.
Figure 1
5.4 Drilling mounting holes
- Adhere the installation template provided with the appliance onto the surface on which the installation will be carried out.
- Drill the holes indicated on the installation draft with A, B, C, D using a Ø4 mm drill bit. (Figure 1)
Figure 2 - Cut the lower surface of the cabinet where the hood will be installed in the dimensions specified in the technical drawing (Figure 2).
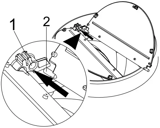
Figure 3
- Flap Pin Socket
- Flap Pin
Insert the plastic pin (Figure 3/area no. 2) on the pin socket on the motor exhaust (Figure 3/area no.1). Then bend the flap lightly to insert the other pin on the flap and insert the other pin to its socket (Figure 3).
Figure 4
- Air discharge pipe
- Air exhaust flue of the hood
If you are to use the Ø 120/150 mm plastic flue adapter, attach one end of the pipe to this adapter; if not, attach the air discharge pipe of the product to the air outlet flue of the extractor hood and tighten it with the help of a clamp (Figure 4).
- As the bends and elbows in the aluminum pipe will cause de- crease in the air suction power, using these must be avoided as much as possible.
- During the installation phase; After the foil is removed, any traces of foil must be wiped off with a damp cloth.
Figure 5
- Kitchen cabinet bottom view
- 4×3,9×32 hood installation screw
• Place the hood into the kitchen cabinet and at- tach the hood to 4 installation holes drilled be- fore (Figure 5).
5.5 Storage
- If you do not intend to use the appliance for a long time, please store it carefully.
- Please make sure that the appliance is unplugged, cooled down and totally dry.
- Store the appliance in a cool and dry place.
- Keep the appliance out of the reach of children
5.6 Handling and transportation
- During handling and transportation, carry the appliance in its original packaging. The packaging of the appliance protects it against physical damages.
- Do not place heavy loads on the appliance or the packaging. The appliance may be damaged.
- Dropping the appliance will render it non-operational or cause permanent damage.
Troubleshooting
| Troubleshooting | Reason | Help |
| The product does not work. | Check your fuse. | Your fuse might be closed, make it work. |
| The product does not work. | Check the electrical connection. | The mains voltage should be between 220-240 V. |
| The product does not work. | Check the electrical connection. | Check if the other products in your kitchen are working or not. |
| The lighting lamp does not work. | Check the electrical connection. | The mains voltage should be between 220-240 V. |
| The lighting lamp does not work. | Check the lamp switch. | The lamp switch should be in the “on” position. |
| The lighting lamp does not work. | Check the lamps. | The lamps of the product should not be faulty. |
| The air intake of the product is poor. | Check the aluminum filter. | The aluminum oil filter should be cleaned at least once a month under normal conditions. |
| The air intake of the product is poor. | Check the air vent flue. | The air vent flue should be in the “on” position. |
| The air intake of the product is poor. | Check the carbon filter. | For products with carbon filters, the filter should normally be changed every 3 months. |

Arçelik A.Ş.
Karaağaç Caddesi No: 2-6, 34445,
Sütlüce, İstanbul, Türkiye
www.beko.com
01M-9203433200-4622-01