Contents
BEGA 50 576.2 Recessed Ceiling Luminaire

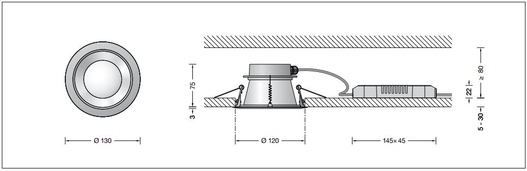
DIMENSION

Instructions for use
Application
Recessed ceiling luminaire · indoor luminaire with symmetrical wide beam light distribution and a remote non-dimmable power supply unit. For installation in suspended ceilings of 5-30 mm in interior applications.
Lamp
- Module connected wattage 10 W
- Luminaire connected wattage 11.8 W
- Rated temperature ta = 25 °C
- Ambient temperature ta max = 45 °C
50 576.2 K3
- Module designation LED-0859/930
- Colour temperature 3000 K
- Colour rendering index CRI > 90
- Module luminous flux 1355 lm
- Luminaire luminous flux 744 lm
- Luminaire luminous efficiency 63,1 lm / W
Product Description
Recessed LED ceiling luminaire with a remote power supply unit Luminaire housing made of cast aluminum Ceiling trim ring finish, Colour velvet black Inside hue aluminium matt Fixing is achieved by using 2 fastening springs Recessed opening ø 120 mm Required installation depth 80 mm Light-diffusing disc External LED power supply unit 220-240 V x 0/50-60 Hz Safety class II 2 r – Safety mark c – Conformity mark Weight: 0.41 kg This product contains light sources of energy efficiency class(es) E
Safety
The installation and operation of this luminaire are subject to national safety regulations. Installation and commissioning may only be carried out by a qualified electrician. The manufacturer accepts no liability for damage caused by improper use or installation. If subsequent modifications are made to the luminaire, the person responsible for these modifications shall be considered the manufacturer.
Overvoltage protection
The electronic components installed in the luminaire are protected against overvoltage in accordance with DIN EN 61547. To achieve additional protection against e. g. transients, etc. we recommend separate overvoltage protection components. You can find them on our website at www.bega.com.
Installation
Luminaire housing and external LED power supply unit must not be covered by any heat-insulating materials. LED are high-quality electronic components! Please avoid touching the light output opening of the LED directly during installation or relamping. Cover the recessed opening with the stop ring of the luminaire housing. The luminaire housing is then fixed in the recessed opening via two springs.
Installation in suspended ceilings: A recessed opening of 120 mm with a minimum depth of 80 mm is required. The minimal thickness of the ceiling panel musbe 5 mm and must not be greater than 25 mm. A ceiling panel with less than 5 mm thickness must be reinforced on the reverse. The electrical connection must be made on-site in the appropriate safety class on the LED power supply unit connecting cable. A distribution box must be used. Ensure the correct assignment of the connecting cable. Establish the mains connection on the brown (L) and blue (N) wires. Guide the LED power supply unit through the opening in the ceiling and position it on the suspended ceiling. Compress the fastening springs of the luminaire housing on both sides and slide the luminaire housing into the recessed opening. The fastening springs lock into place behind the ceiling panel.
Cleaning · Maintenance
Clean luminaire regularly with solvent-free cleansers from dirt.
Replacing the LED module
The designation of the LED module is noted on a label in the luminaire. The light color and light output of BEGA replacement modules correspond to those of the modules originally fitted. The module can be replaced by qualified persons using standard tools. Disconnect the system and open the luminaire. Please follow the installation instructions for the LED module. Close the luminaire.
Spares
- LED power supply unit DEV-0375/350
- LED module 3000 K LED-0859/930
BEGA Gantenbrink-Leuchten KG · Postfach 31 60 · 58689 Menden · [email protected] · www.bega.com