BEGA 24350 Wall Luminaire Instruction Manual

Home » BEGA » BEGA 24350 Wall Luminaire Instruction Manual

BEGA logoTechnical amendments reserved
Wall luminaire
24 350
BEGA 24350 Wall Luminaire - icon
IP 66
BEGA 24350 Wall Luminaire

Instructions for use

Application
Wall luminaire with asymmetrical light distribution for in-depth illumination of surfaces.
The angle of attack of the luminaire is adjustable at 0° or 15° and thus can be aligned to the surface to be illuminated.

Product description

Luminaire made of aluminium alloy, aluminium and stainless steel BEGA Unidure ® coating technology
Safety glass, antireflection-coated Silicone gasket
Reflector made of pure anodised aluminium
Toolless closure
Adjustable joint for beam direction 0° or 15° Mounting plate with 2 fixing holes ø 5.5 mm · 85 mm spacing 2 cable entries for through-wiring of mains supply cable ø 7-10.5 mm, max. 5 G 1.5@
Connecting terminal 2.5@ with plug connection
Earth conductor connection BEGA Ultimate Driver ®  LED power supply unit 220-240 V x 0/50-60 Hz
DC 176-276 V
DALI-controllable
Basic insulation is provided between the mains and control cables
BEGA Thermal Control ® Temporary thermal regulation to protect temperature-sensitive components without switching off the luminaire
Safety class I
Protection class IP 66 Dust-tight and protection against strong water jets
Impact strength IK08
Protection against mechanical
impacts < 5 joule
BEGA 24350 Wall Luminaire - icon  – Safety mark
CE SYMBOL  – Conformity mark
Wind catching area: 0.03 m²
Weight: 4.3 kg
This product contains light sources of energy
efficiency class(es) C

Safety

The installation and operation of this luminaire are subject to national safety regulations.
Installation and commissioning may only be carried out by a qualified electrician.
The manufacturer accepts no liability for  damage caused by improper use or installation. If subsequent modifications are made to the luminaire, the person responsible for these modifications shall be considered the manufacturer.

Overvoltage protection

The electronic components installed in the luminaire are protected against overvoltage in accordance with DIN EN 61547.
To achieve an additional protection against e. g. transients, etc. we recommend separate overvoltage protection components. You can find them on our website at www.bega.com.

Installation

LED are high-quality electronic components!
Please avoid touching the light output opening of the LED directly during installation or relamping.
Undo hexagon socket head screw (wrench size 3 mm) up to the stop and disassemble the mounting plate.
Pass the power connecting cable through the cable entry in the mounting plate. Note position of application of the mounting plate “arrow down”.
Fix the mounting plate with enclosed or any other suitable fixing material onto the mounting surface.
Be sure to use the gasket rings supplied.
Make earth conductor connection and electrical connection to the connecting terminal (plug connection).
For digital control please use the 2-pole plug connector DA, DA.
In case this connector is not used the luminaire will be operated at full light output.
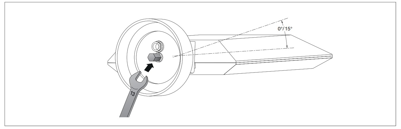
Adjustment of the beam direction:
Joint adjustment is factory-set at 0°.
For adjustment 15° : Undo hexagon nut (wrench size 13) and adjust the joint. Make sure that the tooth system is positioned correctly.
Tighten hexagon nut firmly.
Torque = 16 Nm (see sketch).BEGA 24350 Wall Luminaire - positioned

Make sure that gasket is positioned correctly.
Place luminaire onto the mounting plate as displayed in the sketch align and screw together firmly.BEGA 24350 Wall Luminaire - desiccant

Please note:
Do not remove the desiccant bag from the luminaire housing.
It is needed to remove residual moisture.
Lamp 

Module connected wattage 12.6 W
Luminaire connected wattage 14.6 W
Rated temperature ta = 25 °C
Ambient temperature ta max = 60 °C

24 350 K4 

Module designation LED-0970/840
Colour temperature 4000 K
Colour rendering index CRI > 80
Module luminous flux 2510 lm
Luminaire luminous flux 2063 lm
Luminaire luminous efficiency 141,3 lm / W

24 350 K3 

Module designation LED-0970/830
Colour temperature 3000 K
Colour rendering index CRI > 80
Module luminous flux 2445 lm
Luminaire luminous flux 2010 lm
Luminaire luminous efficiency 137,7 lm / W

Cleaning · Maintenance

Clean luminaire regularly with solvent-free cleansers from dirt and deposits.
Do not use high pressure cleaners.

Replacing the LED module

The designation of the LED module is noted on a label in the luminaire.
The light colour and light output of BEGA replacement modules correspond to those of the modules originally fitted.
The module can be replaced by qualified persons using standard tools.
Disconnect the system and open the luminaire.
Please follow the installation instructions for the LED module.
Inspect and, if necessary, replace the luminaire gaskets.
Defective glass must be replaced. Close the luminaire.

Spares
LED power supply unit : DEV-0312/350
LED module 3000 K: LED-0970/830
LED module 4000 K: LED-0970/840
Reflector : 76 001 409
Gasket housing : 83 001 126
Gasket wall box : 83 001 838

BEGA Gantenbrink-Leuchten KG
· Postfach 31 60 · 58689 Menden
· [email protected]
· www.bega.com

Leave a Comment