Contents
Ballucci Square Cube Floating Shelves

ASSEMBLY INSTRUCTION
The document provides a visual guide on how to assemble a shelving unit. It includes a list of parts and a step-by-step installation process with corresponding illustrations.
Specifications
| Part | Quantity |
|---|---|
| Nails | 2 |
| Anchor | 1 |
Installation Steps
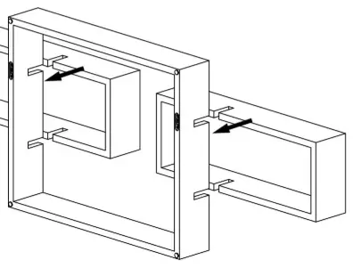
- Preparation:An illustration shows the shelving unit with arrows pointing to the points where the parts intersect, indicating where to connect them. The text states, “Connect the shelf intersecting part.”
- Measuring and Marking:The image depicts a ruler measuring the distance along the wall where the shelf will be placed. It instructs to “Measure the distance with a ruler.” Followed by an image of a level being used on the wall with the instruction, “Mark the place where you want to install the shelf and check with a level.”
- Drilling:A circular illustration shows a drill creating holes in the wall, with the text “Drill the holes” indicating this is the first action step.
- Inserting Expansion Nails:The next circular illustration depicts a hammer inserting expansion nails into the drilled holes, accompanied by the text “Punch the expansion nails,” indicating the second action step.
- Securing with Screws:The third circular illustration shows a screwdriver securing screws into the expansion nails, with the text “Screw in the screws,” which is the third action step.
- Hanging the Shelf:The final circular illustration demonstrates the shelf being mounted onto the secured screws on the wall, with the text “Hang the shelf” as the fourth and final action step.
FAQ
- What tools are required for assembly?
- You will need a ruler, level, drill, hammer, and screwdriver for assembly.
- Can the shelf be installed on any type of wall?
- Ensure your wall type can support the shelf and the use of expansion nails and screws. Some wall types may require specialized hardware.
- How do I ensure the shelf is level?
- Use a level when marking the placement on the wall to ensure that the shelf will be straight.
ASSEMBLY INSTRUCTION
Installation Steps

Connect the shelf intersecting part.
Measure the distance with a ruler.
Mark the place where you want to install the shelf and check with a level.
