Instruction Manual
Wheelchair
Patient Scales 7/23
Rev. V2023.0

Contents
Safety First
- Please call a B-TEK authorized service provider for service or repairs on B-TEK products.
- Only allow authorized personnel to work with electrical components.
- Please ensure you wear proper PPE when working with equipment.
- Ensure proper training is given when working with any equipment.
- Ensure that the area used for this equipment is safe for this equipment.
- Allow only qualified personnel to work on electric/electronic components.
- Do not use this equipment for anything other than its intended use.
- Ensure equipment is plugged into stable power sources.
- Keep equipment away from high voltage, vibration, and high draft areas.
- Keep equipment cords and cables secured and protected.
- Perform periodic inspections to keep equipment in good working order.
- Never apply a load over the capacity of your scale.
- Keep the area around your scale free of debris.
SAFETY WARNING
Always unplug or remove power source if equipment may encounter water such as rain or area flooding.
Never power equipment back up until the area and equipment are 100% confirmed dry and free of any water or moisture.
Introduction
The information provided in this manual is a guide to installing the B-TEK, LLC. Patient series floor scales. This document is intended as a guide only, and the actual installation should be performed by qualified personnel.
All sales of goods are subject to the standard warranty and the standard terms and conditions published by B-TEK, LLC.
Should you have any questions regarding the Patient series floor scales, contact your local BTEK, LLC. scale representative.
- Above-ground or inground models available.
- The B-TEK Patient scales are perfect for applications where weighing patients on or off wheelchairs is done in high volume.
- The low profile above-ground with ramp or inground scales makes weighing easy.
- Available in 36”x36” or 48”x48” sizes with 1000 lb. capacity.
- Structure carbon steel.
- Single-ended shear beam load cell design.
Specifications
| MODEL | Above-ground | Inground | |
| Capacities | 1000 lbs. | 1000 lbs. | |
| Readability | 0.2 lbs. | 0.2 lbs. | |
| Max. Divisions | 5000e | ||
| Weighing Units | lb, kg | ||
| Platform sizes | 36″x36″ and 48″x48″ | ||
| Construction | Carbon Steel | ||
| Load Cell Operating Temperature |
14°F – 104°F / -10°C – + 40°C | ||
| Height | 1.5″ | Flush to floor | |
| Handrail | Included | Included | |
| Floor Mount Ramp | Included | Not Included | |
| Floor Pit Frame | Not Included | Included | |
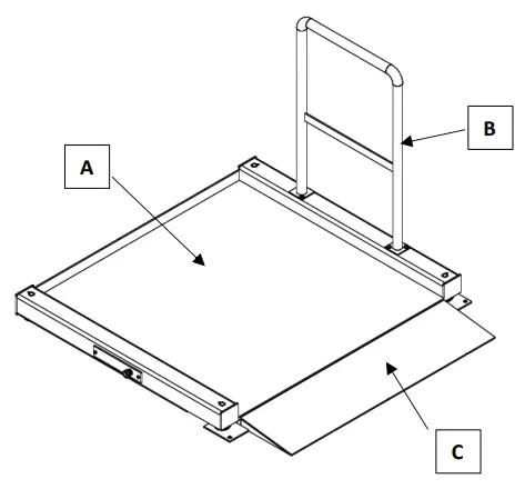
General Component Identification Above-ground

A. Base platform
B. Handrail
C. Ramp
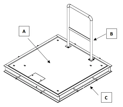
General Component Identification Inground
A. Base Platform
B. Handrail
C. Pit Frame
Installation
Above ground Installation
It is recommended to lag bolt the ramp in place to keep the scale from moving during use. First position the scale and ramp in the location that you intend on using the scale, ensure that the scale is away from general traffic and that the chosen area is protected from water, misc. debris, wind, and or vibration.
Once the location of the scale has been chosen, remove the scale from the ramp taking care not to move the ramp. Using a black Sharpie mark the small bolt holes located on the foot retaining plate shown in the image below.

Once these holes have been marked, remove the ramp and drill lag bolt holes where the black Sharpie marks are located on the floor. Once the holes have been drilled position the ramp back in place and secure it to the floor using lag bolts.
Now that the ramp is secured to the floor the scale base can be placed back into the ramp. Ensure that the load cell feet sit within the foot retaining plate hole as shown in the image below.

Level the scale by adjusting the load cell feet through the access holes using a flathead screwdriver shown in the image below.
The scale is now ready to be connected to the indicator and calibrated. See the indicator termination section for information on connecting the scale to its indicator.
In-ground Installation
The in-ground scale installation will require installation prior to concrete floor installation or the cutting of the existing concrete floor for the scale to be installed. This is the more labor-intensive of the two installations but is also the most desirable installation as the scale is flush with the floor allowing the scale to be walked on/around as if it is part of the floor.
When choosing a location for the in-ground scale it is important to consult with the building engineers to ensure the scale is in a place that will not interfere with existing building wiring, plumbing, etc., and at the same time ensure that the scale is away from general traffic and that the chosen area is protected from water, misc. debris, wind, and or vibration.
Consult with your concrete contractor to perform the pit frame installation. The pit frame should be installed so that the top edge is even with the floor and surrounded by concrete to ensure a solid and sound installation. Note: The pit frame will require conduit to be run from the pit frame to a wall location directly behind the scale to run the interconnect cable from the scale to the indicator. The image below shows the proper installation of the pit frame.

Now that the pit frame has been completed, place the scale base in the pit frame ensuring that there is roughly an equal amount of gap between the pit frame and scale base around its perimeter. Note: Ensure that the interconnect cable is pulled through the conduit at the same time the scale base is being installed to keep the cable from tangling up or having the scale rest on the cable after its installed.
After the scale has been installed take a flathead screwdriver and adjust the scale base feet so that it is level and even with the floor. Note: If the scale is installed and leveled properly, you will be able to walk around the scale with a little sway but without any metallic noise. The image below shows the location of the load cell foot adjustment holes.
That concludes the installation of the Patient pit-style scale. For indicator termination and calibration see the indicator termination section.
Indicator Termination and Calibration
It is the recommendation of B-TEK to have your scale calibrated and tested by a certified scale company. This should not only be done for the installation but periodically throughout the year as well. Having this done not only protects you and your patients but also gives you peace of mind knowing your scale is in good working order and working as it is intended to work.
Termination procedures vary from indicator to indicator. If you are using a B-TEK indicator or indicator from another manufacturer, with your scale, please refer to the technical manual for the termination of the indicator itself. Use the scale base termination diagram below for terminating your indicator.

Replacement Parts
| Part Number | Description | Scale |
| 813-100092 | Load Cell | Both |
| 864-000008 | J-Box with Summing Board | Both |
| 911-000032 | Load Cell Foot | Both |
| 200-84690 | Handrail Assy. | Both |
| 913-1224 | Replacement Ramp | Above Ground 48”x48” |
| 913-1223 | Replacement Ramp | Above Ground 36”x36” |
| 861-000004 | Interconnect Cable | Both |
B-TEK Scales, LLC
1510 Metric Ave. S.W.
Canton, OH 44706
Tel: 330.471.8900
Fax: 330.471.8909
B-TEK.com