Contents
artika FM-BLC-HD2GB Bloom LED Vanity Light

Product Information
The LED Vanity Light – BloomTM is a wall-mounted light fixture designed for indoor use. It features a sleek design with a glass diffuser and is compatible with LED dimmers. The product comes with a mounting bracket, junction box screw, wire connector, canopy screw, and a screwdriver. It is important to read and understand the instruction manual before installing and using the product.
Product Usage Instructions
-
- Warning: To avoid the risk of electrical shock, turn off the breaker at the panel before installation.
- Caution: Do not use the LED Vanity Light – BloomTM outdoors.
- Important: If using a dimmer, ensure that it is compatible with LED lights.
- Important: The installer and/or user must read, understand, and follow the instructions provided in the manual. Improper installation or failure to follow instructions may void the warranty and result in product malfunction.
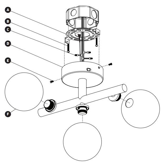
- Mounting Bracket Installation:
- Attach the mounting bracket (A) to the desired location on the wall using the provided screws (B).
- Ensure that the mounting bracket is securely fixed to the wall.
- Connecting the Wires and Installation of the Canopy:
- Connect the wires from the junction box to the wire connector (C) on the LED Vanity Light – BloomTM.
- Tighten the wire connector securely.
- Attach the canopy (D) to the mounting bracket using the provided screws (E).
- Installation of the Glass Diffusers:
Peel off the protective layer from the glass diffusers (F) and carefully attach them to the LED Vanity Light – BloomTM.
- Light Colors Adjustment:
The LED Vanity Light – BloomTM does not have adjustable light colors.
- To Order Replacement Parts:
Please contact customer service to order replacement parts. This service is available only in the USA and Canada.
- USA (FCC) Warning:
Changes or modifications to this unit not expressly approved by the party responsible for compliance could void the user’s authority to operate the equipment. This device complies with Part 15 of the FCC Rules.
- Warranty Information:
The warranty is valid only on products installed in accordance with the building code and laws effective in the region where the unit is being used. It does not cover products installed incorrectly or subjected to abnormal use. Handling, labor, transportation, or any other costs associated with installation or replacement are not covered by the warranty. The warranty is valid in the country of purchase and by Artika-authorized retailers only. Artika for Living Inc. will not be held responsible for any direct or consequential damages or injuries related to the improper use or installation of this product.
IMPORTANT: READ CAREFULLY AND KEEP.
INCLUDED HARDWARE
WHAT YOU WILL NEED
Screwdriver
STEP-BY-STEP INSTALLATION
CAUTION
WARNING: Risk of electrical shock. Turn off the breaker at the panel.
- Switch off the main electrical supply from the fuse box/circuit breaker before installing the unit or doing any maintenance.
- Do not use outdoors.
CAUTION
- If using a dimmer, it must be LED-compatible.
IMPORTANT
- The installer and/or user must read, understand and follow these instructions before installing the product. This product must be properly installed before it is used.
- If instructions are not followed, the manufacturer will not be held responsible for any problems or product malfunction. Failure to follow installation and/or operating instructions voids the warranty.
- We recommend that this product be installed by a certified electrician.
- In some states or provinces, it is a legal requirement for this type of product to be installed by a certified electrician, according to the electrical and building codes effective in the region where the unit is used.
MOUNTING BRACKET INSTALLATION
CONNECTING THE WIRES AND INSTALLATION OF THE CANOPY
INSTALLATION OF THE GLASS DIFFUSERS
LIGHT COLORS ADJUSTMENT
REPLACEMENT PARTS
| ITEM | DESCRIPTION DESCRIPTION | ARTIKEL |
![]() |
Glass diffuser Diffuseur de verre Difusor de vidrio | VAN-BL/GB |
- TO ORDER REPLACEMENT PARTS, PLEASE CONTACT CUSTOMER SERVICE.
- (Service available only in the USA and Canada).
FCC
WARNING:
Changes or modifications to this unit not expressly approved by the party responsible for compliance could void the user’s authority to operate the equipment.
This device complies with Part 15 of the FCC Rules. Operation is subject to the following two conditions:
- this device does not cause harmful interference, and
- this device must accept any interference received, including interference that may cause undesired operation.
NOTE: This equipment has been tested and found to comply with the limits for Class B digital devices, pursuant to part 15 of the FCC Rules. These limits are designed to provide reasonable protection against harmful interference in a residential installation. This equipment generates, uses, and can radiate radio frequency energy and, if not installed and used in accordance with the instructions, may cause harmful interference to radio or television reception. However, there is no guarantee that interference will not occur in a particular installation. If this equipment causes harmful interference to radio or television reception, which can be determined by turning the equipment off and on, the user is encouraged to try to correct the interference by one or more of the following measures:
- Reorient or relocate the receiving antenna.
- Increase the separation between the equipment and the receiver.
- Connect the equipment to an outlet on a circuit different from that to which the receiver is connected.
- Consult the dealer or an experienced radio/TV technician for help.
WARRANTY
- Artika For Living Inc. is proud to offer you a five-year (5) limited warranty on manufacturing defects from the date of purchase for residential use only. The warranty is extended to the original owner in the USA, Canada, Mexico, UK, Iceland, France, and Spain and is non-transferable. It does not apply to retailers, commercial applications, or establishments. The original sales receipt is required for all warranty claims. The remedy under this limited warranty shall be a product or part replacement at Artika’s discretion as provided herein and cannot exceed the original purchase price.
- This warranty is valid only on products installed in accordance with the building code and laws effective in the region where the unit is being used, as well as in accordance with the provided instruction manual. It does not cover products installed incorrectly or subjected to abnormal use. Product(s) or component part(s) may be required to be returned for inspection and verification.
- Normal wear and tear, misuse, negligence, vandalism, improper maintenance (surface damage due to chemical interaction or cleaning agents including, but not limited to, scouring pads, use of cleaners containing abrasives, alcohol, or other organic solvents) improper handling, accident, abuse, fire, flood, theft, acts of God, neglect, or alteration of the product will not be covered under this limited warranty. It excludes any accessories that accompany the product including, but not limited, to bulbs or batteries.
- The warranty does not cover handling, labor, transportation, or any other cost associated with the installation or replacement of the product. This limited warranty is valid in the country of purchase and by Artika-authorized retailers only.
- Artika for Living Inc. will not be held responsible for any direct or consequential damages or injuries related to the use of this product arising from improper use or installation of this product.
- Please visit www.artika.com to discover more about Artika for Living Inc.
- Artika For Living Inc. 1756, 50th Avenue Montréal (Lachine), Québec Canada H8T 2V5 1-866-661-9606 [email protected] www.artika.com
- Customer Service Monday to Friday 9 am – 5 pm EST

