Armen Living SETMUBDGRKG4A Marquis Series 4 Piece Bedroom Set Instruction Manual

Home » Armen Living » Armen Living SETMUBDGRKG4A Marquis Series 4 Piece Bedroom Set Instruction Manual

Armen Living SETMUBDGRKG4A Marquis Series 4 Piece Bedroom Set

Package Contents and tools

A: Headboard x 1 B: Footboard x 1 C: Side Panel x 2
D: Middle bar x 2 E: Slats x 16 F: Leg x 2
G: Support Leg x 4  
H: Bolt / M6*20 x 18 L: Bolt M6*35             x 4 P: Threaded Rod M8*70 x 2
I: Flat Washer / Ø19  x 24 M: Nuts M8               x 4 Q: Screw M4*30 x 8
J: Lock Washer / Ø12 x 24 N: Washer Semicircle x 4 R: Wrench x 1
K: Allen wrench x 1 O: Bolt M8*90            x 2

Assembly Instructions

  • Step 1 : Turn the Footboard (B) over and place it on the ground where the exterior finish will not be scratched.
    Align the screw holes on the Footboard(B) with the screw holes of Legs (F).
    Insert flat washers (I) lock washer (J) and bolt (H) into each hole.
    Once the screws are in place, tighten the screw until firmly attached with the allen-wrench (K) provided.
  • Step 2: Insert Threaded Rod(P) into the middle hole of footboard(B), tighten the screw until firmly attached.
  • Step 3 : Align the screw holes on the Side panel(C) with the screw holes of Headboard(A) and Footboard(B).
    Insert flat washers (I) lock washer (J) and bolt (H) into each hole.
    Once the screws are in place, tighten the screw until firmly attached with the allen-wrench (K) provided.
  • Step 4: Under footboard(B), insert flat washers (I) lock washer (J) and bolt (H) into each hole and tighten the screw until firmly attached with the allen-wrench(K) provided.
  • Step 5 : Under position connect Footboard(B) with Side Panel(C). Insert Semicircle Washer(N), Flat Washer(I), Lock Washer(J), Nut(M) with Threaded Rod(P). Tighten the screw until firmly attached with the wrench(R) provided.
  • Step 6 : Under position connect Headboard(A) with Side Panel(C). Insert Semicircle Washer(N), Flat Washer(I), Lock Washer(J), Nut(M) with Flat Washer(I), Lock Washer(J) and Bolt(O). Tighten the screw until firmly attached with the allen-wrench(K) provided.
  • Step 7 : Align and fix the connect bracket of Middle Bar(D) with connect bracket on Headboard(A) and Footboard(B) follow direction arrow.
    Align the screw holes on the Support Leg(G) with the screw holes of Middle Bar(D). Insert bolt(L) into each hole and tighten the screw until firmly attached with the allen-wrench(K) provided
  • Step 8 : Put on slats into the frame. Insert the screws (Q) into each hole.
    Once the screws are in place, tighten the screw until firmly attached with the screwdriver.

Product Assembly Instructions LCMUDRGR

Product Assembly Instructions LCMUDRGR

  • Step 1 : Turn the chest over (A) and place it on the ground where the exterior finish will not be scratched.
    Align the screw holes of the legs (B) with the screw holes of the cross bar. Insert bolt (G) into each hole,
    Once the screws are in place, tighten the screw until firmly attached with the allen-wrench (F) provided.
  • Step 2 :
    Align the screw holes of the legs (B) with the screw holes of the bottom Chest(A).
    Insert flat washers (D) lock washer (E) and bolt (C) into each hole,
    Once the screws are in place, tighten the screw until firmly attached with the allen-wrench (F) provided.
  • Step 3: Align the screw holes of handle with holes on face of drawer, insert bolt arein place, tighten the screw until firmly attached with the screwdriver.
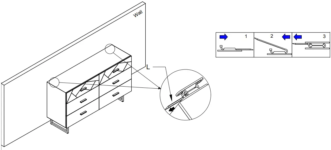
  • Step 3 : Making drill holes on the wall and insert plastic anchor (H) at this hole.
    Fixing anti – flip A (K) by 2 screw M4*40 (J) with screwdriver.
    Once the screws are in place,tighten the screw until firmly attached.
    Fixing anti – flip A (K) on back chest (A) by 2 screw M4*20 (I) with screwdriver.

    Product Assembly Instructions LCMUDRGR

  • Step 4 : Align the anti – flip A (K) on the wall with the anti – flip A (K) on the chest Use the anti – flip B (L) through 2 anti – flip A to fix.
    Product Assembly Instructions LCMUDRGR
    Product Assembly Instructions LCMUDRGRProduct Assembly Instructions LCMUDRGR

Product Assembly Instructions LCMULAGR

Product Assembly Instructions LCMULAGR

  • Step 1: Turn the chest over (A) and place it on the ground where the exterior finish will not be scratched.
    Align the screw holes of the legs (B) with the screw holes of bottom Chest (A).
    Insert flat washers (E) lock washer (F) and bolt (D) into each hole,
    Once the screws are in place, tighten the screw until firmly attached with the allen-wrench (G) provided.
    Product Assembly Instructions LCMULAGR
  • Step 2: Align the screw holes of the legs (B) with the screw holes of Shelf (C).
    Insert flat washers (E) lock washer (F) and bolt (D) into each hole,
    Once the screws are in place, tighten the screw until firmly attached with the allen-wrench (G) provided.
    Product Assembly Instructions LCMULAGR
  • Step 3: Align the screw holes of handle with holes on face of drawer, insert bolt are in place, tighten the screw until firmly attached with the screwdriver.
    Product Assembly Instructions LCMULAGR

Armen Living

Leave a Comment