Contents
Aquagarden 1054256 Inpond 5-in-1 Water Pump

FOR INDOOR AND OUTDOOR USE IMPORTANT SAFETY INSTRUCTIONS
WARNING – TO REDUCE THE RISK OF ELECTRIC SHOCK, USE ONLY ON PORTABLE SELF-CONTAINED FOUNTAINS NO LARGER THAN 5 FEET IN ANY DIMENSION.
WARNING – RISK OF ELECTRIC SHOCK – THIS PUMP IS SUPPLIED WITH A
GROUNDING CONDUCTOR AND GROUNDING TYPE ATTACHMENT PLUG. TO REDUCE THE RISK OF ELECTRIC SHOCK, BE CERTAIN THAT IT IS CONNECTED ONLY TO PROPERLY GROUNDED, GROUNDING-TYPE RECEPTACLE.
WARNING – TO REDUCE THE RISK OF ELECTRIC SHOCK, INSTALL ONLY ON A CIRCUIT PROTECTED BY A GROUND-FAULT CIRCUIT-INTERRUPTER (GFCI).
GROUNDING INSTRUCTION
WARNING – RISK OF ELECTRIC SHOCK – THIS PUMP IS SUPPLIED WITH A GROUNDING CONDUCTOR AND GROUNDING-TYPE ATTACHMENT PLUG. TO REDUCE THE RISK OF ELECTRIC SHOCK, BE CERTAIN THAT IT IS CONNECTED ONLY TO A PROPERLY GROUNDED, GROUNDING-TYPE RECEPTACLE.
WARNING – TO GUARD AGAINST INJURY, BASIC SAFETY PRECAUTIONS SHOULD BE OBSERVED, INCLUDING THE FOLLOWING:
- READ AND FOLLOW ALL SAFETY INSTRUCTIONS.
- DANGER – TO AVOID POSSIBLE ELECTRIC SHOCK, SPECIAL CARE SHOULD BE TAKEN
SINCE WATER IS EMPLOYED AND INTENDED FOR FOUNTAINS, WATERFALLS, AND PONDS, WHICH ARE COMPLETELY SUBMERSED FOR PUMPING WATER AND ARE SUITABLE FOR OUTDOOR USE. FOR EACH OF THE FOLLOWING SITUATIONS, DO NOT ATTEMPT REPAIRS BY YOURSELF; RETURN THE APPLIANCE TO AN AUTHORIZED SERVICE FACILITY FOR SERVICE OR DISCARD THE APPLIANCE. IF THE APPLIANCE SHOWS ANY SIGN OF ABNORMAL WATER LEAKAGE, IMMEDIATELY UNPLUG IT FROM THE POWER SOURCE. DO NOT OPERATE ANY APPLIANCE IF IT HAS DAMAGED CORD OR PLUG, OR IF IT IS MALFUNCTIONING OR HAS BEEN DROPPED OR DAMAGED IN ANY MANNER. - CLOSE SUPERVISION IS NECESSARY WHEN ANY APPLIANCE IS USED BY OR NEAR CHILDREN.
- TO AVOID INJURY, DO NOT CONTACT MOVING PARTS DIRECTLY.
- CAREFULLY EXAMINE THE PUMP AFTER INSTALLATION, IT SHOULD NOT BE ENERGIZED IF THERE IS WATER ON PARTS NOT INTENDED TO BE WET.
- ALWAYS UNPLUG AN APPLIANCE FROM AN OUTLET WHEN NOT IN USE, BEFORE PUTTING ON OR TAKING OFF PARTS, AND BEFORE CLEANING. NEVER YANK CORD TO PULL PLUG FROM OUTLET. GRASP THE PLUG AND PULL TO DISCONNECT.
- DO NOT USE AN APPLIANCE FOR OTHER THAN INTENDED USE.
- READ AND OBSERVE ALL THE IMPORTANT NOTICES ON THE APPLIANCE.
- DO NOT PUMP FLAMMABILITY OR HEATED LIQUIDS.
- DO NOT RUN DRY.
- DO NOT CONNECT TO ANY VOLTAGE OTHER THAN SHOWN ON THE PUMP.
- ENSURE THAT THE POWER SUPPLY CORD LOOPS BELOW THE ELECTRICAL OUTLET TO FORM A “DRIP LOOP”. THIS WILL PREVENT WATER FROM RUNNING DOWN THE CORD INTO THE ELECTRIC OUTLET.|
SAVE THESE INSTRUCTIONS
GETTING TO KNOW YOUR INPOND 600/900

| No. | Part Description | Spare Code |
| 1. | Locking Handle | N/A |
| 2. | Filter Lid | N/A |
| 3. | Coarse Foam | 1054287 |
| 4. | Medium Foam | 1054287 |
| 5. | Polymer Wool Cartridge | N/A |
| 6. | Polymer Wool Pad | 1054287 |
| 7. | UVC Viewing Window | N/A |
| 8. | UVC Contact Chamber Screws | N/A |
| 9. | UVC Contact Chamber | N/A |
| 10. | UVC Magnet | N/A |
| 11. | Ceramic Media | N/A |
| 12. | IPX7 Starter UVC | N/A |
| 13. | UVC Mains Cable | N/A |
| 14. | Filter Body | N/A |
| 15. | UVC Electronics & Cap | N/A |
| 16. | UVC O ring | N/A |
| 17. | UVC Body | N/A |
| 18. | UVC Quartz Sleeve Yellow Lock Cap | N/A |
| 19. | UVC Quartz sleeve O ring | N/A |
| 20. | UVC Quartz Sleeve Holder | N/A |
| 21. | PL 9w UVC Lamp | N/A |
| 22. | Lamp Rubber Holder | N/A |
| 23. | 9w Quartz Sleeve | N/A |
| 24. | 1½” Connecting Pipe | N/A |
| 25. | Pump Locking Nut | N/A |
| 26. | 1½” Impellor Cover | N/A |
| 27. | Pump O ring | N/A |
| 28. | In pond 600 Impellor Complete | 1051996 |
| In pond 900 Impellor Complete | 1058917 | |
| 29. | In pond 600 Pump motor unit | N/A |
| In pond 900 Pump motor unit | N/A | |
| 30. | In pond 600 Low Voltage Transformer | N/A |
| 31. | Pump Cable Low Voltage | N/A |
| 32. | Light Level Sensor – Photo Sensor | N/A |
| 33. | Optional Sensor Cover | N/A |
| 34. | Automatic LED Spot Light Body | N/A |
| 35. | Automatic LED Spot Light O ring | N/A |
| No. | Part Description | Spare Code |
| 36. | LED Lamp 0.76w | 1051330 |
| 37. | LED Lamp cover clear | N/A |
| 38. | LED Lamp Screw Cap | N/A |
| 39. | 18.75mm (¾”) Hose Fitting | N/A |
| 40. | 25mm (1″) Hose Fitting | N/A |
| 41. | 12.5mm (½”) Hose Fitting | N/A |
| 42. | Inpond 6000 T-piece | N/A |
| Inpond 9000 T-piece | N/A | |
| 43. | T-piece Connector | N/A |
| 44. | Ball Joint | N/A |
| 45. | Ball Joint O ring | N/A |
| 46. | Extension Pipe Connector | N/A |
| 47. | 30cm Telescopic Extension pipe | N/A |
| 48. | 20cm Extension pipe | N/A |
| 49. | Jet Housing | N/A |
| 50. | Bell Jet | N/A |
| 51. | Tulip Jet | N/A |
| 52. | Daisy jet | N/A |
| 53. | Triple Jet | N/A |
| 54. | Jet Housing | N/A |
| 55. | Fountain adapter | N/A |
| 56. | Complete Ball Joint | N/A |
Pump performance/flow chart
| Lift | Flow Rates | |
| 5’ | 37gal/hr | 106gal/hr |
| 4’ | 106gal/hr | 238gal/hr |
| 3’ | 181gal/hr | 291gal/hr |
| 2’ | 242gal/hr | 343gal/hr |
| 1’ | 299gal/hr | 372gal/hr |
| 0’ | 369gal/hr | 820gal/hr |
| Flow is given at optimum rate | 600 | 900 |
Tech Specification:
| Pump | 600 | 900 |
| Max Flow | 369
gal/hr |
820
gal/hr |
| Max Head | 5’3” | 6’6” |
| Mains Cable | 16’ | 16’ |
| Watts | 24w | 50w |
| LED | 600 | 900 |
| Photo sensor activated | 0.76w | 0.76w |
| UVC | 600 | 900 |
| Lamp | 9w | 9w |
| Cable | 16’ | 16’ |
| Voltage | 120v | 120v |
| Hertz | 60Hz | 60Hz |
| Safety Rating | ETL | ETL |
| Wattage | 12w | 12w |
Specification chart
|
Filter Model |
Max pond size with Goldfish (over 2’6” average depth) |
Shallow goldfish pond (under 2’6” average depth) |
Pond with Koi (over 2’6” average depth) |
Shallow pond with Koi (under 2’6” average depth) |
W
UVC Model watts |
O
Recommended Hose Size |
| Outlet | ||||||
| 600 | 600 Gallons | 450 Gallons | 300 Gallons | 225 Gallons | 9W | 1” |
| 900 | 900 Gallons | 675 Gallons | 506 Gallons | 379 Gallons | 9W | 1” |
INSTALLATION
ELECTRICAL SAFETY INFORMATION:
Caution: Household indoor and outdoor use.
WARNING – Risk of Electric Shock. Mount the unit at a height greater than 1 foot enclosure that is weatherproof with the attachment plug cop inserted or removed. The power supply must meet the specification of the product.
In pond Pump
The electric cord is permanently connected and sealed in the motor body. F the supply cord is damaged the pump must not be used. Do not use the supply cord to lit the pump as this may cause damage.
WARNING – All Inpond models must be used with an GFCI. To reduce the risk of electric shock, connect only to a properly grounded, grounding-type receptacle. To reduce the risk of electric shock, install only on a circuit protected by a ground fault circuit interrupter (GFCI). Do not remove the grounding pin from the power cord plug. This pump has been evaluated for use with fresh water only. Attention has been drawn to the fact that special rules may exist concerning the installation of your inpond. These pumps must not be used in swimming pools, or areas where people are in contact with the water. Always disconnect the power source whilst the equipment is being installed, repaired, maintained or handled.
WARNING – The Inpond pump is provided with a thermal cut out that temporarily switches off the pump in case of overheating and the pump prolonged periods as this may cause irreparable damage. WARNING – Risk of electric shock – This inpond has not been investigated for use in swimming pools or marine areas.
GROUNDING INSTRUCTIONS – This appliance must be grounded. In the event of a malfunction or breakdown, grounding will reduce the risk of electric shock by providing a path of least resistance for electric current. The appliance is equipped with a cord having an appliance grounding conducor and a grounding plug. The plug must be plugged into an appropriate outlet that is installed and grounded in accordance with all local codes and ordinances.
WARNING – Improper connection of the appliance grounding conductor can result in a risk of electric shock. Check with a qualified electrician or service representative if you are in doubt whether the appliance is properly grounded. Do not modify the plug provided with the appliance: if it will not fit the outlet; have a proper outlet installed by a qualified technician.
UVC INSTALLATION
Warning
- Always turn off the power before any maintenance to the UVC section
- Always view the UVC lamp through the viewing window on the UVC Chamber
- Direct exposure to UVC light can damage your eyes and skin.
Caution – Inpond UVC has been fitted with a magnetic safety switch.
- Do not remove the unit with power turned on
- Do not place near strong magnetic fields. This product conforms with the applicable provisions of The Code of Federal Regulations CFR) requirements including, Title 21, Chapter 1, Subchapter J, Radiological Health.
UVC Lamps & quartz sleeve maintenance
The UVC lamp must be replaced every six months / once a season. It is recommended that the lamp is replaced in the spring.
The Quartz sleeve can become coated in limescale build up in hard water areas. This should be carefully removed from the quartz sleeve and cleaned with a soft cloth. A wet test must be carried out after maintenance to ensure there are no leaks before the UVC is reconnected. pond/water feature.
Wet testing of the UVC
IMPORTANT – A wet test of the UVC under operating conditions must be carried out before the UVC or electrical supply is installed. Connect the UVC to the Inpond following all installation instructions. After running for 24 hours check for leaks.
Testing/replacing the UVC lamp.
IMPORTANT – Ensure that the mains supply is switched off and the power is isolated before removing the UVC cover. See Page 8 for illustration

- Unlock the green UVC electronics cap.
- Inspect the UVC cap and Quartz sleeve for water leaks.
- Then unlock the yellow quartz sleeve end cap and unplug the lamp to replace if desired
- If there are no signs of leakage reverse the procedure ensuring that the quartz sleeve O-ring is in place. See the alignment diagram.
- Ensure the yellow quartz sleeve cap and the green UVC electronics cap are firmly secured by making sure the two looked positions are in direct line of each other. See diagram on page 9, section 5.
- The unit is protected by a magnetic safety switch that prevents the UVC light from illuminating when the cover is removed even if the power is on.
- In order to check that the UVC lamp is operating see page 8 on how to view your UVC lamp.
If there has been any damage to the unit please return to the point of purchase for inspection.
Danger – Ultra violet Radiation. Do not expose eyes to lamp rays. Disconnect power before servicing or replacing the lamp.
READ THE INSTRUCTIONS
Electrical installation – UVC
Warning
- To reduce the risk of electric shock, connect only to a grounded grounding-type receptacle.
- To reduce the risk of electric shock, install only a circuit protected by a ground fault circuit interrupter (GFCI) Attention has been drawn to the fact that special rules may exist concerning the installation of your Inpond UVC.
- This UVC must not be used in swimming pools, or areas where people are in contact with the water.
- Always disconnect the mains electricity supply whilst the equipment is being installed, repaired, maintained or handled.
WARNING: Electrical Safety are harmful to eyes and skin.
- Always turn off UVC electrical supply before any maintenance.
- To protect the UVC starter; never immerse in water. Locate the UVC starter (Inpond 600/900 part 12) 3’2″ minimum from pond edge.
INSTALLATION
Locating your Inpond
The Inpond pump and filter should be located on a firm and level base in the pond/water feature at a depth of at least 4*, but no more than 4’9″ for the 600/900 model.
Fountain
- Place product in desired location.
- Using the telescopic pipe adjust so the fountain head is above the surface of the pond.
- Fountain height can now be adjusted, see ‘Adjusting flow control’ diagram below. See “Getting to know your Inpond” for parts and descriptions.
Bell Fountain
Adjust bell by moving head higher for small bell and lower for a wider bell shape.

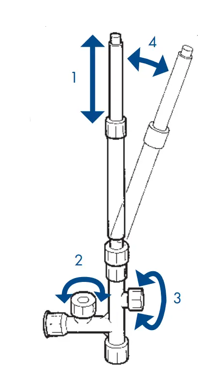
In pond 600/900

Adjusting Dual Control T Piece and telescopic riser pipe
- Adjust height by unlocking collar then pushing or pulling 30cm telescopic riser pipe. Optional additional 20cm extensions can be added to increase the height.
- Outlet Flow Control Valve
Supply water features, waterfalls and filters by adding 1″ 3/4″ 1/2″ fittings and hose. Adjust flow by turning flow control valve. - Fountain Flow Control Valve
Adjust fountain jet flow by turning flow control valve. - Fountain Ball Joint
Adjust the collar of the ball joint to enable the extensions to be moved compensating for an uneven pond floor.
Tip: Ensure that any fountain or feature fitted does not empty water out of pond/water feature.
Convenient Installation
Inpond 600

Inpond 900

Inpond 600
INPOND 5 in 1 FILTER RUNS A FOUNTAIN, FEATURE AND LED SPOTLIGHT

Inpond 900
INPOND 6 in 1 FILTER RUNS WATERFALLS/FEATURES AND/OR A FOUNTAIN AND LED SPOTLIGHT 
Waterfall Installation
Important
The outlet hose should be smooth bore (not corrugated) pipe installed over as short a distance as possible with no kinks or bends.
Connecting Outlet Hoses

Recommended hose size: 1”
Always secure with a Jubilee clip. Warming the hose in a bucket of boiling water can aid fitting.
Use the shortest possible hose lengths to minimize flow restrictions. Avoid folds and kinks in the hose, which will reduce flow and filter performance.
Installing the waterfall or feature
600/900

MAINTENANCE & CLEANING
IMPORTANT – Failure to carry out routine maintenance leaving the pump under reduced or no flow conditions for long periods will result in a shorter pump life and will invalidate the guarantee.
The Pennington Inpond pump is centrifugal with a magnetic impellor movement driven by a watertight synchronous motor. They require minimum cleaning, only periodic cleaning of the impellor is necessary.
Routine Maintenance
- Switch off electricity
- Remove Inpond from the pond using the carry handle (do not use the cables to lift the Inpond)
How it works – Flow detail

Opening and locking filter handle
Easy lift integrated locking handle
- Handle in the locked position

- Handle is in the central position. This will enable the filter and pump to be carried in and out of the pond. *Ensure the filter is not carried by the pump cable.
- Close the handle down to open the position

- The handle is in the unlocked position allowing the filter media to be removed and cleaned.
Foams may be cleaned vigorously in a bucket of pond water.
Ceramic biomedia
These will only need very occasional cleaning (once per year), but must be rinsed in pond water to prevent damaging the beneficial bacteria which help maintain a healthy pond.
Polymer wool cartridge
The polymer wool pad may be washed a limited number of times before it starts to lose efficiency and block rapidly.
Replacement packs of polymer wool are available from your retailer and are quick and easy to replace.
See page 15 On how to remove the cartridge easily from the Inpond.

Removing led Lamp
Replacing or removing the lamp can be easily done by unscrewing the lamp screw cap, then the clear cover can come apart. Allowing the LED lamp to be disconnected. See getting to know your Inpond for part descriptions.

IMPORTANT – Ensure that the mains supply is switched off and the power isolated before removing the lamp cover.
LED Automatic Photo Sensor – detects when light levels are low/dusk

The LED automatic sensor is positioned on top of the motor body between the outlet and the lamp. Ensure this is kept clean from dirt and algae as it needs sufficient light to activate correctly. This extremely efficient lamp uses less than 1 watt of electricity which automatically turns on at dusk and off at dawn.
Annual maintenance of the filter
Check for wear. Once a year you should dismantle your Inpond. Dismantle the filter examining all the parts for wear or damage, replacing any parts showing obvious signs of wear and/or damage (see getting to know your filter for replacement codes and parts descriptions on pages 2, 3, 4 & 5)
Annual maintenance of the pump
Check for wear. Once a year you should service your pump. Dismantle pump and examine all parts for wear or damage, replacing any parts that show obvious wear and/or damage (see getting to know your Inpond for parts/description and replacement codes). Particular care should be taken to examine the cable entry points.
Annual maintenance of the UVC
Check for wear. Once a year you should dismantle your Inpond UVC section. Ensure you have disconnected the mains supply before carrying out any maintenance or cleaning. Dismantle the UVC containing all the parts for wear and damage, replacing any parts that show obvious signs of wear and damage (see getting to know your Inpond for parts/ description and replacement codes).
Winter Storage
The Inpond can be run in the pond during the winter but care should be taken to ensure that it is fully immersed and cannot freeze solid. If the Inpond is not used during the winter follow the annual maintenance procedure and store frost-free in the house or garage until spring.
TROUBLESHOOTING
Inpond Filter
Cloudy/brown water
- The flow rate / pond turnover is to high or to low. Check that you have correctly calculated the pond volume and that pump flow rate is within limits.
- The filter is not being supplied with water 24 hours a day. Do not turn off your Inpond. Continuous running is needed to maintain a clean and healthy pond.
- The filter foam pads are insufficiently blocked to trap the fine waste.
- The water is extremely dirty, remove pond waste and leaves – carry out a partial water change.
- Filter is incorrectly sized – refer to filter performance and specification chart.
- The filter foams have not been positioned or replaced correctly, ensure that the foams fit tightly within the filter chamber.
UVC leaks
- Check that the UVC O-ring has been correctly assembled.
- Check that the UVC cap is correctly locked with the yellow quartz sleeve section.
Arrows on both caps should be correctly aligned when fitted. See page 8 on how to correctly install and remove UVC section.
Inpond Pump
Problem
Low flow from pump
- Follow routine cleaning procedure if no improvement.
- Follow monthly cleaning procedure.
- Ensure pipe work is not blocked, leaking or is laid so that it gets crushed or kinked.
- Keep the height that water is to be pumped from the water surface (called Head) to a minimum. The higher the head the lower the flow rate and the more wear on the pump.
- Use the largest diameter, smoothest bore pond hose over the shortest distance and keep hose fittings to a minimum. This removes frictional loss of flow and so increases pump flow rates.
Poor Fountain performance
- Reduced height.
- Jets blocked.
Clean flow adjusters and fountain head. Wash under a tap or hose. Pond Pump Cleaner should be used to remove lime scale build-up/waste (see diagram) for improved results.
No flow from pump
- Check power supply is on.
- Check fuse and wiring (SEE ELECTRICAL INSTALLATION).
- Follow low flow procedure as above.
If none of the above works contact Pennington customer marketing Department (See Faults problem procedure Page 20).
DAISY

To clean, remove head and rinse.
Or in hard water areas, use Pond Pump Cleaner
Green water
- Settlement test the water to ensure that there is no sediment suspended in the water. If there is, follow the brown cloudy water troubleshooting guide.
- In order to check that the UVC lamp is operating: Open the filter unit (see page 15) remove the filter foams and cartridge. Positioned on top of the yellow UVC contact chamber will be a round viewing window where you should see a faint blue light. This operation may need to be carried out at dusk as UVC lamps emit a dim blue light under normal operation. Turning the lamp on and off may aid visual identification. (Ensure the UVC lamp is not more than 6 months old).
- The UVC may be working effectively but the filter foam/media is too clean and is unable to remove the fine coagulated waste.
- The filter is too small for the pond, check your filter selection chart.
- The UVC quartz sleeve is dirty or coated in lime scale. Gently remove the quartz sleeve and clean.
- Follow all cloudy water trouble shooting points.
UVC light not illuminated
- Check all fuses / RCD and electrical connections follow electrical installation.
Faults – Problem Procedure
Before returning your Inpond to your dealer or contacting our Consumer Advice Department, please carry out the following steps. This will solve most problems quickly and easily.
- Ensure electrical procedures have been followed fully. Check fuses and any cable connectors/switch boxes.
- 2. (a) Follow routine maintenance procedure fully.
- (b) Check location and connecting your pump details including flow rates.
- (c) Ensure that your pond volume and pump flow rate meet the maximum pond size recommended for the filter model on the filter performance and specification chart.
- (d) Follow troubleshooting guide.
- If there is a mechanical breakdown of the filter or UVC, return to the point of purchase for inspection and advice (You will need proof of purchase).
Guarantee
UV & FILTER
This product is guaranteed against defects in material and workmanship for 2 years from the date of purchase, under normal usage. The guarantee DOES NOT APPLY in case of improper use, negligence, lack of maintenance or accidental damage to either the filter or UVC. If the filter or UVC fails due to a manufacturing fault within this period it will be either repaired or replaced free of charge. Liability is limited to replacement of the faulty product only; no other costs will be reimbursed. The guarantee is not transferable and does not affect your statutory rights. This guarantee does not confer any rights other than those expressly set out above. This guarantee does not cover the filter foams or UVC bulb, which will need replacing when worn or every 6 months. If any parts are needed, spares are available from your retailer.
IMPORTANT
PUMP & LIGHT
This product is guaranteed against defects in material and workmanship for 2 years from date of purchase, under normal usage. This guarantee DOES NOT APPLY in case of improper us, negligence, lack of maintenance or accidental damage either to the pump or the impeller shaft. If the pump fails due to a manufacturing fault within this period it will be either repaired or replaced free of charge. Liability is limited to replacement of the faulty product only, no other costs will be reimbursed. The guarantee is not transferable and does not affect your statutory rights. This guarantee does not confer any rights other than those expressly set out above. Excludes the pump impellor & LED lamp which may require replacing annually. If any parts need replacing, spares are available from your retailer.
Clearwater Guarantee
The Clearwater guarantee will be honoured for 1 year after proof of purchase. Clearwater is guaranteed to a depth of 3’2”, so that a Secchi disk is clearly visible.
Clearwater is guaranteed provided:
- You follow all instructions as above.
- Your filter is within the performance guidelines stated.
- You consult the Pennington customer marketing department and follow any advice to correct the situation. See details below. Refunds can only be authorised by Pennington.
Consumer Advice contact details Pennington
1280 Atlanta Hwy. Madison, GA 30650
Tel: 1- 800 – 285 – 7333
www.penningtonaquagarden.com
Aquagarden products by Pennington have been exclusively designed in partnership with Interpet UK a Leading British water garden company.
Pennington, 1280 Atalanta Hwy, Madison. GA 30650
www.PenningtonAquagarden.com
Pennington Aquagarden Beautifully Simple Water Gardening with design is a registered trademark of Pennington Seed, Inc.
FAQs
What is the maximum flow rate of the Aquagarden 1054256 Inpond 5-in-1 Water Pump?
The Aquagarden 1054256 Inpond 5-in-1 Water Pump has a maximum flow rate of 369 gallons per hour.
What is the maximum pumping height of the Aquagarden 1054256 Inpond 5-in-1 Water Pump?
The Aquagarden 1054256 Inpond 5-in-1 Water Pump has a maximum pumping height of 5-3.
What is the voltage of the Aquagarden 1054256 Inpond 5-in-1 Water Pump?
The Aquagarden 1054256 Inpond 5-in-1 Water Pump operates at 120V.
What is the wattage of the pump and UV clarifier in the Aquagarden 1054256 Inpond 5-in-1 Water Pump?
The Aquagarden 1054256 Inpond 5-in-1 Water Pump has a pump wattage of 24W and a UV clarifier wattage of 9W
What is the cable length of the Aquagarden 1054256 Inpond 5-in-1 Water Pump?
The Aquagarden 1054256 Inpond 5-in-1 Water Pump has a 16 mains cable
What is the frequency of the Aquagarden 1054256 Inpond 5-in-1 Water Pump?
The Aquagarden 1054256 Inpond 5-in-1 Water Pump operates at 60Hz
What is the purpose of the UV clarifier in the Aquagarden 1054256 Inpond 5-in-1 Water Pump?
The integrated UV clarifier in the Aquagarden 1054256 Inpond 5-in-1 Water Pump guarantees clear water by killing green water and algae
What is the purpose of the LED spotlight in the Aquagarden 1054256 Inpond 5-in-1 Water Pump?
The Aquagarden 1054256 Inpond 5-in-1 Water Pump includes a low energy automatic night time LED spotlight with a pivoting feature to bring your pond to life after dark
What is the purpose of the filter in the Aquagarden 1054256 Inpond 5-in-1 Water Pump?
The filter in the Aquagarden 1054256 Inpond 5-in-1 Water Pump contains effective mechanical and biological filtration to keep your water clean and healthy.
What is the purpose of the locking handle in the Aquagarden 1054256 Inpond 5-in-1 Water Pump?
The locking handle in the Aquagarden 1054256 Inpond 5-in-1 Water Pump doubles as a carry handle for easy removal from the pond
What is the purpose of the Awesome Pond Pods included with the Aquagarden 1054256 Inpond 5-in-1 Water Pump?
The Awesome Pond Pods included with the Aquagarden 1054256 Inpond 5-in-1 Water Pump are a quick and easy 5-in-1 water treatment to tackle the most common pond problems
What is the purpose of the three interchangeable hose fittings included with the Aquagarden 1054256 Inpond 5-in-1 Water Pump?
The three interchangeable hose fittings included with the Aquagarden 1054256 Inpond 5-in-1 Water Pump allow for easy installation and connection to the pump
What is the warranty period for the Aquagarden 1054256 Inpond 5-in-1 Water Pump?
The Aquagarden 1054256 Inpond 5-in-1 Water Pump comes with a 2-year warranty
Video-Aquagarden 1054256 Inpond 5-in-1 Water Pump
Download this Manual: Aquagarden 1054256 Inpond 5-in-1 Water Pump INSTRUCTIONS Manual

